Electrical issues?

Tiny
JOSEPH HENDRICKSON
  • MEMBER
  • 1991 DODGE DAKOTA
  • 5.2L
  • V8
  • 2WD
  • AUTOMATIC
  • 108,000 MILES
I replaced the headlight switch; it had a lifetime warranty, so I've swapped it out three times trying to fix the issue with my running lights. Whenever I pull the headlight switch all the way out to turn on my headlights, headlights come on, but the running lights do not. If I am pushing the switch back in just a little bit, the headlights will go off, but the running lights will come on. When I originally replaced the switch, I had running lights and headlights working fine. When I mounted the switch back to the dash is when I lost running lights when the headlights were on. So, after swapping the switch out I left it hanging without mounting it to the dash and still headlights come on running lights do not push the switch a little, but headlights go off run lights come on. I found a truck in the salvage yard with the same headlight switch bought it, put it on my truck and I got nothing that switch. So, I put the new one back on it. I thought maybe it might be a ground issue, but I can't find any issue with the ground, and it wouldn't make sense because I am able to get running lights and headlights but not at the same time. This has me absolutely stumped.
Thursday, April 6th, 2023 AT 11:14 PM

12 Replies

Tiny
CARADIODOC
  • MECHANIC
  • 34,468 POSTS
You're describing exactly what usually happens when the original switch contacts overheated. The place to start is by inspecting the terminals in the connector and on the original switch, if you still have it. Most commonly two contacts develop pitting from repeated arcing, then the resistance causes heat to be developed. That heat causes resistance, and that promotes more overheating that migrates out to the terminals and causes them to overheat. The repair requires the new switch, and replacement of those two overheated terminals. I prefer to cut out the two terminals and the melted plastic around them, then the plug can be reconnected without them. The two wires will have become hardened for about the first four inches, and solder won't adhere to that. Cut that four inches off, splice in new pieces of the same gauge, then install a pair of universal crimp-style spade terminals, but solder them too for a better connection. Plug those two wires onto the switch individually.

This usually happens to the headlight wires, the two for the "accessory" section of the ignition switch, and to heater fan switches. They can all be repaired the same way. If you don't find those two overheated / darkened terminals, we'll start next with a couple of voltage tests. Do you have a test light or voltmeter?

Let me know what you find.
Was this
answer
helpful?
Yes
No
+2
Friday, April 7th, 2023 AT 4:34 PM
Tiny
JOSEPH HENDRICKSON
  • MEMBER
  • 6 POSTS
Nowhere in this manual can I get a wire point of reference to either the back of the relay box or for the bulkhead connector. So, I cut back the tape and separated the wires and these three wires and this little black wire what looks like to be a fusible link now whenever I pull back the tape it was already smoked, and it was just kind of laying there on top of the wires. So I bought a manual because I can't find anything online and it seems to be something specific to this model of engine this is a 91 5.2 l LA V8, the three wires go the black to the starter relay the white or light gray wire goes to the 30 amp AC clutch fan fuse, the gray goes to the AC clutch relay. Also, without a passenger side fuse compartment the two things that are mainly different on the engines is the wiring seems to be in a 1990 nothing found on a 91 this summer to this as far as the wiring diagram on the fuse box. Also, this truck does not have a crankshaft position sensor! I need to know the point of reference at least in the book or the bulkhead wire diagram for this specific truck.
Was this
answer
helpful?
Yes
No
Wednesday, April 12th, 2023 AT 12:20 PM
Tiny
CARADIODOC
  • MECHANIC
  • 34,468 POSTS
If all you're using is a Haynes manual, I can understand your frustration. They always do very little with electrical stuff. They include only what competent do-it-yourselfers might tackle. Anything you need from the factory manual, I can get online or from a paper manual at home, but I'll need a little time to format them for uploading.

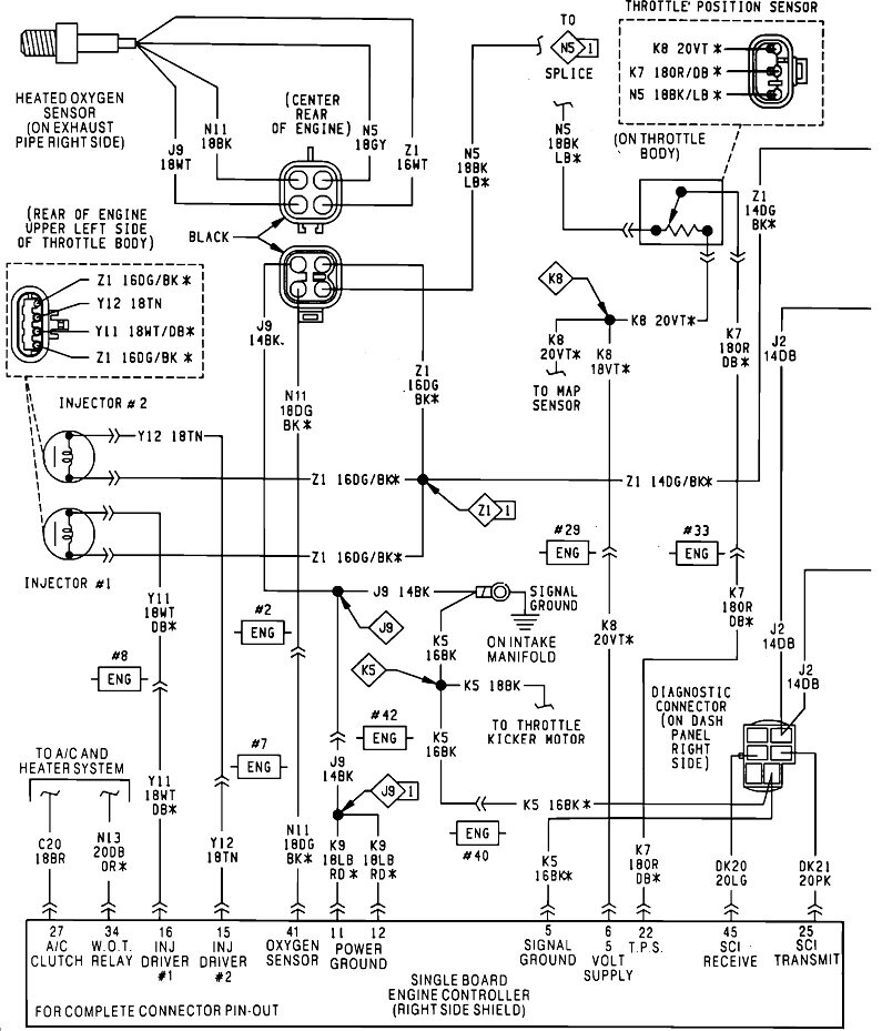
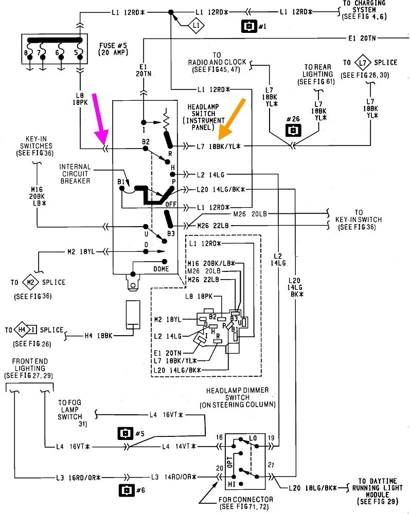
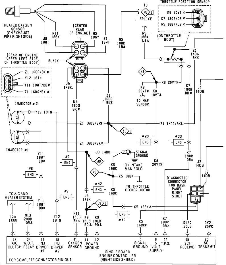
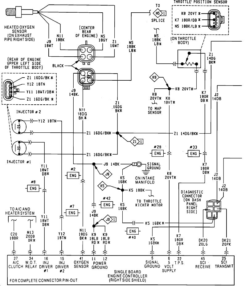
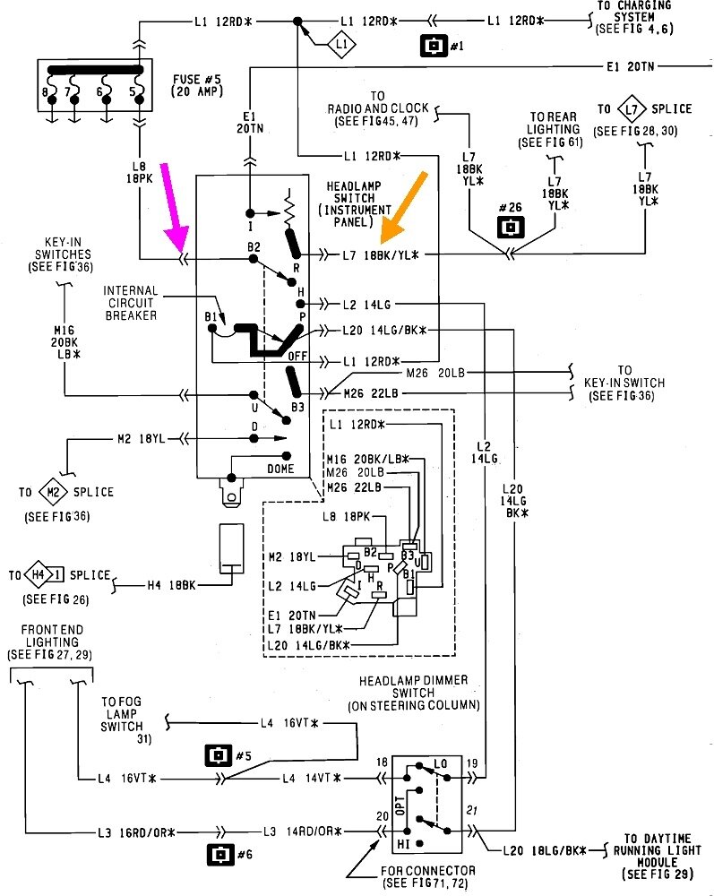
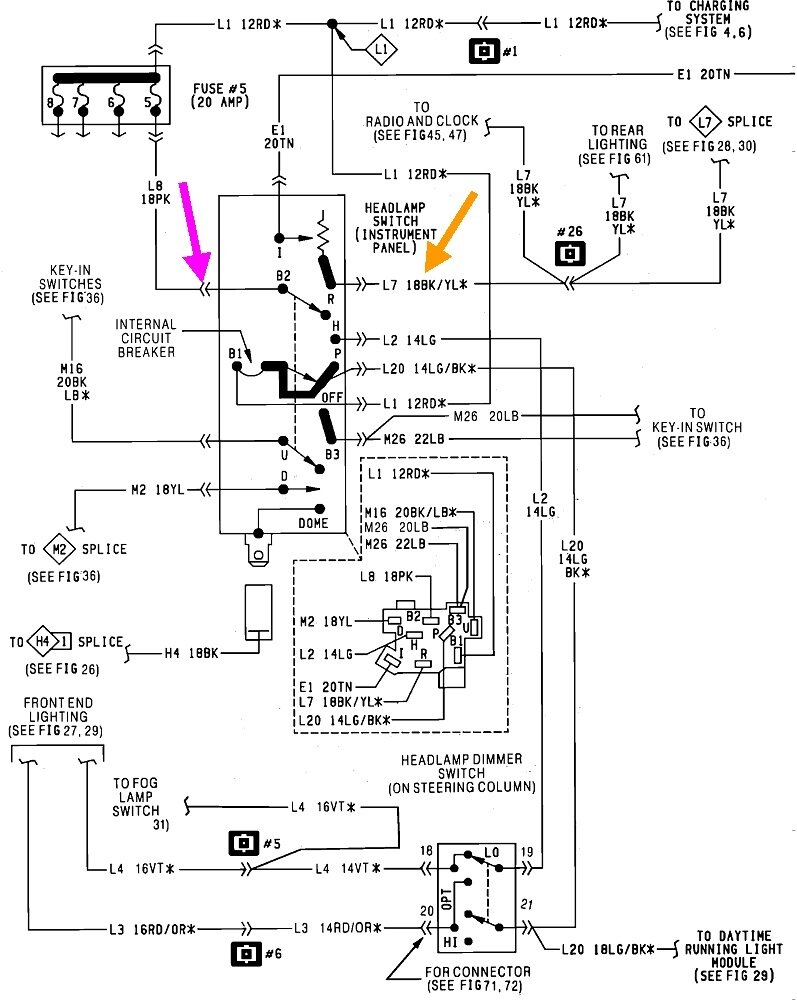
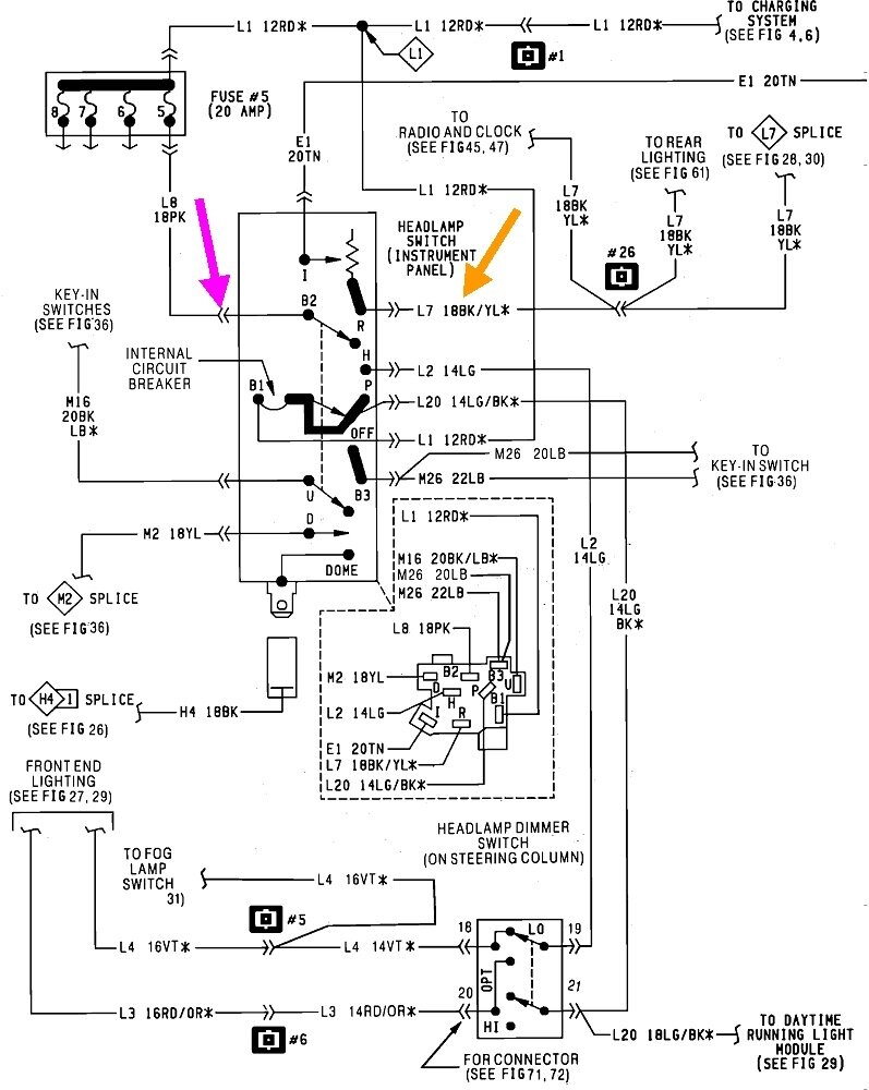
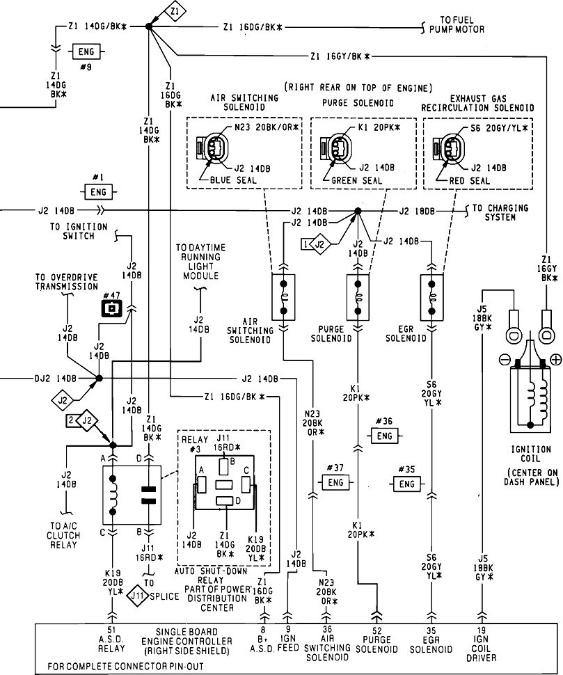
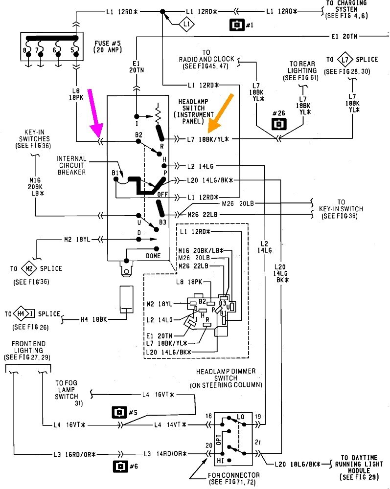
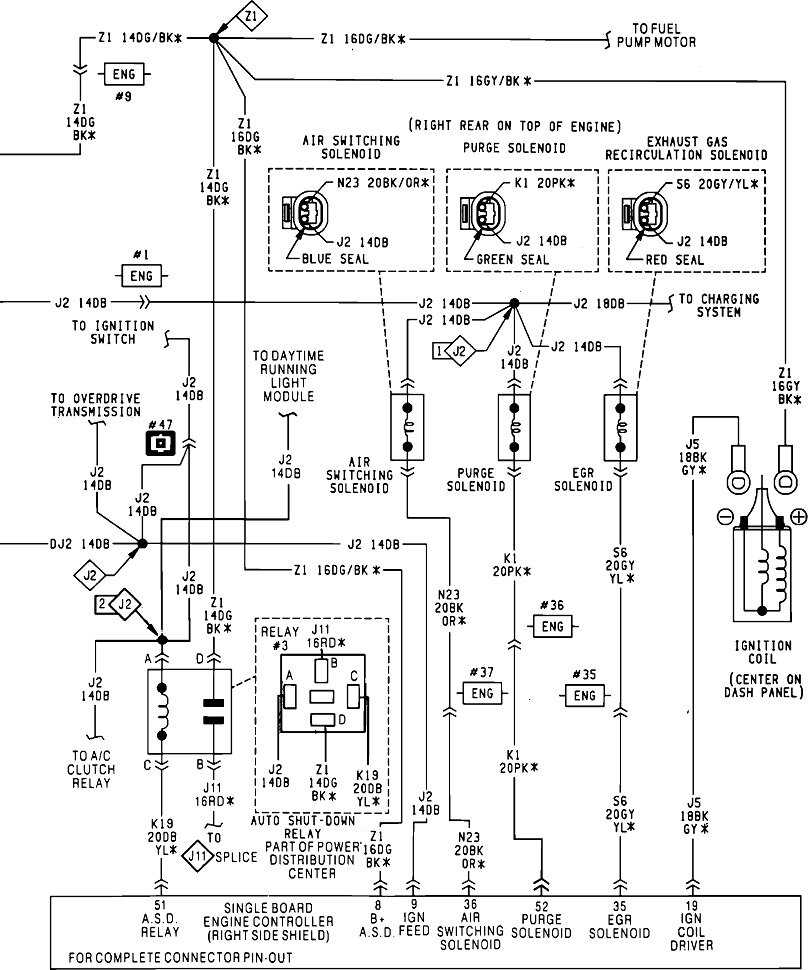
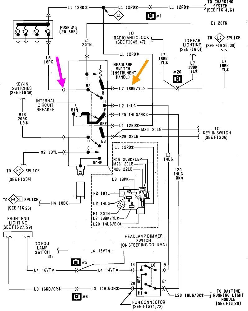
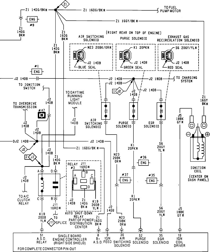
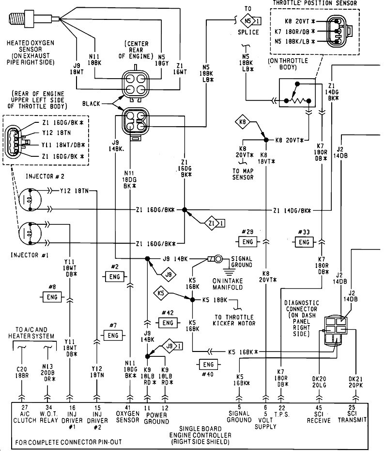
I'll start you out with these headlight diagrams. I had them saved on my 'puter from a previous question. I have them listed as being for a 5.2L.

I'm not sure what I'm seeing in your second photo. Is that a corroded splice? It also looks like it could be a bullet connector, but that wouldn't be near a fuse box.
Was this
answer
helpful?
Yes
No
+2
Wednesday, April 12th, 2023 AT 2:10 PM
Tiny
CARADIODOC
  • MECHANIC
  • 34,468 POSTS
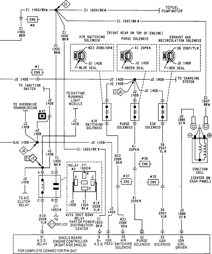
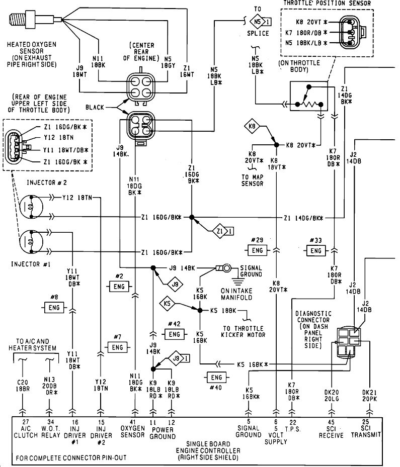
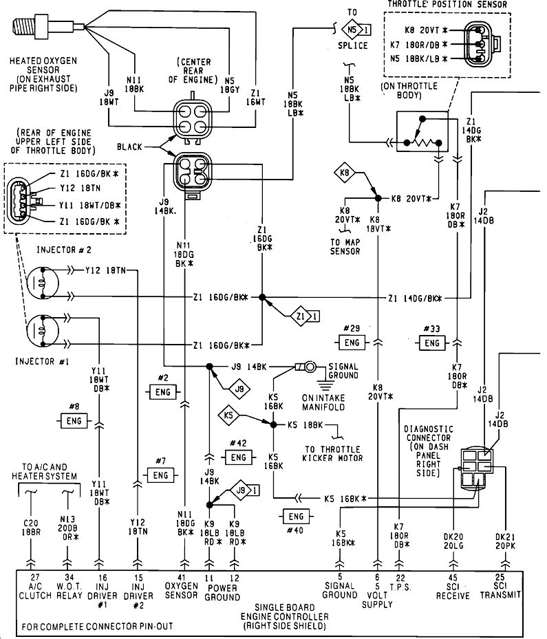
The only ignition timing sensor shown in the manual is the disc under the rotor in the distributor. They call it the "crankshaft position sensor" in some places, but normally that one is referred to as the "camshaft position sensor. Rock Auto shows a crank sensor for a '90 and a '91 model 5.2L. If your truck has that, it will be in the top of the transmission's bell housing, right behind the right cylinder head. If you have that one, I'll look at newer diagrams to find the right one. Another way to tell, if you have a scanner, is to view live Engine Sensor data. The crank and / or cam sensor will be listed with some type of indication as to whether their signals are showing up. I have a Chrysler DRB2 and a DRB3 for all of my older vehicles. Those list each sensor with a "No" when the ignition switch is in "run". They will switch to "Present" during cranking and when the engine is running. If either sensor is not on your truck, they won't be listed on the scanner.

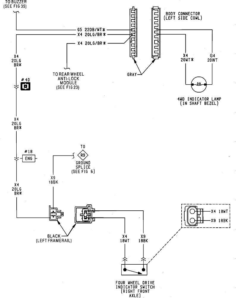
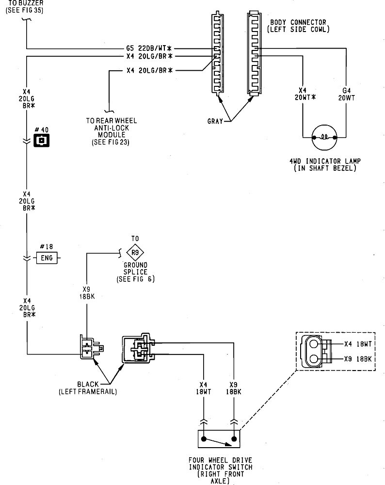
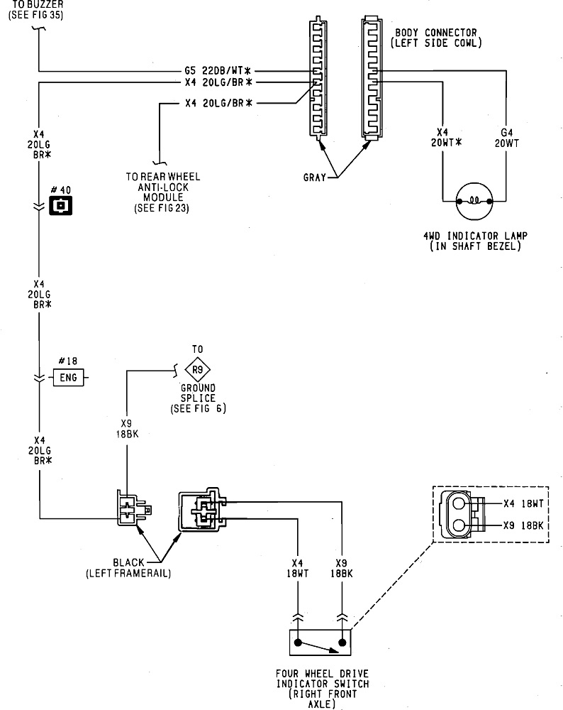
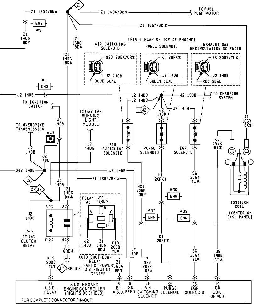
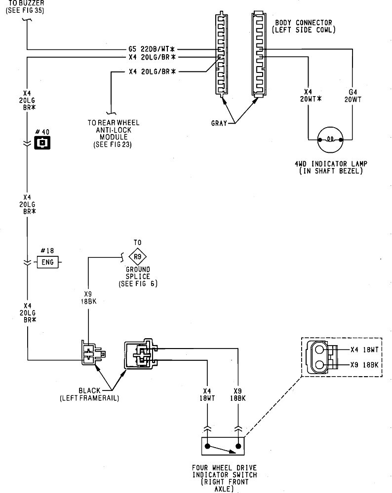
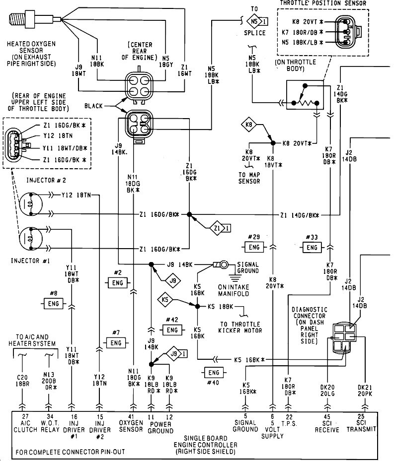
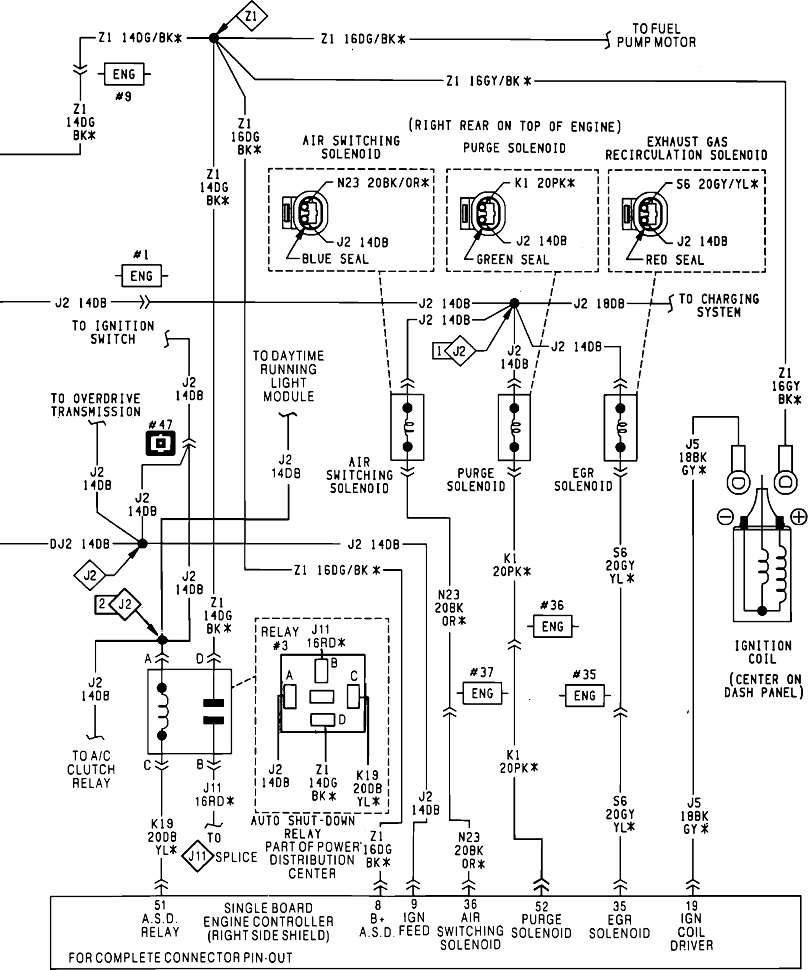
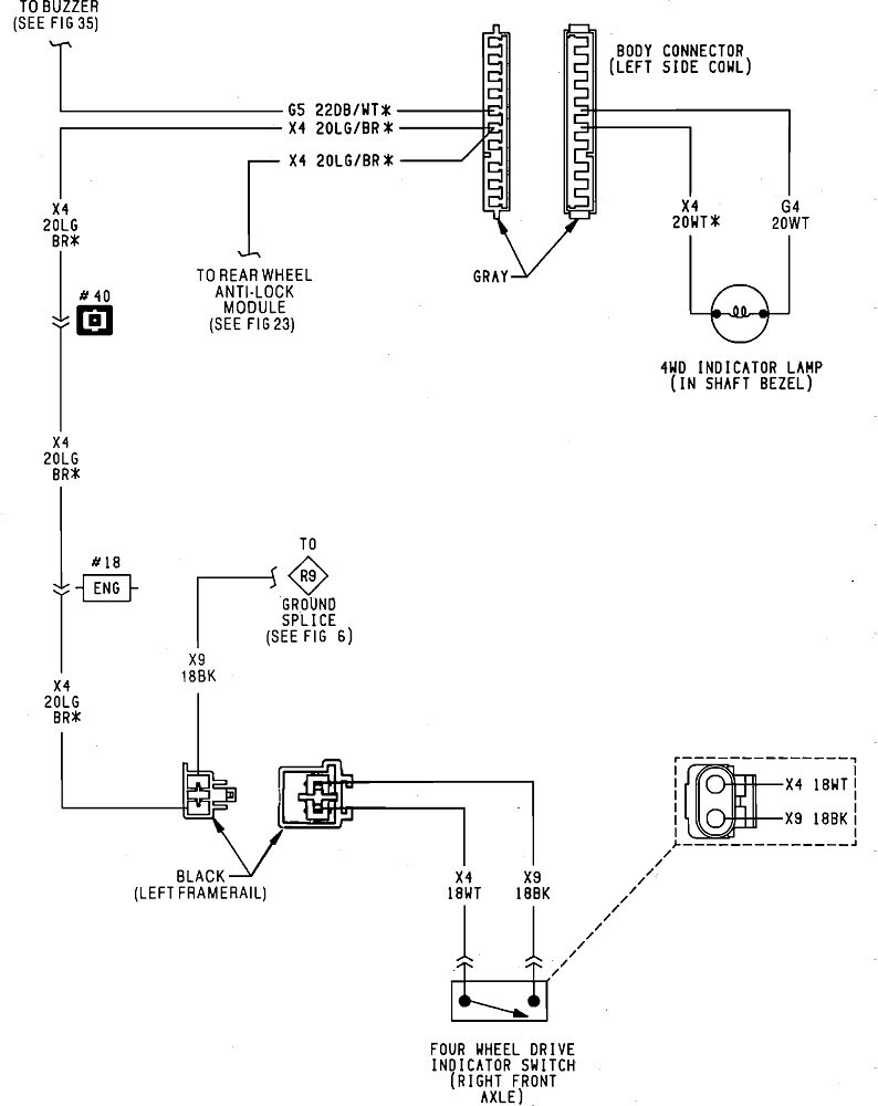
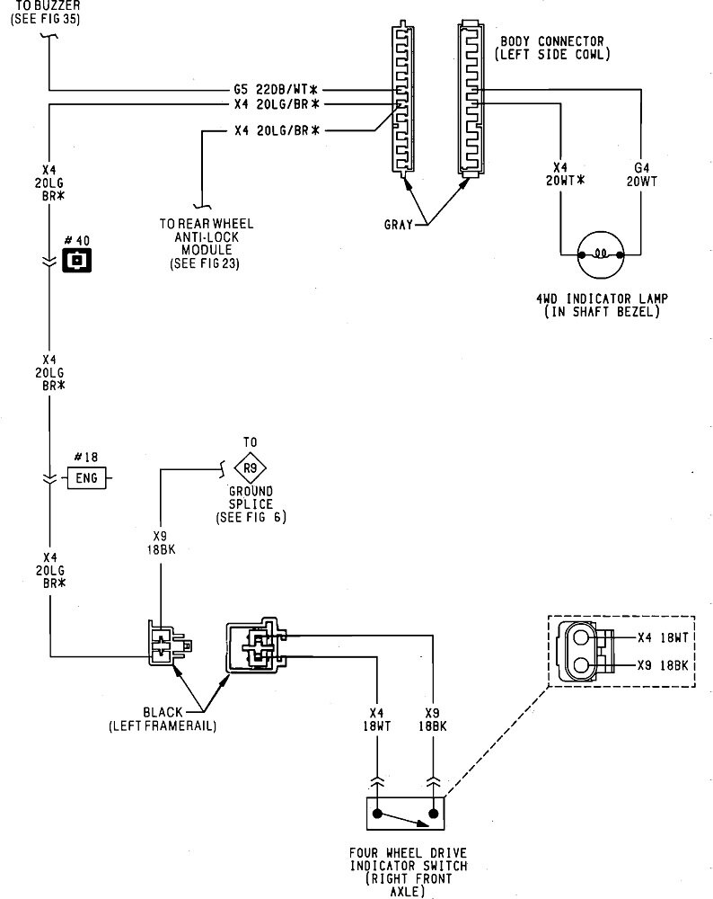
Here are the four diagrams for "Powertrain Management" in case you need them. The next three are for the Power Distribution Center, (PDC). That's the under-hood fuse box. The last two are for what they call the "Junction Box" now. That's the fuse box inside the cab.
Was this
answer
helpful?
Yes
No
Wednesday, April 12th, 2023 AT 2:52 PM
Tiny
CARADIODOC
  • MECHANIC
  • 34,468 POSTS
You mentioned the bulkhead connector. Here's the under-hood view, the dash view, and they had the engine connector listed, so I got that one too.

Let me know how far this gets you.
Was this
answer
helpful?
Yes
No
+1
Wednesday, April 12th, 2023 AT 3:02 PM
Tiny
JOSEPH HENDRICKSON
  • MEMBER
  • 6 POSTS
How far it got me! Does all the way sound good? Talk about a lifesaver son, rewired a quarter of the truck maybe about ordered a new computer fixed everything wrong that I can see is wrong and she started up fine, I got headlights and taillights at the same time! Absolutely cannot thank you enough!
Was this
answer
helpful?
Yes
No
Friday, April 14th, 2023 AT 7:37 PM
Tiny
CARADIODOC
  • MECHANIC
  • 34,468 POSTS
Very happy to hear that. Unfortunately, the information is somewhat sparse in our online service literature, but I have a real lot of Chrysler's paper service manuals from the '90s at home. I can usually find anything else you might need. Just let me now.
Was this
answer
helpful?
Yes
No
Friday, April 14th, 2023 AT 7:43 PM
Tiny
JOSEPH HENDRICKSON
  • MEMBER
  • 6 POSTS
Will do! And thanks again!
Was this
answer
helpful?
Yes
No
Friday, April 14th, 2023 AT 7:44 PM
Tiny
JOSEPH HENDRICKSON
  • MEMBER
  • 6 POSTS
What I want to know is how do you get the wiring diagram that's so specific to this vehicle because I only downloaded a Dakota repair manual for I think 91 through 97 I think and every one of them that they had in there as far as the bulkhead connector and the headlight switch I couldn't get a point of reference to save my life nothing was the same only through your screenshots are your pictures of the bulkhead connector and the diagram was I able to pull this off if it wasn't for that I really had nothing I mean I have the manual that I downloaded coming from Amazon it's supposed to be here tomorrow morning but like I said I couldn't find it with that manual because I downloaded over 1400 pages of that manual.
Was this
answer
helpful?
Yes
No
Friday, April 14th, 2023 AT 7:46 PM
Tiny
JOSEPH HENDRICKSON
  • MEMBER
  • 6 POSTS
I apologize if it's hard to understand my last message, I talk text everything and I just lit me a doobie in celebration! About an hour ago is when I finally put the battery back on it and started it up! Finding parts on this was another big challenge like the ABS rear pump I can't get that part to save my life, so I tore it apart, cleaned everything, put it back together and it works great. First time I ever did drum brakes, and I didn't take good enough pictures of the springs beforehand and it bit me in the ass. I pulled this truck out of the grave! By the end of the summer, I'm going to have this thing mint. It's been a fun learning experience. Only thing I really hate it's not four-wheel drive and God willing I should be with my son in Michigan by the end of the year and that snow is going to be a real pain with no four-wheel drive!
Was this
answer
helpful?
Yes
No
Friday, April 14th, 2023 AT 7:52 PM
Tiny
CARADIODOC
  • MECHANIC
  • 34,468 POSTS
You're forcing me to tax my memory now. I worked at the Chrysler dealership from late '89 through mid '99. At that time all we had were the paper manuals. With ten mechanics in the shop, and roughly 300 manuals on the shelves, it was very unlikely two people would ever need the same book at the same time. You could carry them to the car too. Later they went to everything online, but just one computer that everyone had to wait their turn on. They also went through reams of paper every week since you couldn't tear the monitor off the wall and carry it to the car. You were expected to print everything you might need, use it, throw it away, then print it again the next time. Their district rep told us to keep everything we printed so we'd have it right at hand next time. My reply was "that's what they used to do for us. It was called a book".

Here today we use "AllData". That's an online service that shops pay over $1000, 00 / year to rent. That gets them access for one year. You can buy a subscription for just your one vehicle for, as I recall, $27.00 for a year or around $48.00 for five years. They used to have Chrysler's diagrams copied right out of the service manuals, but those went away too in later years. They also offer their own version of diagrams that do have some advantages, but once you become familiar with reading those from Chrysler, I really really prefer them.

Around the mid 2000s, Chrysler started making their service information available on DVD. I only used one once at a friend's shop, and it was horrible. There were well over 1,100 pages, it took forever to scroll through them, and you still needed paper and pencil to write down all the page numbers that you had to constantly switch between. With paper, I can write notes, put in bookmarks, and look at multiple pages at once. If you have a choice, my preference is to find the exact manual on eBay. There used to be a seller by the name of LorieandJeff who go to dealer auctions all over the country, then resell their special tools and manuals. I bought over 50 Ford Electrical manuals from them for my school. Later they changed their name to "Blackhatauctions". I met one of their buyers many years ago in Escanaba, MI at a Ford dealer auction.

When these manuals were new in the '90s, they cost $93.00, but when the model was five years old, the price dropped to $53.00. That got you one, two, and sometimes three books. There are also dozens of smaller books for diagnosing things like ABS, Air Bags, and Engine Performance. They provide wire by wire tests with pictures to show each wire in its connector, and what to expect for voltages and resistances. Many of the tests are written around their DRB2 scanner, but you can usually work around that with a volt / ohm meter. You can find those scanners on Ebay too. They work on up to '95 models, but they require a plug-in cartridge. I can go into more detail on that if necessary. The easiest is to look for a cartridge with a yellow label to match the color of the '94 service manual covers. '95 models use the same '94 cartridge. That one cartridge covers everything all the previous individual cartridges were needed for. I have one of those scanners. I also have their newer DRB3. Those work directly on '96 and newer, or '98 and newer models, depending on the year the scanner was built, but with extra plug-in cartridges, it will work all the way back to '83 models. That DRB3 went obsolete on 2004 Dakotas and Durangos. The last year it worked on was some 2008 Jeep models.

There's one thing you absolutely must have the DRB2 for. That's Dakota anti-lock brakes. I don't think those showed up until a few years later, but if you have that, the diagnostic fault code can not be erased with any aftermarket scanner I'm aware of, or by disconnecting a battery cable.

When you look at DRB2 scanners for sale, there are two different cables for it. The plug on
the Engine cable looks like a square with a notch cut out of one corner. A different six-pin smaller plug / cable is used for everything else. The engine connector is under the hood, usually toward the windshield. The smaller one is under the dash or center console and is blue.

If you've never used a scanner before, you're in for a treat. That's another story I can expand on if it comes to that.
Was this
answer
helpful?
Yes
No
Friday, April 14th, 2023 AT 8:53 PM
Tiny
CARADIODOC
  • MECHANIC
  • 34,468 POSTS
I just got interrupted by someone with car trouble, so our replies are overlapping.

I bought a 2014 Caravan last summer, and I put it on the road today for the first time. I've been running around in a 4wd Ram for the last four years. That was real fun not having to worry about getting stuck in the country. Before that I had an '88 Grand Caravan that never ever got stuck, then a '94 model that was also pretty good. Funny thing is my mother had an identical '95 Grand Caravan that was always stuck if there was a single snowflake in any part of the county.

You should have rear-wheel-anti-lock brakes. That system is pretty basic but it works well. If you have a four-wheel system, there will be a wire on the back of each front brake for the wheel speed sensor. I can help with that system too. For your drum brakes, the biggest mistake people make is hanging the shoes in the wrong places. The shoe with the shorter lining always goes toward the front of the truck, the longer lining to the rear. When you work on a system you're not familiar with, take just one side apart at a time, then you can look at the other side for reference.

It's a good idea to replace the springs too. They get weak from heat and affect how well the shoes retract. All of the hardware is available in a package at any auto parts store. For your truck, there were 9" or 10" rear brakes. They'll want to know which you have to get the right kit. The paint color on the springs denotes their strength.
Was this
answer
helpful?
Yes
No
Friday, April 14th, 2023 AT 9:10 PM

Please login or register to post a reply.