Cranks no start

Tiny
DEANNA CUPPETT
  • MEMBER
  • 1999 CHEVROLET SUBURBAN
  • 5.7L
  • V8
  • 2WD
  • AUTOMATIC
  • 219,000 MILES
Checked everything in the books. Pump working all fuses etc. Checked security even if not applied. Starts with starter fluid then shuts off. Fuel getting to rail and pressure checked. Cranks but will not start. Any ideas?
Friday, May 18th, 2018 AT 2:01 PM

1 Reply

Tiny
JACOBANDNICKOLAS
  • MECHANIC
  • 110,192 POSTS
Hi and thanks for using 2CarPros.com. If you have the correct pressure to the fuel rail and the car only starts with starting fluid, the injectors are not working. Here are general directions for checking fuel injectors:

https://www.2carpros.com/articles/how-to-test-a-fuel-injector

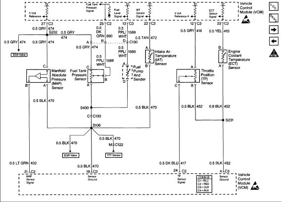
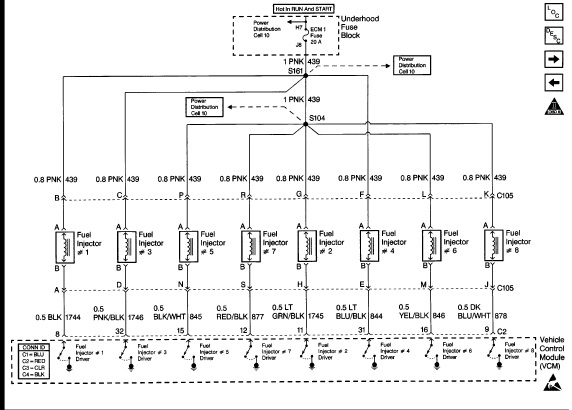
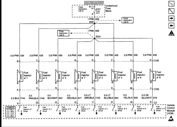
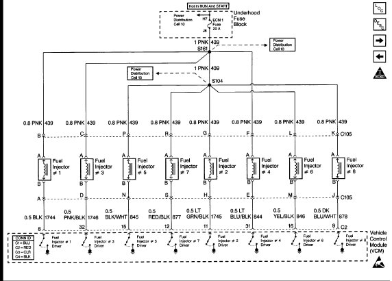
If you find there is no power to the injectors, I have attached wiring schematics for you to follow and hopefully find where power is lost.

I will tell you, there was a recall on the injection system for the injectors sticking closed and causing a misfire. If enough are affected, the engine will not start. Here is a copy of the recall:

ODELS:
CERTAIN 1996, 1997, 1998, 1999, 2000, 2001, 2002 S/T, M/L, C/K, G,
P, W4/NPR TRUCKS AND 2003 NPR TRUCKS EQUIPPED WITH 4.3L
(RPO L35 - VIN CODE W OR RPO LF6 - VIN CODE X), 5.0L (RPO L30
- VIN CODE M) OR 5.7L (RPO L31 - VIN CODE R) ENGINE AND
CALIFORNIA EMISSION EQUIPPED (RPO YF5)
This bulletin is being revised to add the 2002 and 2003 model years to the SCPI Special Policy on certain S/T, M/L, C/K, G, P and W4/NPR truck models. Please discard Special Policy Bulletin Number 99066E, dated February, 2003.

CONDITION

Some customers of 1996, 1997, 1998, 1999, 2000, 2001, 2002 model year S/T, M/L, C/K, G, P, W4/NPR trucks and 2003 NPR trucks, that are registered in California, equipped with 4.3L (RPO L35 and VIN Code W, or RPO LF6 and VIN Code X), 5.0L (RPO L30 and VIN Code M) or 5.7L (RPO L31 and VIN Code R) engine, and California emissions (RPO YF5), may experience a "Service Engine Soon" light, misfire, rough idle or hard start due to a deposit build-up on the Sequential Central Port Fuel Injector (SCPI) poppet valve(s). The deposit build-up may cause injector poppets to stick closed. Certain fuels have been found to interact with the SCPI system to cause the deposits.

SPECIAL POLICY ADJUSTMENT

This special policy covers the SCPI failure condition described above for a period of ten (10) years or 200,000 miles, whichever occurs first, from the date the vehicle was originally placed in service, regardless of ownership.

The repairs will be made at no charge to the owner. This special policy applies ONLY to repairs requiring SCPI system servicing, injector cleaning and/or MFI assembly replacement of the SCPI system. The customer should not be charged for performing a system check when it is determined that the SCPI system is not the cause of a customer complaint (labor operation T5532 is provided to submit claims for such system checks). Any additional necessary diagnosis and repairs that are not related to the SCPI condition are not covered by this special policy. The customer should be informed that any further service that is not covered by new vehicle warranty will not be covered by this policy.

VEHICLES INVOLVED

Involved are certain 1996,1997,1998,1999, 2000, 2001, 2002 S/T, M/L, C/K, G, P, W4/NPR and 2003 NPR model vehicles, registered in California, equipped with 4.3L (RPO L35 - VIN Code W, or RPO LF6 - VIN Code X), 5.0L (RPO L30 - VIN Code M) or 5.7L (RPO L31 - VIN Code R) engine; and California emissions (RPO YF5). This Special Policy covers all vehicles within these model years, with these engine and emissions RPO's.

The third picture below is a list of the parts required for the recall.

If you find there is power to the injectors and the recall was never completed on this vehicle (A GM dealer will know based on the vehicle identification number (VIN), you should have it done.

I hope this is helpful. Let me know if you have other questions.

Take care,
Joe
Was this
answer
helpful?
Yes
No
Friday, May 18th, 2018 AT 9:53 PM

Please login or register to post a reply.