Cooling fans not running and over heating

Tiny
DPDANCER1
  • MEMBER
  • 2005 CHRYSLER SEBRING
  • 92,122 MILES
I replaced the thermostat and not realized the cooling fans are not running. The heater core is out and is leaking into my passenger floor board also. Thinking about it being the sensors or relay. Should I run it directly to the electrical lines? I don't want it jus rigged up! It over heats very easily and quickly.
Thursday, July 4th, 2013 AT 2:00 AM

25 Replies

Tiny
WRENCHTECH
  • MECHANIC
  • 20,761 POSTS
Hello,

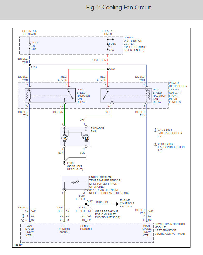
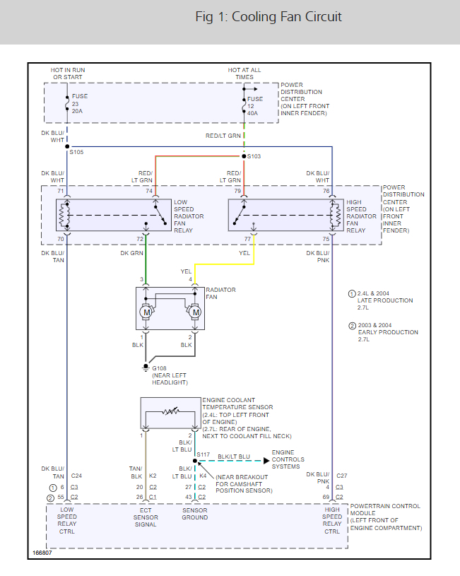
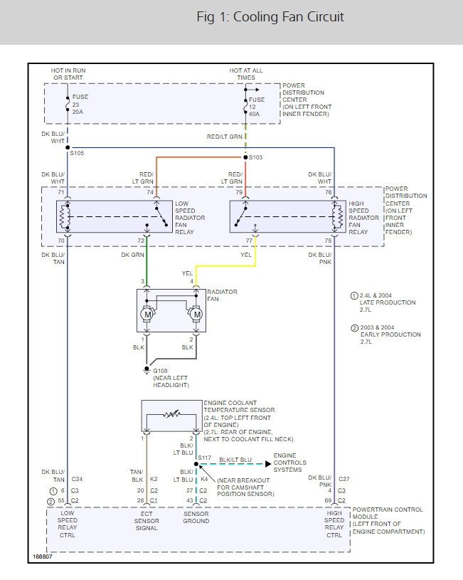
It sounds like you have a relay or fan motor out but to be sure here are diagrams and guides to help us figure out the problem. Please check the diagrams below.

https://www.2carpros.com/articles/how-to-check-an-electrical-relay-and-wiring-control-circuit

and

https://www.2carpros.com/articles/how-to-check-a-car-fuse

and

https://www.2carpros.com/articles/replace-electric-fan-motor

Check out the diagrams (Below). Please let us know what you find. We are interested to see what it is.
Was this
answer
helpful?
Yes
No
-1
Thursday, July 4th, 2013 AT 8:46 AM
Tiny
SAM.SMALL
  • MEMBER
  • 2 POSTS
Thank you for this post I had this problem and had to replace the low fan relay cost me $34.00 all fixed I love this site.
Was this
answer
helpful?
Yes
No
Monday, November 18th, 2019 AT 12:37 PM
Tiny
JBZIP64J
  • MEMBER
  • 6 POSTS
  • 2004 CHRYSLER SEBRING
  • 6 CYL
  • FWD
  • AUTOMATIC
  • 138,000 MILES
Just replaced the water pump on my 2004 Sebring 2.7L. Was a very time consuming project. After changing the oil and purging the cooling system, I started it, let the tentioner pressurize and the cooling fans cycled 4 times and never cycled again. Car overheated badly. Disconnected the wire harness coming from the cooling sensor on top of the block(were the upper rad hose connects) and the fans come on and stay on full time. Check engine light comes on when I do that. Plug that same wire harness back in and keep the AC running and the fans cycle every 15 secs or so. Everything is fine. Turn AC off with harness connected, and no fan movement. Any help?
Was this
answer
helpful?
Yes
No
+1
Monday, November 18th, 2019 AT 12:38 PM (Merged)
Tiny
JDL
  • MECHANIC
  • 16,098 POSTS
Sorry for the late reply. Hope you got it fixed by now. Any applicable trouble codes? You might check the circuits at the fan relay?
Was this
answer
helpful?
Yes
No
Monday, November 18th, 2019 AT 12:38 PM (Merged)
Tiny
CHARLES A
  • MEMBER
  • 1 POST
  • 2004 CHRYSLER SEBRING
  • FWD
  • AUTOMATIC
  • 92,000 MILES
The car idles until the thermostat opens then It starts leaking water close to the Temperature sensor. Is there gasket that is leaking or blown out The engine cooling fan does not come on. The fan runs[jumb across the relay] There are two relays one for air and one for the cooling fan.I swapped the two relays -didn t help'
Was this
answer
helpful?
Yes
No
Monday, November 18th, 2019 AT 12:38 PM (Merged)
Tiny
WRENCHTECH
  • MECHANIC
  • 20,761 POSTS
Don't worry about the cooling fan. That comes on at a much higher temp than the thermostat opening.
You need to pressure test your cooling system to locate the leak and then repair it.
Was this
answer
helpful?
Yes
No
Monday, November 18th, 2019 AT 12:38 PM (Merged)
Tiny
JMM042789
  • MEMBER
  • 10 POSTS
  • 2005 CHRYSLER SEBRING
  • 150,000 MILES
I have a 2005 crysler sebring and the cooling fan assembly needs replaced. Do you know if a 2005 pontiac grand am cooling fan assembly will work for it? I really dont have the money to buy a new one the mechnic said they would be 200 dollars. What all year model sebrings have this cooling fan assembly?
Was this
answer
helpful?
Yes
No
Monday, November 18th, 2019 AT 12:39 PM (Merged)
Tiny
FREEMBA
  • MECHANIC
  • 1,152 POSTS
Check your local salvage yards (especially if you have one where you have to take off the part yourself--they are cheaper than the others). Check their prices.

In answering the questiona about the Grand Am fan, its a matter of having to rig up a lot of stuff in order to get it to mount where the fan now mounts on your car. Then you'd have to get a Grand Am fan plug/connector from a junk vehicle [leaving about six inches of wire on the plug] and then splice it into the factory wires for the Sebring. Getting one from the salavge yard is the easiest.
Was this
answer
helpful?
Yes
No
Monday, November 18th, 2019 AT 12:39 PM (Merged)
Tiny
RICK810
  • MEMBER
  • 1 POST
  • 2002 CHRYSLER SEBRING
  • 4 CYL
  • FWD
  • AUTOMATIC
  • 49,367 MILES
The cooling fan don't turn on and motor will start to over heat. Checked relay and the a/c stop working 2, days before that.
Was this
answer
helpful?
Yes
No
Monday, November 18th, 2019 AT 12:39 PM (Merged)
Tiny
PATRICK MENDIS
  • MEMBER
  • 3 POSTS
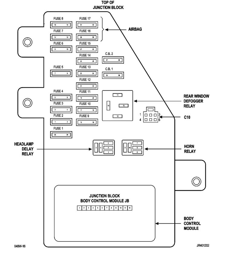
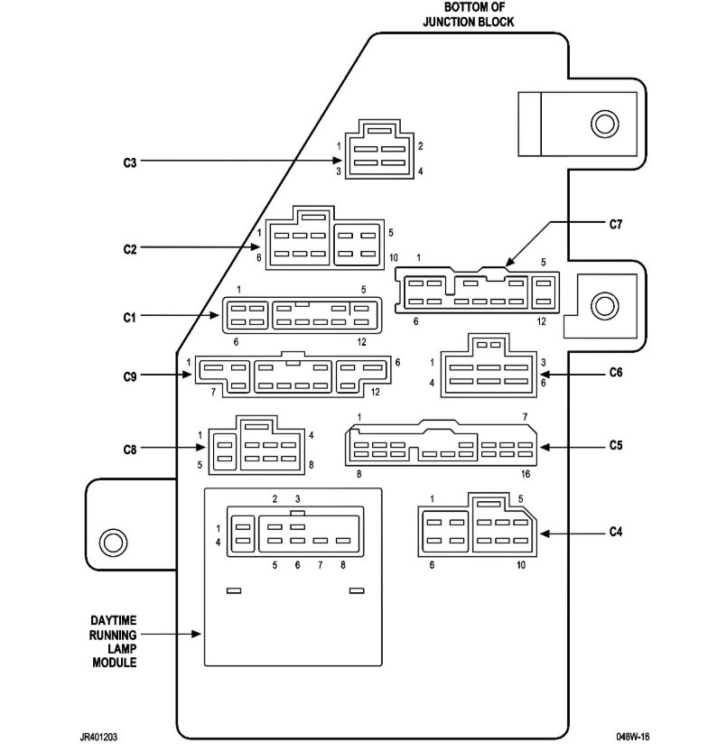
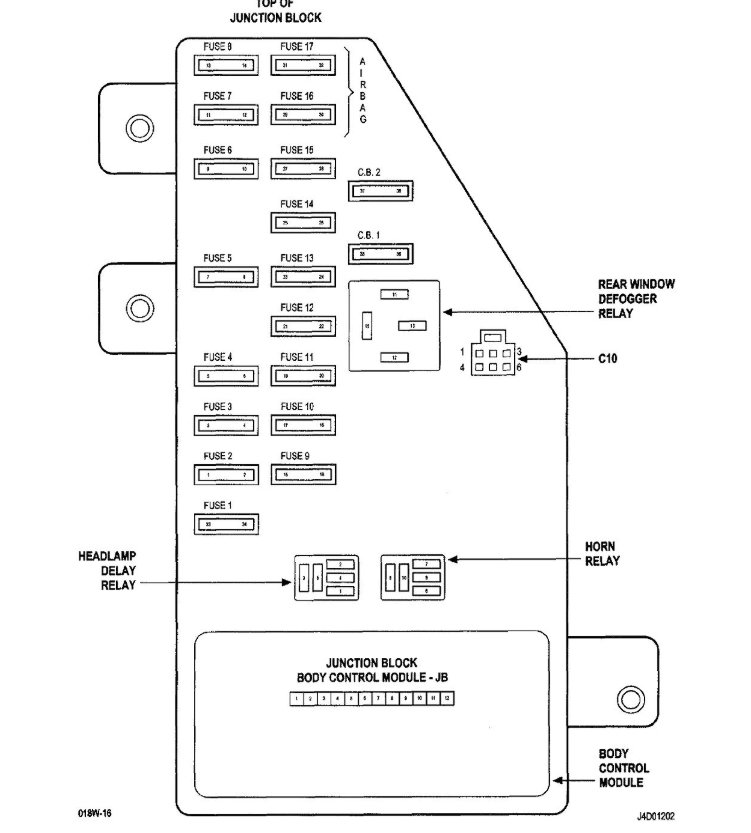
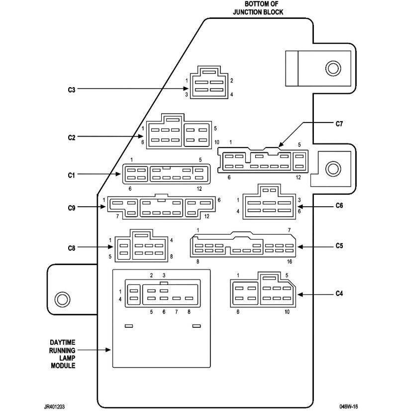
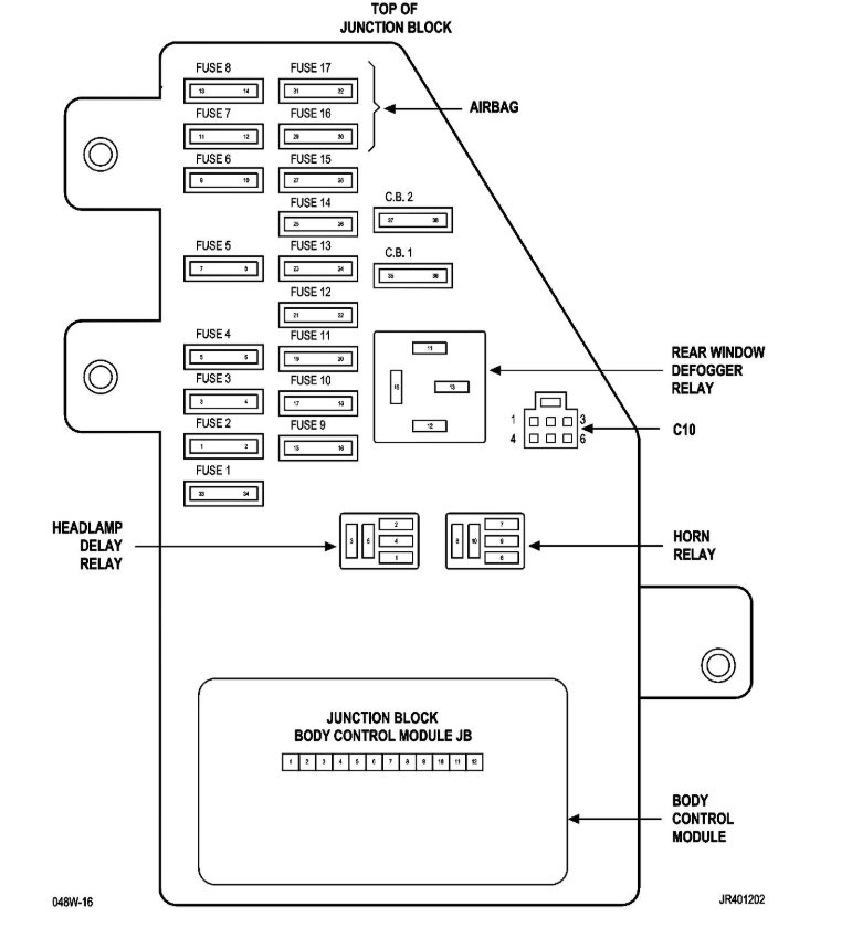
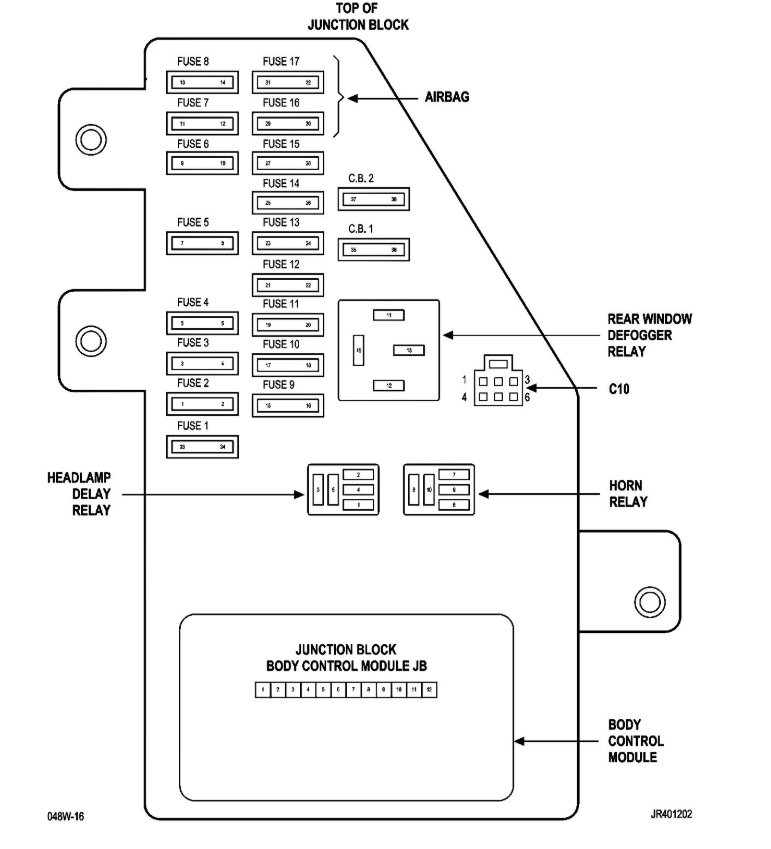
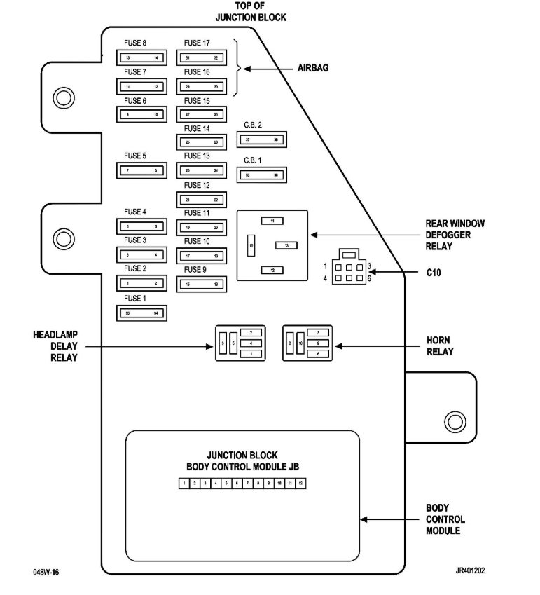
Check the Rad Fan Fuse. Its a 40 Amp Fuse in the fuse box. Fuse Box Cover shows the Name and Location of the Fuse. The Fuse Box is located in the engine compartment on the driver side.
Was this
answer
helpful?
Yes
No
Monday, November 18th, 2019 AT 12:39 PM (Merged)
Tiny
MATTYBAKER
  • MEMBER
  • 1 POST
  • 2001 CHRYSLER SEBRING
  • 6 CYL
  • FWD
  • AUTOMATIC
  • 198,000 MILES
Hey guys, My car has been having ongoing problems with the cooling system. Last winter the heat stopped working altogether and I noticed that my in-dash temp control circuit board had some loose connections. I had a friend re-solder them. My heat started working again, only it would just start to work when my speed got over 80km/hr. As I slowed down, so did the heat. It is now summer where I am and my car has over-heated twice now. The problem it seems is in the radiator fan. I have replaced the 40amp fuse that powers the rad fan and it began to work for a couple of days. I had A/C working and the temp guage read normal for two days and then the fuse blew (I replaced it again and both the high and low rad fan relays). It seems like there is a power surge that keeps blowing the new fuses I put in. My question is could the re-soldering in the temp control cause such a power surge, requiring a new in-dash temp control panel or could it be something else like the rad fan motor that is causing the surge?
Was this
answer
helpful?
Yes
No
Monday, November 18th, 2019 AT 12:39 PM (Merged)
Tiny
PATRICK MENDIS
  • MEMBER
  • 3 POSTS
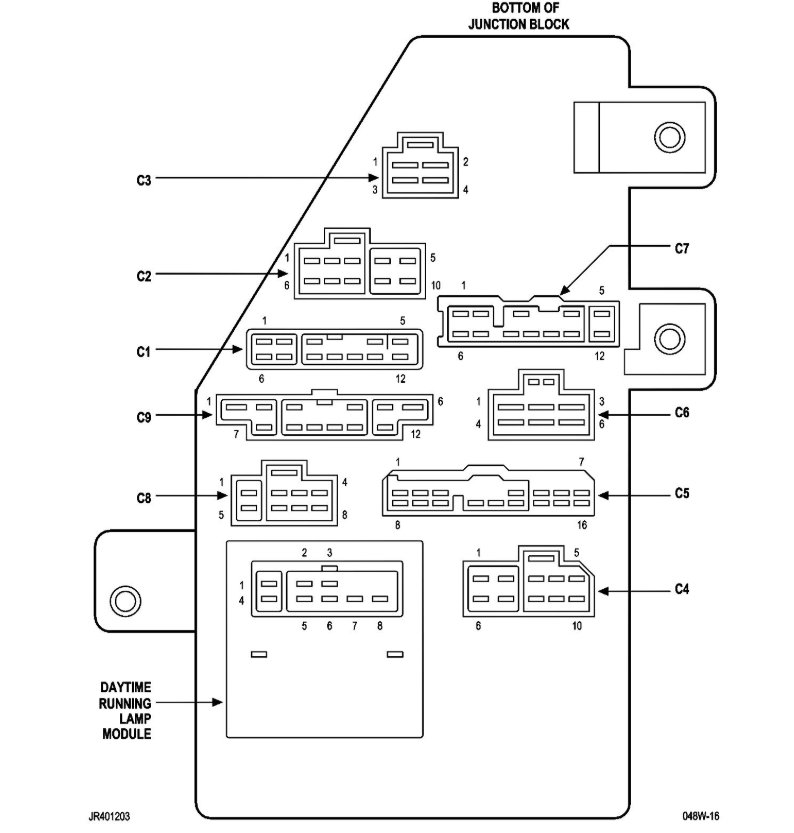
Try to rotate the Rad Fans by hand. I had the same problem. I found my high Speed fan was sticking. It did not rotate freely. Here are the fan fuse and relay locations. Check out the diagrams (Below). Please let us know if you need anything else to get the problem fixed.
Was this
answer
helpful?
Yes
No
Monday, November 18th, 2019 AT 12:39 PM (Merged)
Tiny
SHANTIGEARY30
  • MEMBER
  • 10 POSTS
  • 2001 CHRYSLER SEBRING
Engine Cooling problem 6 cyl Two Wheel Drive Automatic 86,000 miles

I have a 2001 sebring LXI 3.0L V6 Coupe, my cooling fans work when I turn compressor on and engine is fine I can hear the high speed fan kick in and all is good. When the fans are off and the motor reaches operating temperature the fans wont kick in, and the gauge starts to rise. I have changed the relay, thermostat and temperature sensor. And nothing seems to solve this problem. There is a sensor by the front of the radiator that is closed ended. I don't know what it is but it just sits there. Did I mention its a Mitsubishi motor. I hope some one out there knows this motor and can help its only in 17% of cars.

The two sensors are different size, the temperature sensor is the froward sensor and the small one behind it is the gauge sensor which is on the motor not the dash. If the gauge sensor was bad would it be reading anything at all? Would that affect the fan coming on at all? The temp sensor works cause when the ac/heat switch is on, the fans run and I can hear it kick in when the engine reaches op temp. But when I dont have the ac/heat running then nothing runs and the car gets hot, has not over heated yet but it goes above the op temp

Please help thank you.
Was this
answer
helpful?
Yes
No
Monday, November 18th, 2019 AT 12:39 PM (Merged)
Tiny
SHANTIGEARY30
  • MEMBER
  • 10 POSTS
The two sensors are different size, the temperature sensor is the froward sensor and the small one behind it is the gauge sensor which is on the motor not the dash. If the gauge sensor was bad would it be reading anything at all? Would that affect the fan coming on at all? The temp sensor works cause when the ac/heat switch is on, the fans run and I can hear it kick in when the engine reaches op temp. But when I dont have the ac/heat running then nothing runs and the car gets hot, has not over heated yet but it goes above the op temp
Was this
answer
helpful?
Yes
No
+1
Monday, November 18th, 2019 AT 12:39 PM (Merged)
Tiny
CARADIODOC
  • MECHANIC
  • 34,468 POSTS
It is extremely rare for the gauge's temp. Sensor to fail. If the resistance value is off a little, the gauge will just read a little high or low. Problems occur when someone installs the sensor with teflon tape around the threads to insure a good seal. Most of these sensors use a single wire. The second wire is the threaded body. Teflon tape can insulate the sensor and the gauge will stay on full cold. Another problem is bent and stretched pins in the connector.

All kinds of new problems are showing up on newer cars because instead of simple mechanical gauges, instrument clusters are unreliable computer modules that run the gauges which are just voltmeters. Information is passed through the body computer, then sent to the cluster. Since computers over-complicate the circuitry, gauges are giving a lot more problems than in the past. Nevertheless, the gauge circuitry is completely independent of the computer controls that affect engine performance.

Temp sensors for the engine computer always have two wires. Rather than using the brass threads for the ground connection, the ground wire goes back through the computer so it can monitor current flow. These sensors have caused a lot of problems on Fords, but not on other car brands. If anything causes an open circuit, such as unplugging it, the computer won't know actual engine temperature, so the it will command the radiator fan on in case the engine is overheating. On older cars, this also killed any electronic timing advance. It was common practice to unplug the sensor when setting base ignition timing with a distributor when doing a tune-up.

Under normal conditions, the engine computer turns the radiator fan relay on at 210 or 212 degrees, and off at 198 degrees. In addition, the computer will command the relay on whenever the air conditioning is turned on because of the extra heat load presented by the condenser which sits in front of the radiator. On some models, the fan runs constantly with the AC on. On some models, the compressor cycles on and off, and the fan cycles on and off at the same time. This cycling has nothing to do with engine coolant temperature. It is in anticipation of the condenser temperature.

The engine computer performs a check on the coolant temp sensor when the engine is cold. It expects the temperature to be the same as the ambient air temp sensor or the battery temp sensor. If significant disagreement is found, the computer may memorize a diagnostic fault code and turn on the "Check Engine" light. This is a pretty rare occurrence.

Hope that clarifies the fan operation. The AC and the temp sensor are two different circuits that independently affect when the radiator fan runs. Your mechanic can connect a hand-held computer that will read out the sensor values the engine computer sees. You can watch coolant temperature rise as the engine warms up. This is the sensor that affects fuel metering and emissions, but it has nothing to do with the gauge.

Caradiodoc
Was this
answer
helpful?
Yes
No
+5
Monday, November 18th, 2019 AT 12:39 PM (Merged)
Tiny
VINCE325
  • MEMBER
  • 5 POSTS
  • 2000 CHRYSLER SEBRING
  • 6 CYL
  • FWD
  • AUTOMATIC
  • 121,000 MILES
Fan works when a/c & defrost are running. Put in new temp sensor and high speed fan relay, ran up to temp and NO fan. What's next? Thanks.
Was this
answer
helpful?
Yes
No
Monday, November 18th, 2019 AT 12:39 PM (Merged)
Tiny
INTERNETMECHANIC
  • MECHANIC
  • 700 POSTS
Did you try checking for mil codes? According to MOD, you should be able to access some mil codes? You cycle the ignition switch, on--off, on--off, on. Turn turn key just till the dash lites come on, no further. The mil starts flashing, you count the flashes to get the codes. Your looking for two digit codes. The databases are not always correct,but, it won't hurt to try.

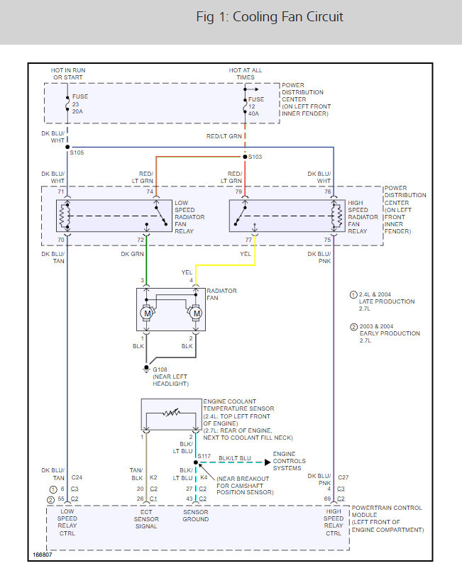
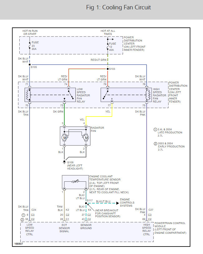
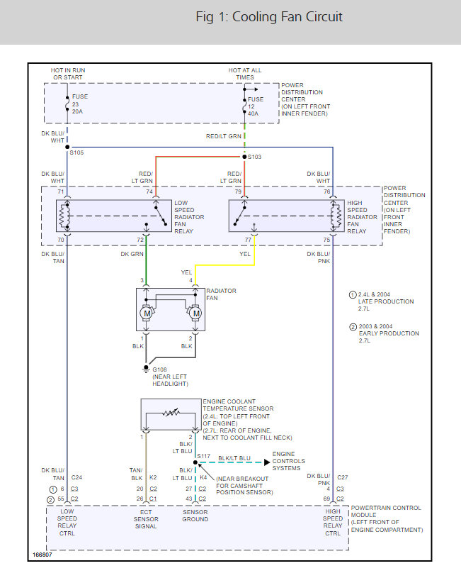
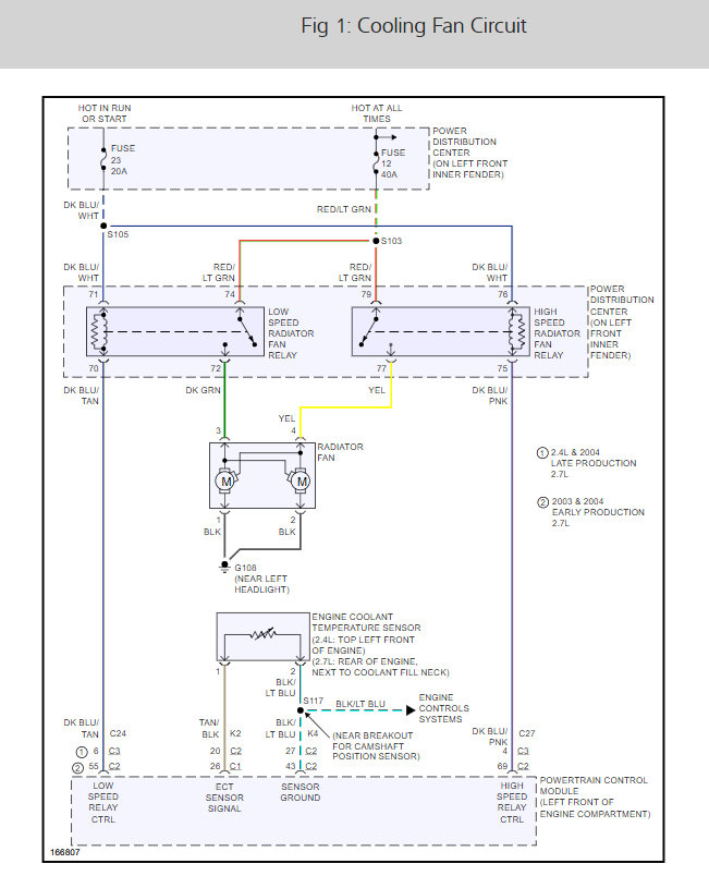
Below is diagram for low speed fan relay. The info I looked at was sebring LX. Terminal #5 is voltage for the load switch side of relay, hot all the time. Terminal #3 is voltage for the coil side of relay, goes hot when you turn on the key. Terminal #1 is ground for the coil side of relay, controlled by the pcm. When the relay is energized terminal #4 becomes hot and carries voltage to fan.


https://www.2carpros.com/forum/automotive_pictures/512072_sebring_LX_fan_1.jpg

Was this
answer
helpful?
Yes
No
Monday, November 18th, 2019 AT 12:39 PM (Merged)
Tiny
VINCE325
  • MEMBER
  • 5 POSTS
Should I have changed the LOW speed fan relay first? I only replaced high speed. Thanks for your response.
Was this
answer
helpful?
Yes
No
Monday, November 18th, 2019 AT 12:39 PM (Merged)
Tiny
INTERNETMECHANIC
  • MECHANIC
  • 700 POSTS
I wouldn't change anything without checking relay circuits. Any applicable trouble codes?
Was this
answer
helpful?
Yes
No
Monday, November 18th, 2019 AT 12:39 PM (Merged)
Tiny
VINCE325
  • MEMBER
  • 5 POSTS
I've tried the key on-off and can't get anything to flash. Is it going to show up in my dashboard set of lights?
Was this
answer
helpful?
Yes
No
Monday, November 18th, 2019 AT 12:39 PM (Merged)

Please login or register to post a reply.