Transmission removal

Tiny
ROBDZZL
  • MEMBER
  • 1997 CHEVROLET BLAZER
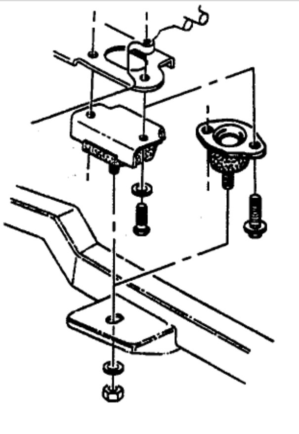
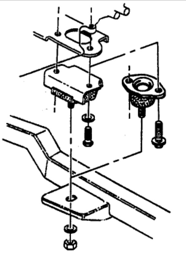
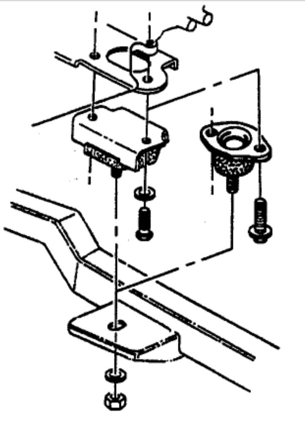
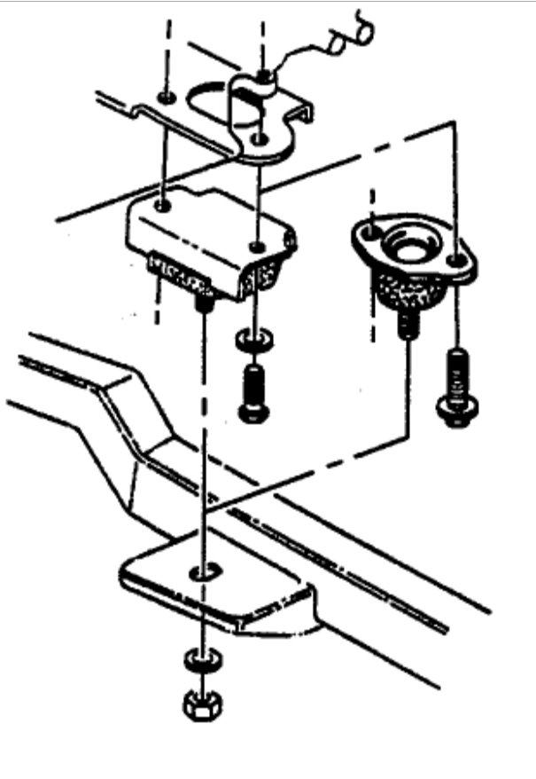
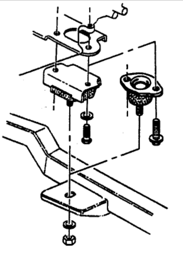
How do I get to the top two bolts on the transmission to remove it?
Wednesday, November 19th, 2008 AT 1:09 AM

1 Reply

Tiny
KEN L
  • MASTER CERTIFIED MECHANIC
  • 55,488 POSTS
Hello,

You use a long extension and go up from behind once the transmission mount is loose is here is a video of the job being done. Its a stick transmission but it shows what you what to see.

https://youtu.be/JpzefqEeVGE

Please let us know what happens.

Cheers, Ken
Was this
answer
helpful?
Yes
No
+1
Friday, April 9th, 2021 AT 7:45 PM

Please login or register to post a reply.