Will not stay running during a hot start

Tiny
TEESURRATT
  • MEMBER
  • 2000 HONDA ACCORD
  • 3.0L
  • V6
  • 2WD
  • AUTOMATIC
  • 287,179 MILES
So I have been having this issue for months now and have basically refreshed the cooling system (new coolant temperature sensor, new thermostat, new coolant, new radiator fan and motor within a fan assembly), but the car still will not start after the third hot start or so. So before I installed the new thermostat, I couldn't hot start the car at all, I'd get the immediate stall. But after I installed the thermostat, I could get a single hot start in before it started stalling again. At this point, I realized the motor for the radiator fan (not the condenser fan) had burned out and caused it not to spin. I bought and installed the new fan assembly and I now get two hot starts before stalling. However, this may not be a cooling issue due to the fact that my engine temperature was normal (or my temperature gauge is broken, I'm not sure). Doing some research, I think the issue may be the idle air control valve, but again I'm not sure due to the fact that the stalling only occurs after several hot starts (like if I was running errands and parking and starting at several locations). Usually the idle will stick around 800 rpm's, but on hot starts where it starts stalling, it'll immediately shut off, or sit at 200 rpm's for a second and then shut off. I know I have a slight coolant leak, but I don't think cooling is the issue. For those who know the blemishes of mid-1990's to early 2000's Honda's might refer to it as heat soak, but again I doubt this being true. So overall, I've heard I need a new fuel pump, or an idle air control valve, or an intake air bypass valve, or a new main relay. Any suggestions on how I can fix this hot start issue?

I am pretty sure that the fuel pump has been replaced once before, but I think the main relay and IACV are OEM and 20 years old if that helps.
Tuesday, July 28th, 2020 AT 7:49 PM

19 Replies

Tiny
JACOBANDNICKOLAS
  • MECHANIC
  • 110,194 POSTS
Hi,

When it doesn't restart the third time, do you have to wait for it to cool down and then it will start? If that is the case, it may be the crankshaft position sensor. When they start going bad, they are adversely affected.

Do me a favor. Take a look through these two links. The first describes what the sensor does. The second describes symptoms. Let me know if these seem to mirror what you experience.

https://www.2carpros.com/articles/how-a-crank-shaft-angle-sensor-works

https://www.2carpros.com/articles/symptoms-of-a-bad-crankshaft-sensor

Also, let me know if when it doesn't start if you notice the tachometer moving at all when cranking. If you have a live data scan tool, see if there is an RPM signal when it doesn't start.

Let me know.
Joe
Was this
answer
helpful?
Yes
No
+1
Tuesday, July 28th, 2020 AT 8:02 PM
Tiny
TEESURRATT
  • MEMBER
  • 17 POSTS
So usually I just limp it home, just not letting the RPM's drop and stalling, but looking over these articles, you may be exactly right. So I kept getting code for misfiring that would go away when the car was started again cold and then wasn't misfiring, and I didn't mention that in this post, I have in previous questions. There is a check engine light on which usually is for the O2 sensor, but I've seen it flash for misfires quite often. Thank you so much, I've been looking for a solution that made sense for about 5 months. However, shouldn't this throw a code? I've never seen a crankshaft sensor code whenever it does this.
Was this
answer
helpful?
Yes
No
Tuesday, July 28th, 2020 AT 8:10 PM
Tiny
JACOBANDNICKOLAS
  • MECHANIC
  • 110,194 POSTS
Hi,

As far as a code, it doesn't always happen. Because a crankshaft position sensor is related to engine speed, when they fail it may not trigger a check engine light light. This is because there are some things that can stop the crankshaft position sensor's signal that will have nothing to do with the sensor going bad such as running out of gas or stalling the engine when letting the clutch pedal out to quickly.

It's a thought at this point. Let me know what you find.

Take care,
Joe
Was this
answer
helpful?
Yes
No
Tuesday, July 28th, 2020 AT 8:33 PM
Tiny
TEESURRATT
  • MEMBER
  • 17 POSTS
I will start looking into that in more detail now, thanks. The other thing is that after limping it for a while it can start to maintain idle around 700 rpm's. For instance if it does it and I keep RPM's all the way home, once I get in my driveway and put it into park, it will just idle and not stall, like it “warmed up or something”.
Was this
answer
helpful?
Yes
No
Tuesday, July 28th, 2020 AT 8:37 PM
Tiny
JACOBANDNICKOLAS
  • MECHANIC
  • 110,194 POSTS
That's interesting. Do me a favor. You mentioned having it scanned. By any chance, do you still have the codes that were retrieved written down? If you do, let me know what they are. And you are right about it flashing. That indicates a misfire.

It could be fuel pressure related as well, but sounds more electrical.

Let me know.

Take care,
Joe
Was this
answer
helpful?
Yes
No
Tuesday, July 28th, 2020 AT 8:40 PM
Tiny
TEESURRATT
  • MEMBER
  • 17 POSTS
Yes! So at one point I had P0131 (the o2 sensor) and P0300 and P0306 which were the misfires. I’ll have to check the codes tomorrow morning, but those have been what I’ve seen (with a random shift code a few months ago).
Was this
answer
helpful?
Yes
No
Tuesday, July 28th, 2020 AT 8:44 PM
Tiny
JACOBANDNICKOLAS
  • MECHANIC
  • 110,194 POSTS
The 300 is a multiple/random which I feel would be more likely related to the sensor. The 306 is specific to cylinder 6. Has the O2 sensor been replaced? Also, if you have a live data scan tool, could you tell me what the short term fuel trims are? One last question and I'll stop driving you crazy. Have you addressed the cylinder 6 misfire?

Joe
Was this
answer
helpful?
Yes
No
Tuesday, July 28th, 2020 AT 8:54 PM
Tiny
TEESURRATT
  • MEMBER
  • 17 POSTS
The o2 sensor hasn’t been replaced yet, but the misfires have gone away, they only happen sometimes when the hot start stalls happen. Also I was saying I had misfires on all 6 cylinders, hence the 300-306.
Was this
answer
helpful?
Yes
No
Tuesday, July 28th, 2020 AT 8:55 PM
Tiny
JACOBANDNICKOLAS
  • MECHANIC
  • 110,194 POSTS
Got ya. Is it possible for you to get me the trims? AS far as the misfires, they could be the result of several things. Interestingly, if the O2 sensor is messing up, it can change the air/fuel mixture and causing problems.

The code, P0131, is specific to a low voltage from the bank 1 heated sensor. Since the voltage is low, it could be a sensor, corrosion at the connection, a damaged wire and so on. What you would need to do to check it is disconnect the connector and check for voltage. It should be around.5v via a scan tool. I don't know if that helps you or not.

Also, the sensor's response can be related to fuel pressure. That's why I asked about the fuel trims.

Let me know.

Joe
Was this
answer
helpful?
Yes
No
Tuesday, July 28th, 2020 AT 9:06 PM
Tiny
TEESURRATT
  • MEMBER
  • 17 POSTS
I seem to have misplaced my OBDII reader, but I can tell you that the O2 sensor has been shooting a code for around 2 years or so (it was there when I bought it in March 2019) but this hot start issue has only been happening for a few months. Is it possible that the O2 sensor could deteriorate past when it shot the fault code, and start screwing with the engine? Also the code has gone away for a few weeks at a time when the hot start issue started, which was confusing since I had no fault codes at the time. However, to answer your question, I do know that when it hot starts and has the issue, the air/fuel ratio is extremely lean.
Was this
answer
helpful?
Yes
No
Wednesday, July 29th, 2020 AT 6:30 AM
Tiny
TEESURRATT
  • MEMBER
  • 17 POSTS
Also, would a O2 sensor totally fail with heat? I'm also curious where the primary sensor is, I cannot find it and any research just brings up the downstream sensor on the cat.
Was this
answer
helpful?
Yes
No
Wednesday, July 29th, 2020 AT 10:51 AM
Tiny
JACOBANDNICKOLAS
  • MECHANIC
  • 110,194 POSTS
Hi,

Yes, the sensor can cause a hard start when hot. Also, the idea that it is extremely lean may indicate a vacuum related issue. Have you checked for engine vacuum leaks? Here is a link that shows how that is done:

https://www.2carpros.com/articles/how-to-use-an-engine-vacuum-gauge

I attached two pics below showing the location of the primary sensor (pic 1) and the secondary (pic 2). Note: The primary HO2S is installed in the exhaust manifold.

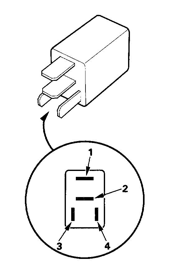
Also, there is a relay that operates the primary sensor. See pic 3 for location. Also, here are directions for checking it:

__________________________________

POWER RELAY TEST
Normally-open type A:

pic 4

Check for continuity between the terminals.

- There should be continuity between the No.1 and No.2 terminals when power and ground are connected to the No.3 and No.4 terminals.
- There should be no continuity between the No.1 and No.2 terminals when power is disconnected.

Type 1

pic 5

Type 2

pic 6

Heated Oxygen Sensor Relay (California)

_________________________

Let me know if this helps.

Joe

Was this
answer
helpful?
Yes
No
Wednesday, July 29th, 2020 AT 7:59 PM
Tiny
TEESURRATT
  • MEMBER
  • 17 POSTS
Oh thanks, I was trying to figure out where the primary sensor was. I mean I wouldn't consider it extremely lean like I said earlier, but definitely on the leaner side. But I will definitely check out the primary sensor and just see whats up with it and I'll get back to you.
Was this
answer
helpful?
Yes
No
Wednesday, July 29th, 2020 AT 8:16 PM
Tiny
JACOBANDNICKOLAS
  • MECHANIC
  • 110,194 POSTS
Sounds like a plan. If you find the scanner and it has a live data setting, tell me what the voltage to that sensor does when the engine is running. It should change up and down. Also, check the relay I mentioned as well.

Take care and I'll watch for your reply

Joe
Was this
answer
helpful?
Yes
No
Wednesday, July 29th, 2020 AT 8:26 PM
Tiny
TEESURRATT
  • MEMBER
  • 17 POSTS
Hey I'm back! I had to find my scanner, but I got those fuel trims.

So my scanner isn't the greatest, and it's on the cheap side, so I sent two different numbers, one that was at normal idle around 800 rpm, and the higher fuel trim percentage a couple seconds after revving to around 1400 rpm as it was returning to 800 rpm. This was a cold start, so I'm not sure what happens on the hot start failures, but here's what I have. These numbers were also coming from Bank 1 sensors 1 and 2, if that's relevant. I also was no longer getting a fault code for P0131 anymore, so I do not know what's up with that, but there really was no other codes other than previously logged fault codes from a previous hot start (which I cleared).
Was this
answer
helpful?
Yes
No
Saturday, August 8th, 2020 AT 4:17 PM
Tiny
JACOBANDNICKOLAS
  • MECHANIC
  • 110,194 POSTS
Hi,

So the codes are gone and the light is off? Has the problem resolved itself?

As far as the trims, in a perfect world, it would be at 0 at idle. The idea that it is a positive 10.2, that indicates the computer is adding fuel to eliminate a lean mixture. Have you checked for engine vacuum leaks? Also, have you checked fuel pressure?

https://www.2carpros.com/articles/how-to-check-fuel-system-pressure-and-regulator

https://www.2carpros.com/articles/how-to-use-an-engine-vacuum-gauge

Let me know.

Joe

Was this
answer
helpful?
Yes
No
Saturday, August 8th, 2020 AT 9:48 PM
Tiny
TEESURRATT
  • MEMBER
  • 17 POSTS
So those fuel trims fluctuated constantly, at normal idle I saw from around 0.8 to 6.6, but usually hanging around 2-3%. With the revving, it would start with the 10-12% percent and then come back down to fluctuating above and below the 2-3% mark. With the fault codes, I guess the problem fixed itself? I’ll just have to see as I keep driving it. I’ll have to check for vacuum leaks and fuel pressure tomorrow, I’ll get back to you.
Was this
answer
helpful?
Yes
No
Saturday, August 8th, 2020 AT 9:53 PM
Tiny
TEESURRATT
  • MEMBER
  • 17 POSTS
To serve as an update, I don’t know what it was, but replacing the radiator fan totally fixed the issue. I haven’t had a hot start since the end of this thread.
Was this
answer
helpful?
Yes
No
Wednesday, March 3rd, 2021 AT 7:25 PM
Tiny
JACOBANDNICKOLAS
  • MECHANIC
  • 110,194 POSTS
Hi,

Thanks for letting me know. I'm sure your post will help others in the future.

Take care and God Bless,

Joe
Was this
answer
helpful?
Yes
No
Friday, March 5th, 2021 AT 7:46 PM

Please login or register to post a reply.