Started it up as normal and stalled it pulling out of my driveway, it has not started since

Tiny
LEGEETSHEET
  • MEMBER
  • 1997 SATURN SL1
  • 1.9L
  • 4 CYL
  • 2WD
  • MANUAL
  • 213,000 MILES
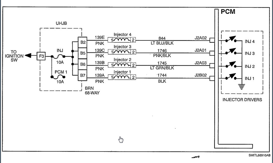
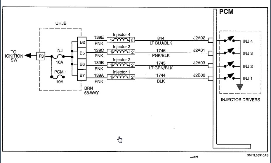
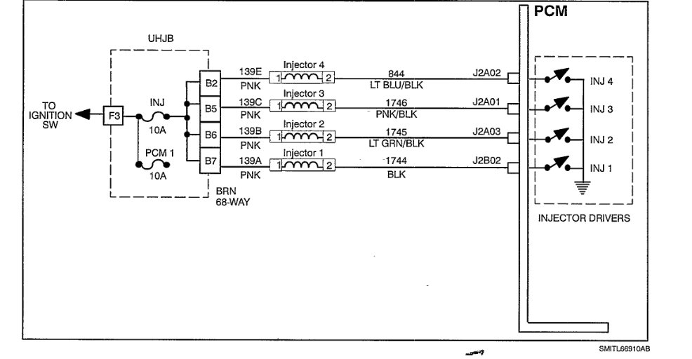
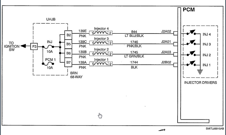
I’ve tried: replacing spark plugs, engine coolant temperature sensor, crankshaft position sensor, battery, and did tests for fuel pressure and spark. It has compression, spark, and good fuel pressure. The fuel isn’t coming through the injectors and I can’t figure out why. The connectors I could get off have voltage going to them but won’t spray fuel into the cylinders. I’ve checked a spark plug after cranking, bone dry.
Sunday, January 5th, 2020 AT 1:25 PM

4 Replies

Tiny
TOUGHDIVER
  • MECHANIC
  • 224 POSTS
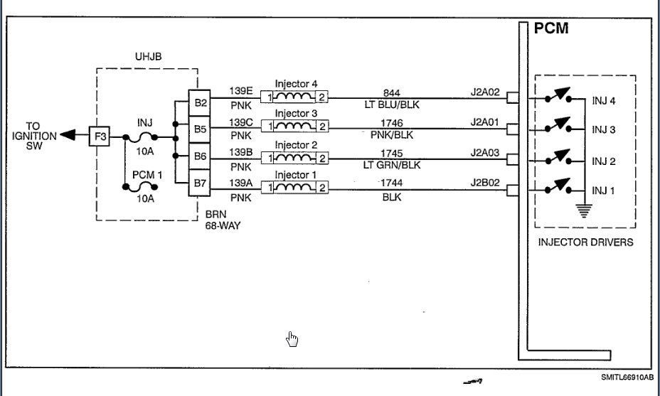
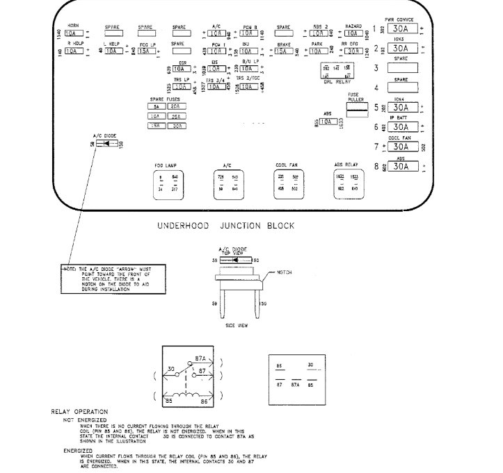
It could be the PCM ign1 fuse. Check the PCM fuses I'm attaching information below on checking fuses. Let us know if this info was helpful and if need any more.

https://www.2carpros.com/articles/how-to-check-a-car-fuse

Thank you
Joe T.
Was this
answer
helpful?
Yes
No
-1
Tuesday, April 20th, 2021 AT 11:01 AM
Tiny
KASEKENNY
  • MECHANIC
  • 18,907 POSTS
Okay. Just to clarify all that happened was you stalled it using the clutch and it will not restart?

If this is the case, we need to find out if the PCM is grounding the injectors. We can assume they are not but that is how they are controlled. I know you found power to them but there is constant power and when the PCM wants to open them, it grounds the circuit and the injector opens.

If you have power to them we can assume the fuses are good. If the PCM is not grounding them (again I assume this is what you will find) then we need to find out why they are not being commanded on. This means we need to hook up a scan tool and monitor the engine coolant temp and throttle position switch. These are the two things the PCM uses to determine how much fuel to add during starting.

If the TP sensor is shorted and the PCM thinks the throttle is wide open then it is going to cut the injectors off. This is called clear flood mode. Basically if the engine becomes flooded then it won't start because of too much fuel so you can cut the fuel off by holding the accelerator to the floor so it starts.

I don't know how any of this would be related to the stall event but anything is possible so we just need to go through this systematically. Also, we need to scan for codes. That could point us in the best direction quickly.
Was this
answer
helpful?
Yes
No
+1
Tuesday, April 20th, 2021 AT 11:01 AM
Tiny
LEGEETSHEET
  • MEMBER
  • 2 POSTS
Okay, we found that the injectors are getting grounded by the PCM (we used a test light and it turned on and off like we’d expect). I also personally tested the TPS by checking the voltage being sent to the PCM when the throttle is adjusted from fully closed to wide open, and it went from close to 0V closed, to 4.5V wide open, so it’s working as it should. Apparently there wasn’t sufficient fuel pressure at the rails†I didn’t do the fuel pressure test correctly. That being said, the fuel pump and filter were replaced, but the car still doesn’t start.

Unfortunately, I am not in a position to work on the car anymore, as my spring semester just started, so I won’t be able to read the codes. One other factor could be bad timing, but you’d notice if the chain were broken or loose by the sound when cranking, right?
Was this
answer
helpful?
Yes
No
Tuesday, April 20th, 2021 AT 11:01 AM
Tiny
KASEKENNY
  • MECHANIC
  • 18,907 POSTS
Okay. I think we missed something. If the injectors are grounded then that means they are opening which means if you have fuel pressure now then they should be sending fuel into the combustion chamber. When you tested the pulsing, where did you hook the other end of the test light? Positive or negative battery terminal?

Don't worry about taking time to get back to us. We will be here whenever you get back to it.

Yes. I would expect you would know if there was a timing chain issue. Also, that is not going to cause the injectors to not open.
Was this
answer
helpful?
Yes
No
Tuesday, April 20th, 2021 AT 11:01 AM

Please login or register to post a reply.