Brake Master replacement

Tiny
FLAT
  • MEMBER
  • 1998 FORD F-150
  • 5.4L
  • V8
  • 4WD
  • AUTOMATIC
  • 150,000 MILES
I put new brakes on bled them off and I still get no pedal. It goes all way to the floor when I press it.
Tuesday, July 30th, 2019 AT 2:59 PM

1 Reply

Tiny
JACOBANDNICKOLAS
  • MECHANIC
  • 110,192 POSTS
Welcome to 2CarPros.

It sounds like a bad master cylinder. Have you checked that? If there are no leaks, that's my first suspect. take a look through this link.

https://www.2carpros.com/articles/brake-pedal-goes-to-the-floor

Here are directions in general for master cylinder replacement:

https://www.2carpros.com/articles/how-to-replace-a-brake-master-cylinder

__________________________

Here are the directions for replacement specific to your vehicle. The attached pictures correlate with the directions.

_________________________

Removal and Installation
Vehicle Brakes and Traction Control Hydraulic System Brake Master Cylinder Service and Repair Procedures Master Cylinder, Brakes Removal and Installation
REMOVAL AND INSTALLATION
REMOVAL
WARNING: BRAKE FLUID CONTAINS POLYGLYCOL ETHERS AND POLYGLYCOLS. AVOID CONTACT WITH EYES. WASH HANDS THOROUGHLY AFTER HANDLING. IF BRAKE FLUID CONTACTS EYES, FLUSH EYES WITH RUNNING WATER FOR 15 MINUTES. GET MEDICAL ATTENTION IF IRRITATION PERSISTS. IF TAKEN INTERNALLY, DRINK WATER AND INDUCE VOMITING. GET MEDICAL ATTENTION IMMEDIATELY.

pic 1

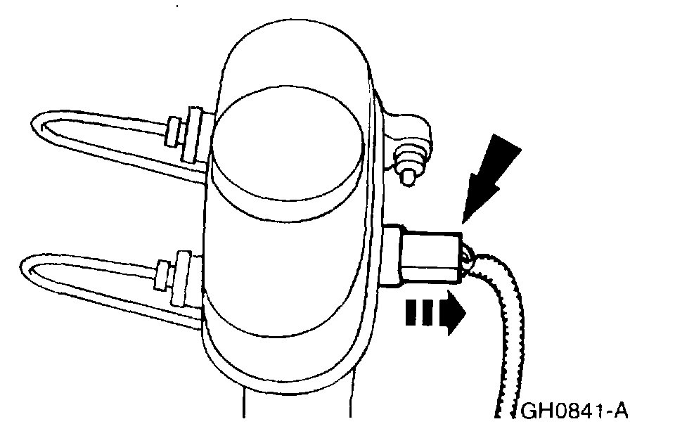
1. Disconnect the brake fluid level warning switch.

pic 2

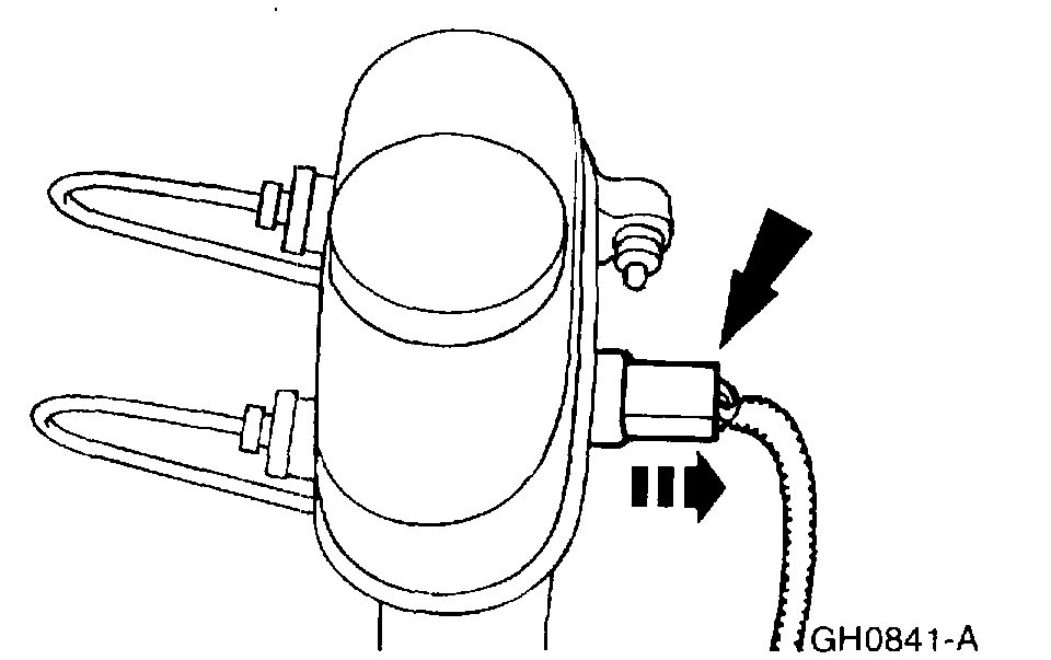
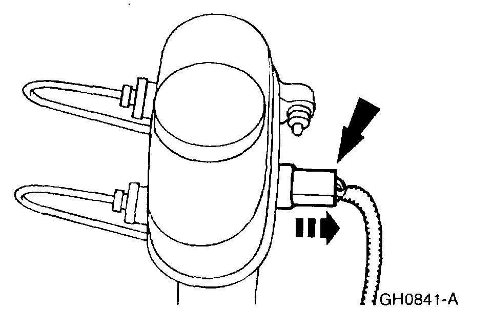
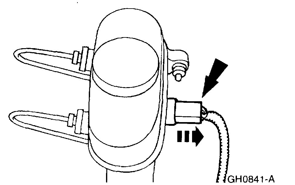
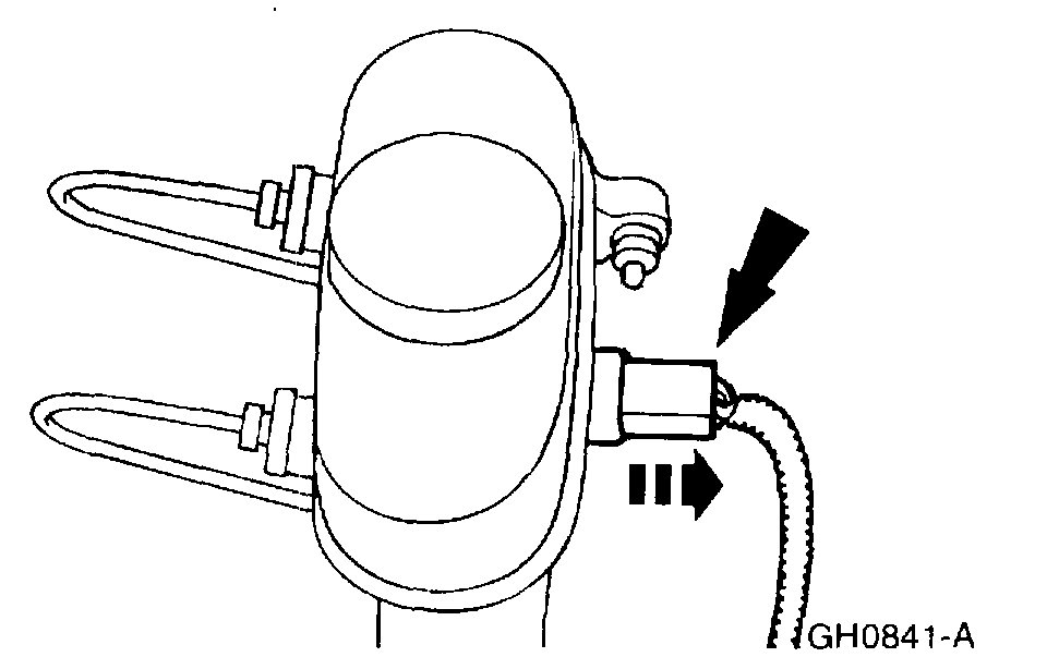
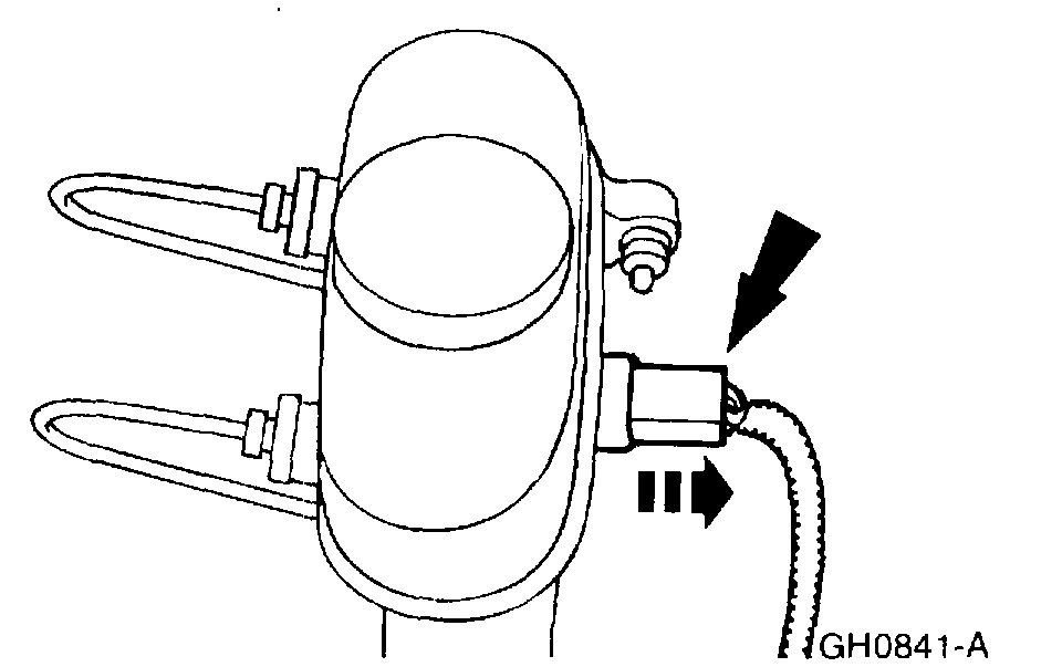
2. If equipped with speed control, disconnect the brake pressure switch electrical connector.

pic 3

3. Disconnect the two brake lines and plug the lines and the brake master cylinder ports.
4. On vehicles equipped with the rear anti-lock brake system (RABS), remove the RABS valve.

pic 4

5. Remove the brake master cylinder
1 Remove the two brake master cylinder nuts
2 Remove the brake master cylinder

INSTALLATION

pic 5

1. Follow the removal procedure in reverse orders
- Bleed the brake system.

______________________________________________

Let me know if this helps.

Take care,
Joe
Was this
answer
helpful?
Yes
No
Tuesday, April 6th, 2021 AT 12:21 PM

Please login or register to post a reply.