Brake bleed problems?

Tiny
ASEMASTER6371
  • MECHANIC
  • 52,796 POSTS
Keep us updated.
Was this
answer
helpful?
Yes
No
Monday, February 8th, 2021 AT 2:33 PM
Tiny
DOOB
  • MEMBER
  • 72 POSTS
Nothing, just kind of oozes out.
Was this
answer
helpful?
Yes
No
Monday, February 8th, 2021 AT 2:38 PM
Tiny
DOOB
  • MEMBER
  • 72 POSTS
Okay, Roy. Didn’t have pressure so I re-bled master cylinder till no bubbles. Moving fluid okay it seems.
Was this
answer
helpful?
Yes
No
Monday, February 8th, 2021 AT 2:57 PM
Tiny
DOOB
  • MEMBER
  • 72 POSTS
Okay, it just barely oozes fluid. So I bled the master cylinder in place just to see if it’s pushing fluid. It seems okay. Thinking of bypassing combination valve.
Was this
answer
helpful?
Yes
No
Monday, February 8th, 2021 AT 3:14 PM
Tiny
ASEMASTER6371
  • MECHANIC
  • 52,796 POSTS
Sounds like the master cylinder is no good. I would replace it again and rebleed everything.

https://www.2carpros.com/articles/how-to-replace-a-brake-master-cylinder

Roy
Was this
answer
helpful?
Yes
No
+1
Tuesday, February 9th, 2021 AT 12:58 AM
Tiny
DOOB
  • MEMBER
  • 72 POSTS
Okay. Bled master cylinder with bench bleed kit. Didn’t remove it from truck. Am now 4 hours into gravity bleed and no fluid has came from rear bleeder screws.
Was this
answer
helpful?
Yes
No
Tuesday, February 9th, 2021 AT 10:29 AM
Tiny
DOOB
  • MEMBER
  • 72 POSTS
Okay Roy, I have replaced master cylinder with new one and am now getting fluid to rear and front. I vacuum bled the lines and still have no pedal with engine running.
Was this
answer
helpful?
Yes
No
Sunday, February 21st, 2021 AT 6:50 PM
Tiny
ASEMASTER6371
  • MECHANIC
  • 52,796 POSTS
I do not see that replaced the master cylinder again?

This sounds like a defective master cylinder as I suggested.

Roy
Was this
answer
helpful?
Yes
No
+1
Monday, February 22nd, 2021 AT 1:26 AM
Tiny
DOOB
  • MEMBER
  • 72 POSTS
Yep, replaced it with new one. Bench bled it.
Was this
answer
helpful?
Yes
No
Monday, February 22nd, 2021 AT 6:07 AM
Tiny
DOOB
  • MEMBER
  • 72 POSTS
Yea, this is the second one replaced. I took the former master cylinder and put it in vise and found that it wasn’t pumping from front reservoir. So replaced it with a new one. I bench bled it before installing it yesterday.
Was this
answer
helpful?
Yes
No
Monday, February 22nd, 2021 AT 6:11 AM
Tiny
ASEMASTER6371
  • MECHANIC
  • 52,796 POSTS
You will need a pressure bleeder. A vacuum bleeder does not work well at all for bleeding out the air.

Do you have ABS?

Roy
Was this
answer
helpful?
Yes
No
+1
Monday, February 22nd, 2021 AT 7:43 AM
Tiny
DOOB
  • MEMBER
  • 72 POSTS
Yes, it has ABS. ABS light is on now. Okay, I’ll get a pressure bleeder and try that.
Was this
answer
helpful?
Yes
No
Monday, February 22nd, 2021 AT 2:25 PM
Tiny
ASEMASTER6371
  • MECHANIC
  • 52,796 POSTS
You will need a scan tool to bleed that system.

I attached the procedure below for you to follow.

Roy

ABS Automated Bleed Procedure

Two - Person Procedure

Important:
Use the two-person bleed procedure under the following conditions:
- Installing a new Electro-Hydraulic Control Unit (EHCU) or new Brake Pressure Modulator Valve (BPMV).
- Air is trapped in the valve body.
Do not drive the vehicle until the brake pedal feels firm.
- Do not reuse brake fluid that is used during bleeding.
- Use the vacuum, the pressure and the gravity bleeding procedures only for base brake bleeding.

1. Raise the vehicle in order to access the system bleed screws.
2. Bleed the system at the right rear wheel first.
3. Install a clear hose on the bleed screw.
4. Immerse the opposite end of the hose into a container partially filled with clean DOT 3 brake fluid.
5. Open the bleed screw 1/2 to 1 full turn.
6. Slowly depress the brake pedal. While the pedal is depressed to its full extent, tighten the bleed screw.
7. Release the brake pedal and wait 10-15 seconds for the master cylinder pistons to return to the home position.
8. Repeat the previous steps for the remaining wheels. The brake fluid which is present at each bleed screw should be clean and free of air.
9. This procedure may use more than a pint of fluid per wheel. Check the master cylinder fluid level every four to six strokes of the brake pedal in order to avoid running the system dry.
10. Press the brake pedal firmly and run the Scan Tool Automated Bleed Procedure. Release the brake pedal between each test.
11. Bleed all four wheels again using Steps 3-9.
This will remove the remaining air from the brake system.
12. Evaluate the feel of the brake pedal before attempting to drive the vehicle.
13. Bleed the system as many times as necessary in order to obtain the appropriate feel of the pedal.
Was this
answer
helpful?
Yes
No
+1
Monday, February 22nd, 2021 AT 4:02 PM
Tiny
DOOB
  • MEMBER
  • 72 POSTS
Okay. Have bled a quart of fluid through all wheels. Going to do auto bleed next. ABS light is on. Have new master cylinder. And bench bled it twice. Will report anything new.
Was this
answer
helpful?
Yes
No
Wednesday, February 24th, 2021 AT 6:51 PM
Tiny
DOOB
  • MEMBER
  • 72 POSTS
Also found trouble code c0222 and c0226. Something about missing it front speed sensor. Would that cause ABS light and no pedal?
Was this
answer
helpful?
Yes
No
Wednesday, February 24th, 2021 AT 6:54 PM
Tiny
DOOB
  • MEMBER
  • 72 POSTS
You know I just remembered that abs module is from another20 03 Sonoma is that a problem.
Was this
answer
helpful?
Yes
No
Wednesday, February 24th, 2021 AT 11:13 PM
Tiny
ASEMASTER6371
  • MECHANIC
  • 52,796 POSTS
The module must be programmed to your VIN number in order to work.

The module will not cause a little or no brake pedal.

https://www.2carpros.com/articles/abs-warning-light-on-easy-repair-guide

Neither code is listed for your truck. Get the module programmed and see what happens.

Roy

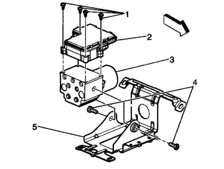
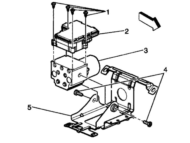
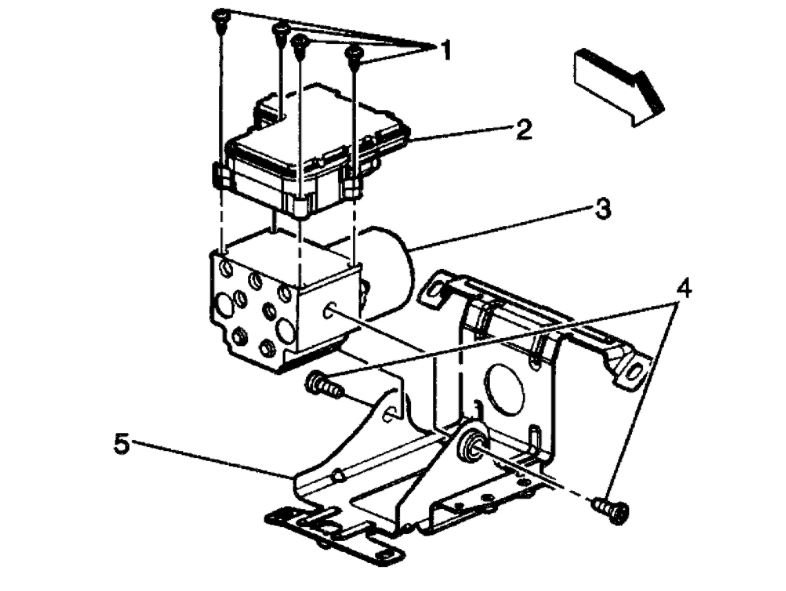
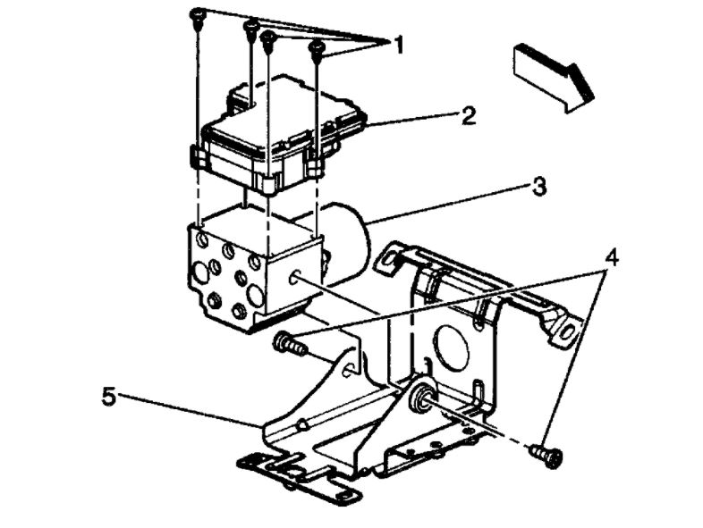
Electronic Brake Control Module (EBCM) Replacement

Removal Procedure

Important: After installation, calibrate the new EBCM to the tire size that is appropriate to the vehicle.

Important: Thoroughly wash all contaminants from around the EHCU. The area around the EHCU must be free from loose dirt to prevent contamination of disassembled ABS components.

imageOpen In New TabZoom/Print

1. Disconnect the electrical connectors from the EBCM (2).
2. Remove the four T 25-TORX mounting screws (1) that fasten the EBCM (2) to the BPMV (3).
3. Remove the EBCM (2) from the BPMV (3). Removal may require a light amount of force.

Important: Do not use a tool to pry the E13CM or the BPMV.

4. Clean the BPMV (3) to EBCM (2) mounting surfaces with a clean cloth.
Was this
answer
helpful?
Yes
No
Thursday, February 25th, 2021 AT 2:09 AM

Please login or register to post a reply.