Wednesday, July 3rd, 2019 AT 10:17 AM
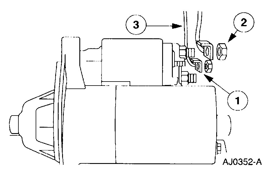
I can’t get my vehicle to start! I checked the battery, it’s new! Installed a new engine starter and still nothing. So I was wondering how many cables are supposed to connect to the starter? I know there is a power cables and a trigger cable. Is there a ground cable?

