A/C blows warm air.

Tiny
TEDAR
  • MEMBER
  • 1 POST
  • NISSAN SENTRA
I have a 95 nissan sentra. 1.6 engine, auto. When I am sitting in traffic my air condition does not blow cold air. When I am moving, my ac blows cold air. What is wrong
Was this
answer
helpful?
Yes
No
Monday, July 29th, 2019 AT 4:13 PM (Merged)
Tiny
RASMATAZ
  • MECHANIC
  • 75,992 POSTS
Could be low on freon.
Was this
answer
helpful?
Yes
No
Monday, July 29th, 2019 AT 4:13 PM (Merged)
Tiny
SLICKRICK
  • MEMBER
  • 7 POSTS
  • 1994 NISSAN SENTRA
  • 4 CYL
  • FWD
  • AUTOMATIC
  • 135,000 MILES
I was driving this morning and air conditioning system was working fine. Turned off car for a couple of minutes, then started the car, turned on AC and lights on dashboard for AC system didnt light up and AC didn't work, turned on heater and that didn't work either. What can I do?
Was this
answer
helpful?
Yes
No
Monday, July 29th, 2019 AT 4:13 PM (Merged)
Tiny
RIVERMIKERAT
  • MECHANIC
  • 6,110 POSTS
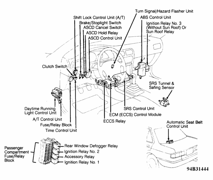
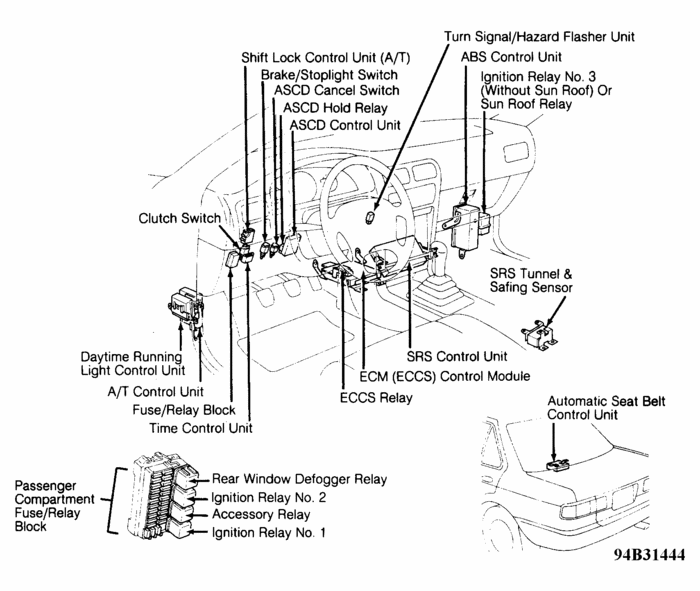
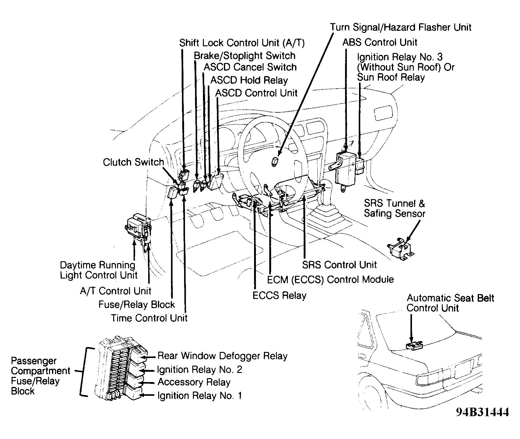
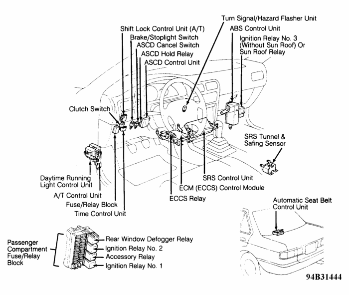
Check the fuse and the relay. The fuses are located under the left side of the dash, per the picture attached. The relay is located under the hood on the left side behind the battery.
Was this
answer
helpful?
Yes
No
-1
Monday, July 29th, 2019 AT 4:13 PM (Merged)
Tiny
PAISANOJAC
  • MEMBER
  • 1 POST
  • NISSAN SENTRA
'96 Nissan Sentra
Engine 1.6, AT, 327K miles (runs great)

I live in a very hot/humid location and my compressor is a new Nissan compressor. The dryer was replaced as well as the expansion valve. The evap coil was cleaned at the same time. Fans always operate when AC is turned on. Problem is that it only blows cold air in the early morning/late night. Daytime it's just cool, but not cold like all other cars are. At idle it goes from cool to almost warm in just a couple of minutes. The AC system doesn't leak and the pressures are good, btw, and the cooling system has never come close to overheating. I cleaned the orig. Condenser and it didn't help. I think it simply needs a new condenser, but my friend says if it isn't leaking then the condenser is fine. It has been like this for years with 3 rebuilt compressors and I thought a new compressor would fix the problem, but it didn't. Long freeway drives are a little cooler than city driving and much cooler than at idle. What do you think?
Was this
answer
helpful?
Yes
No
Monday, July 29th, 2019 AT 4:13 PM (Merged)
Tiny
MHPAUTOS
  • MECHANIC
  • 31,937 POSTS
Hi there,

I would check that the heater tap is not leaking, as a quick first up check, and the inside / outside air vents are working as they should.

Mark (mhpautos)
Was this
answer
helpful?
Yes
No
Monday, July 29th, 2019 AT 4:13 PM (Merged)
Tiny
BLAKE3
  • MEMBER
  • 3 POSTS
  • 1993 NISSAN SENTRA
  • 4 CYL
  • FWD
  • MANUAL
  • 131,000 MILES
I just bought the car and the compressor would not come on because there was no freon in the car so I went and got some freon and now the a/c compressor comes on and the air blows a little cold but not as cold as I expected do u have any suggestions? Thanks
Was this
answer
helpful?
Yes
No
Monday, July 29th, 2019 AT 4:14 PM (Merged)
Tiny
SATURNTECH9
  • MECHANIC
  • 30,869 POSTS
How many ounce's of charge have you put in so far?
Was this
answer
helpful?
Yes
No
Monday, July 29th, 2019 AT 4:14 PM (Merged)
Tiny
BLAKE3
  • MEMBER
  • 3 POSTS
25ozs
Was this
answer
helpful?
Yes
No
Monday, July 29th, 2019 AT 4:14 PM (Merged)
Tiny
SATURNTECH9
  • MECHANIC
  • 30,869 POSTS
Did you convert the system from r 12 to r134 charge?
Was this
answer
helpful?
Yes
No
Monday, July 29th, 2019 AT 4:14 PM (Merged)
Tiny
BLAKE3
  • MEMBER
  • 3 POSTS
New compressor and added r 134
Was this
answer
helpful?
Yes
No
Monday, July 29th, 2019 AT 4:14 PM (Merged)
Tiny
SATURNTECH9
  • MECHANIC
  • 30,869 POSTS
Hopefully you have a gauge on your charging hose if you do turn on the a/c let it idle and tell me what the pressure is to the low side.
Was this
answer
helpful?
Yes
No
Monday, July 29th, 2019 AT 4:14 PM (Merged)
Tiny
SKIP2211
  • MEMBER
  • 1 POST
  • 1994 NISSAN SENTRA
  • 4 CYL
  • FWD
  • AUTOMATIC
  • 100,000 MILES
The air conditioner will not work on fan speeds 1 & 2 but works fine on speeds 3 & 4.
What is the problem?
Was this
answer
helpful?
Yes
No
Monday, July 29th, 2019 AT 4:14 PM (Merged)
Tiny
BLUELIGHTNIN6
  • MECHANIC
  • 16,542 POSTS
Check blower motor relay, if relay is OK then testing of the a/c control switch is needed. If tests OK suspect faulty blower motor resistor.
Was this
answer
helpful?
Yes
No
Monday, July 29th, 2019 AT 4:14 PM (Merged)
Tiny
CLAY77
  • MEMBER
  • 1 POST
  • 1994 NISSAN SENTRA
  • 4 CYL
  • FWD
  • AUTOMATIC
  • 112,000 MILES
My 1994 Nissan Sentra is having an air conditioning issue. It starts out cold, then minutes later it turns cool, then completley stops sending out cool air. Does it need more refrigerant and can I do it myself? I am very mechanically incline if I just get the directions. Thanks.
Was this
answer
helpful?
Yes
No
Monday, July 29th, 2019 AT 4:14 PM (Merged)
Tiny
KHLOW2008
  • MECHANIC
  • 41,814 POSTS
Hi clay77,

If it is lack of refrigerant, then it would not start cold.

Most probably it is a system problem, clogging somewhere in the system. You need to check the operations pressure.
Was this
answer
helpful?
Yes
No
+1
Monday, July 29th, 2019 AT 4:14 PM (Merged)
Tiny
YAEGERJJ
  • MEMBER
  • 1 POST
  • 1998 NISSAN SENTRA
Air Conditioning problem
1998 Nissan Sentra Front Wheel Drive Manual 159000 miles

I have the old air condition system that came with this car, but it is know good. The cold air comes in cycles and only when the car is running. The cold air is never ongoing, like in most cars, which is what I would like. I was told because of the engine a 1.6, manual this would be all that I could get unless I upgraded to a better system. What would be suggested to upgrade too, even though the car is a 1998? I can't afford to buy a new car right now, so I am trying to make do with what I have, and the Florida heat without air is getting to me.
Was this
answer
helpful?
Yes
No
Monday, July 29th, 2019 AT 4:14 PM (Merged)
Tiny
MHPAUTOS
  • MECHANIC
  • 31,937 POSTS
Hi there,

The only thing you can do is get a retro fit for a different type of refrigerant gas, but if the A/C has other problems I would be getting a quote to fix that first as just changing the gas will not sole your problem, have this inspected first.

Mark (mhpautos)
Was this
answer
helpful?
Yes
No
Monday, July 29th, 2019 AT 4:14 PM (Merged)
Tiny
DETERMINED12
  • MEMBER
  • 1 POST
  • 1991 NISSAN SENTRA
  • 4 CYL
  • 4WD
  • AUTOMATIC
Makes really loud grinding sounds when turning corners or in reverse. Last night, after pressing as hard as I could on accelerator, the car will only drive 3-5 miles an hour. Also the AC only last 5-10minutes before shutting off & blowing hot air. I'm afraid to drive to mechanic for fear of breakdown. Can u give me an idea of what's wrong?
Was this
answer
helpful?
Yes
No
Monday, July 29th, 2019 AT 4:14 PM (Merged)
Tiny
MHPAUTOS
  • MECHANIC
  • 31,937 POSTS
I feel you may have a transmission/differential problem, this will have to be checked ASAP, the A/C may have a leak and is low on refrigerant, this will cause the system to shut down.
Was this
answer
helpful?
Yes
No
Monday, July 29th, 2019 AT 4:14 PM (Merged)

Please login or register to post a reply.

Related Air Conditioner Not Working Content