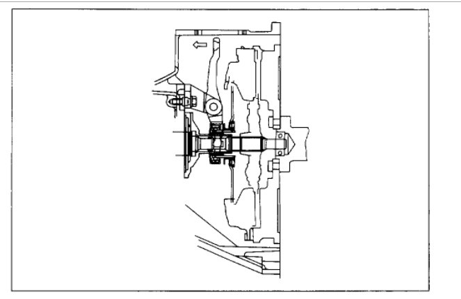
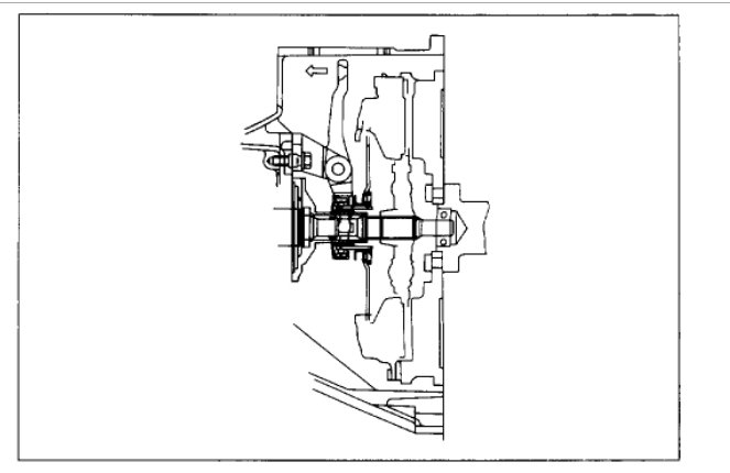
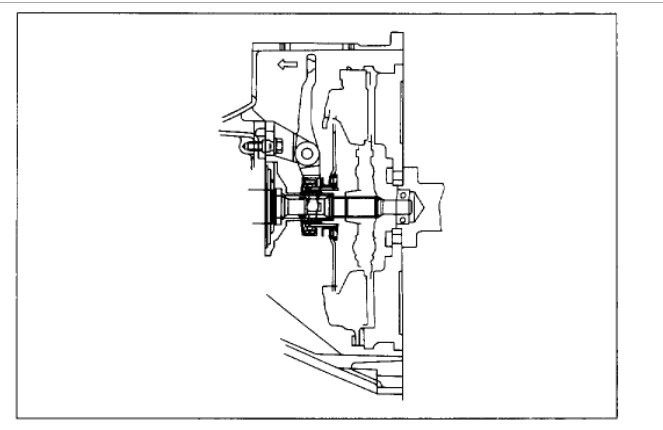
Thursday, July 23rd, 2015 AT 11:40 AM
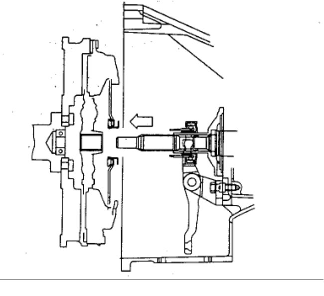
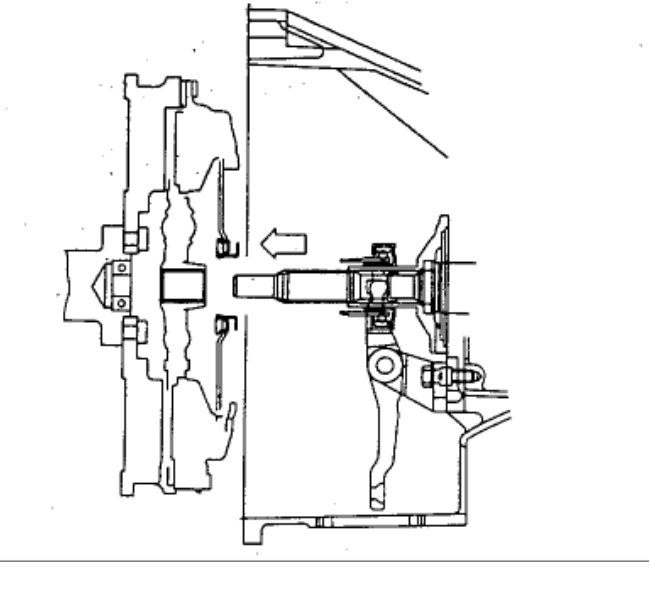
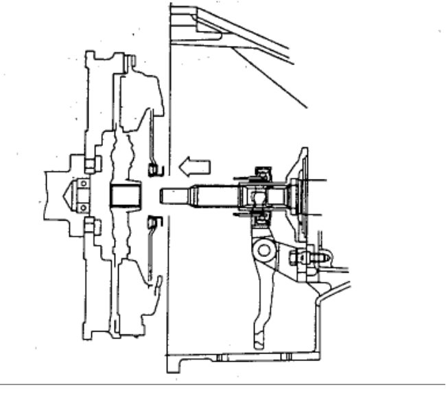
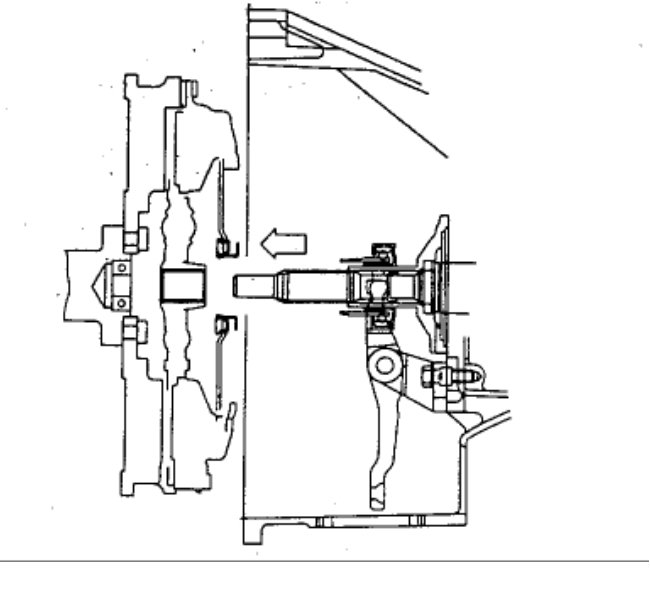
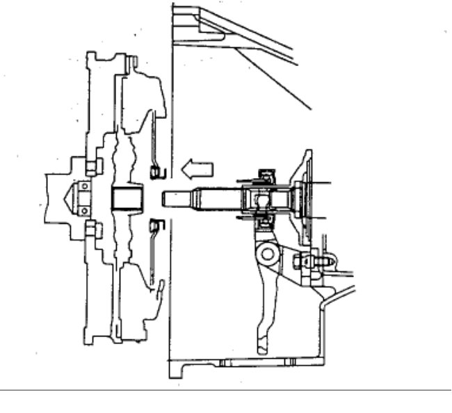
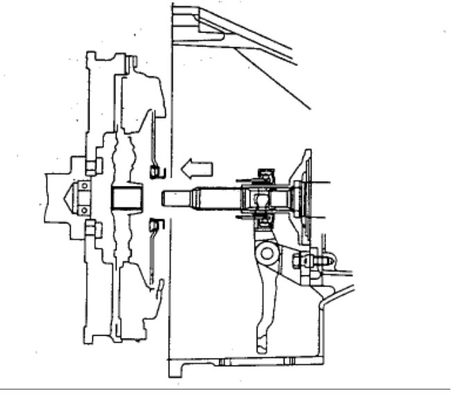
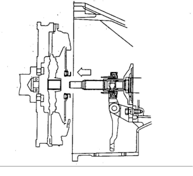
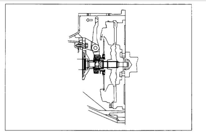
I replaced it clutch the throwout bearing slave cylinder and still have no pressure in my clutch pedal what could be the problem I can't see any leaks around the master cylinder please help

















