Monday, March 7th, 2011 AT 9:43 PM
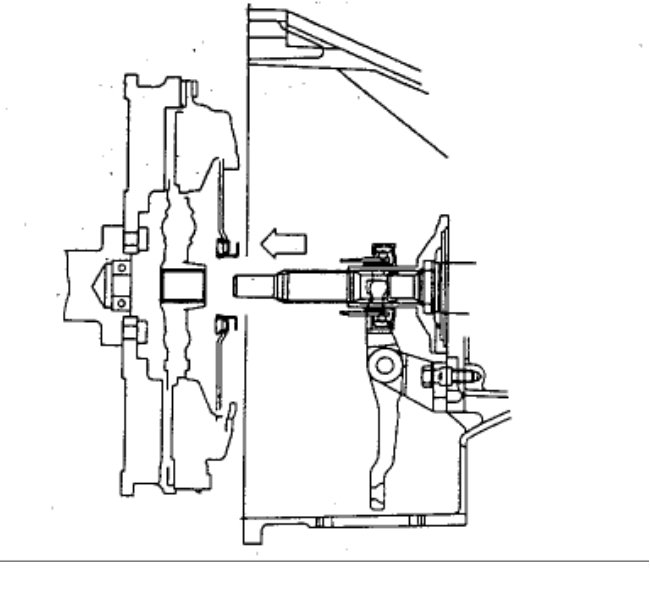
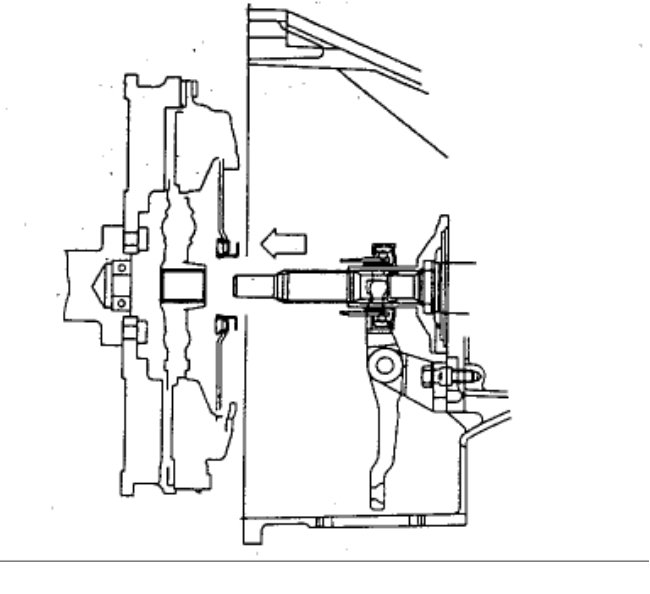
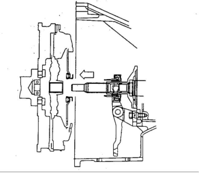
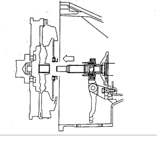
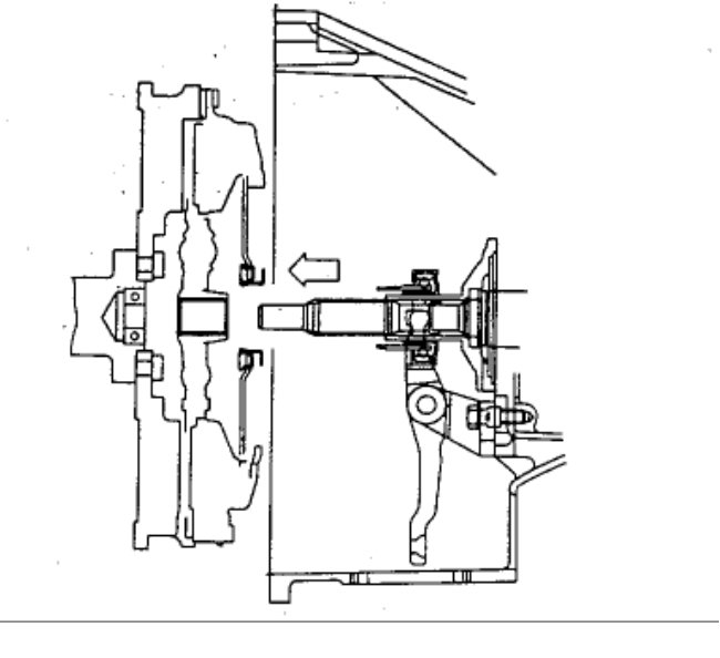
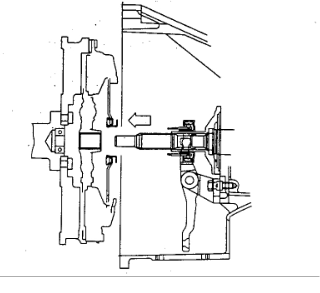
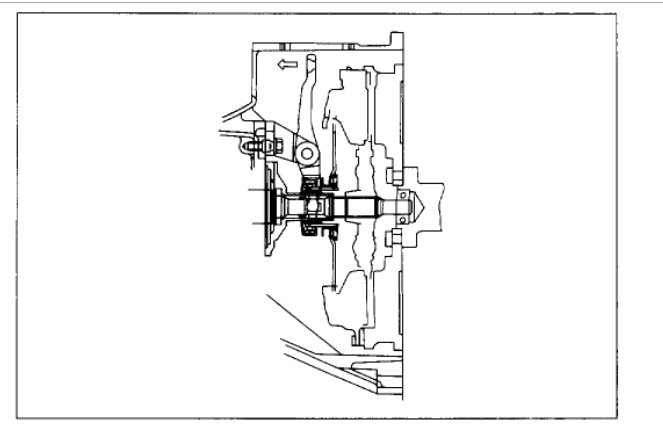
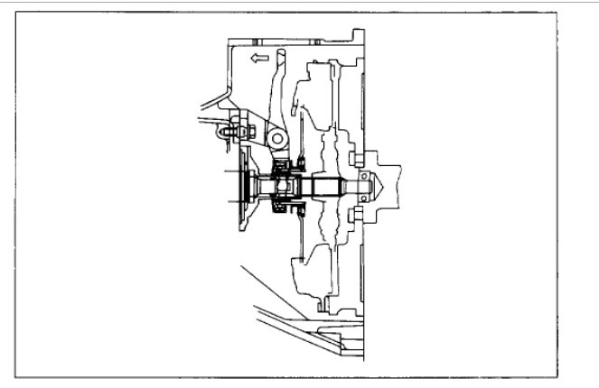
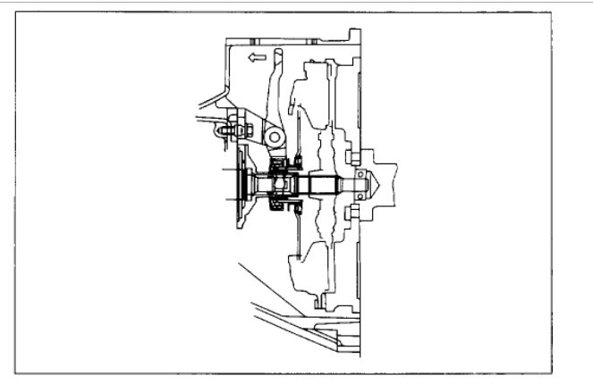
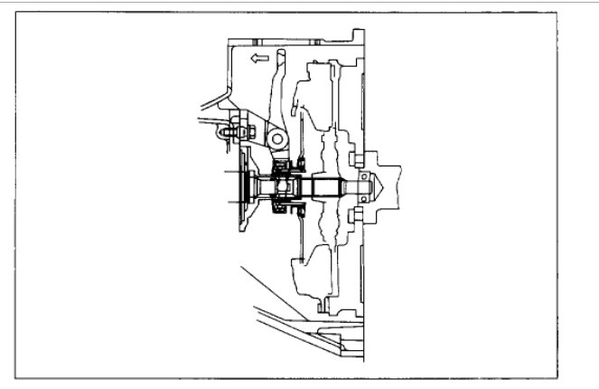
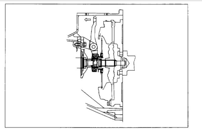
What is the sequence that the release bearing parts are installed in? As you know, this clutch release bearing is a quite different P.I.T.A. Than the normal type that presses against the pressure plate spring fingers to release the clutch. This one has a 'nose' on it that goes through another piece/collar that in turn goes through a ring on the pressure plate. I'm having a great deal of trouble stabbing all of this as the transmission is installed, hence my question about the sequence, does that collar get put into the ring in the center of the pressure plate first, before stabbing the transmission, or is the collar pre-assembled onto the nose of the release bearing? This is the hardest to stab transmission assembly that i've ever done.

















