DRL module location needed

2003 MERCURY MARQUIS
97,000 MILES • 4.6L • V8 • 2WD • AUTOMATIC
Avatar
REX STERLING
  • MEMBER
  • 21 POSTS
Where exactly is the DRL (Daytime Running Lights) Module on the car listed above? Also, can it be disabled?
Apr 11, 2018 at 2:49 PM
Repair Safety Notice: This information is for general instructional purposes only. Vehicle repair can be dangerous. Verify all information, follow manufacturer service procedures, use proper tools and safety equipment, and consult a qualified repair shop when needed.
Advertisement
Avatar
ASEMASTER6371
  • CAR REPAIR CONTRIBUTOR
  • 52,796 POSTS
Good evening.

The location is under the hood under the plastic cover for the headlight. procedure below and picture attached.

Why do you want to disable it?

Roy

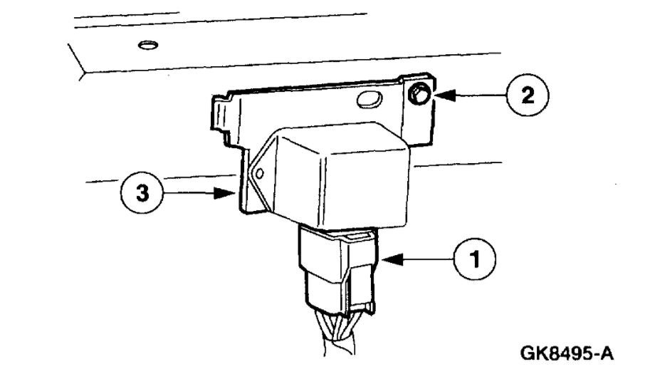
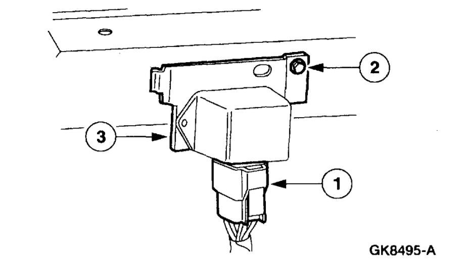
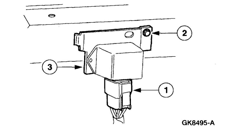
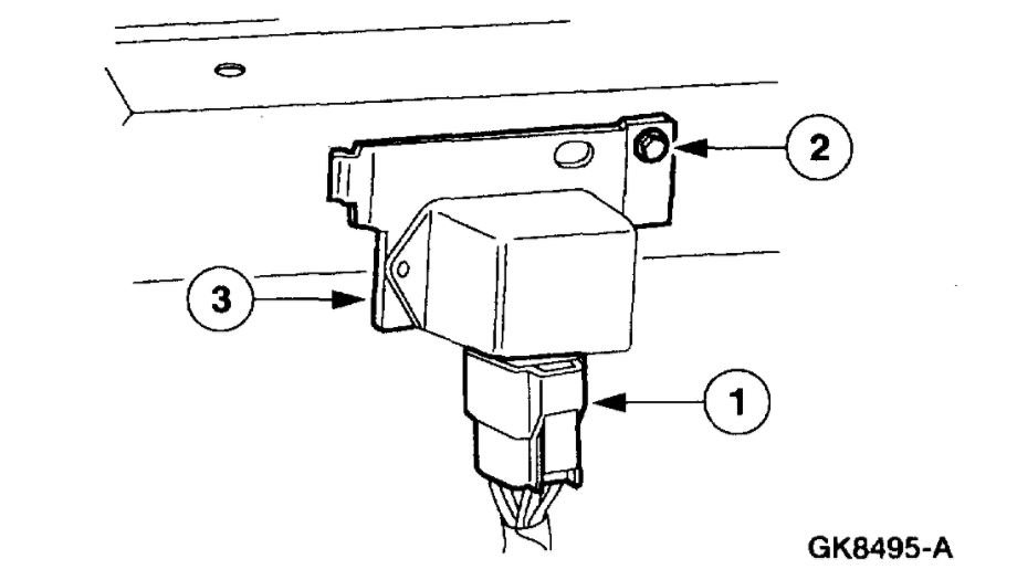
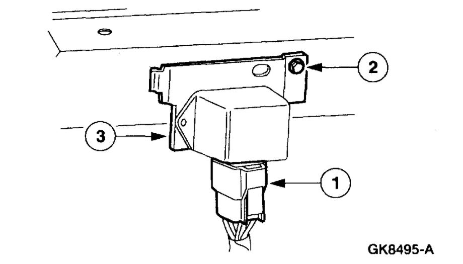
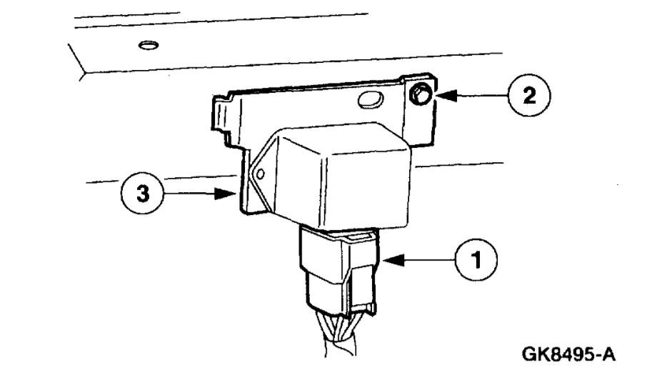
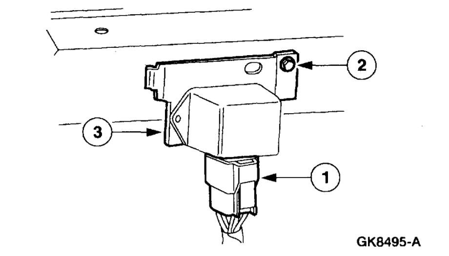
REMOVAL:
1. Remove the battery ground cable.



imageZoom/Print



2. Remove the sight shield.
^ Twist the clips.



imageZoom/Print



3. Remove the Daytime Running Lamps (DRL) module.
1 Disconnect the electrical connector.
2 Remove the bolt.
3 Remove the DRL module.
Apr 11, 2018 at 4:18 PM
Advertisement
Avatar
REX STERLING
  • MEMBER
  • 21 POSTS
I want to either get it replaced or disable it because my headlights are always on if the key is not off. They run while the key is on accessory, and when I have the car in Park with the parking brake on. It does not change the brightness of the headlights when I turn them on. So they are always running on full dim if the key is not in the off position. Thank you for your help. Is it located by the passenger side?
Apr 11, 2018 at 4:51 PM
Avatar
ASEMASTER6371
  • CAR REPAIR CONTRIBUTOR
  • 52,796 POSTS
center of the grille area on the radiator support.

You are welcome.

Roy
Apr 11, 2018 at 4:52 PM
Avatar
REX STERLING
  • MEMBER
  • 21 POSTS
I removed the sight shield but still could not find it.
Apr 11, 2018 at 5:05 PM
Avatar
ASEMASTER6371
  • CAR REPAIR CONTRIBUTOR
  • 52,796 POSTS
remove the whole shield along the front.

Apr 11, 2018 at 5:09 PM
Avatar
REX STERLING
  • MEMBER
  • 21 POSTS
I called my local Ford dealer and they told me that there was no DRL module on a 2003 Grand Marquis. I asked them if the LCM could be programmed to shut them off and they said no. I do not want my headlights running at full brightness all of the time, or when on accessory or parked with the parking brake on. Can you tell me how to disable them? There must be a wire that could be cut somewhere.
Apr 13, 2018 at 4:23 PM
Avatar
REX STERLING
  • MEMBER
  • 21 POSTS
Also you can buy a DRL module for a 2003 Crown Victoria but nothing is listed for a 2003 Grande Marquis.
Apr 13, 2018 at 4:27 PM
Avatar
STEVE W.
  • CAR REPAIR CONTRIBUTOR
  • 15,148 POSTS
It sounds like your car has the automatic lamps option not DRL's. The DRL system uses a pulsing voltage to turn the lights on at a lower power setting than the normal lights. As you say there is no change it looks like you have the auto option.

That switch should have four positions, Fully counterclockwise - Auto, one click clockwise = off, second click = parking lamps and finally headlamps at the full clockwise position.
Apr 13, 2018 at 5:52 PM
Avatar
REX STERLING
  • MEMBER
  • 21 POSTS
Yes, that is the switch that I have. The head and tail lights both come on after dark when the switch is on auto, as they should. But my headlights stay on all of the time even when it is light out and the switch is on the off position (but the tail lights do not come on then). That is why I think it is a DRL problem. If I have to I will interrupt the low beam fuses with a toggle switch because I do not want my lights on all of the time. I am hoping that there is an easier way. Any ideas? Thanks for all of your time and effort.
Apr 13, 2018 at 10:00 PM
Avatar
ASEMASTER6371
  • CAR REPAIR CONTRIBUTOR
  • 52,796 POSTS
good morning.

the DRL cannot be disabled in the light control module. even with the IDS tool, there is no option.

They do list DRL with this model. but the part is obsolete as well. that is if you had DRL system. if the module is not where I showed you, it does not have it. this issue would be around the light control module for the automatic light system.

you can use a toggle switch for the headlamp controls but you need to make sure the circuit is protested since you will be altering from original wiring.

Can I ask why you are so intent on disabling the lights for operation during the day?

Roy
Apr 14, 2018 at 4:16 AM
Avatar
REX STERLING
  • MEMBER
  • 21 POSTS
Because they are always on at full dims. They are on when I try to start the car and when on accessory mode. If they worked right I would not want to disable them. But I want to be able to turn them off when I want to. Would you like someone shining their headlights in your rear window if you were at a drive in theater or watching fireworks etc? Yes, we still have a drive in here, lol. If I have to I will hook up a toggle switch with fused protection off from the fuse box inside the car, (using fuse taps off the left and right low beams, in line fuses and a dpst toggle switch on the dash. Thanks again for your help.
Apr 14, 2018 at 12:29 PM
Avatar
REX STERLING
  • MEMBER
  • 21 POSTS
I also like to listen to the radio when parked without having my headlights on.
Apr 14, 2018 at 12:32 PM
Avatar
ASEMASTER6371
  • CAR REPAIR CONTRIBUTOR
  • 52,796 POSTS
Okay, thanks. On my Grand Marquis, I was able to turn the headlights off on the automatic mode by turning the switch off two times. that disabled them.

if that does not work. you could put a toggle switch in the line for the beams and turn them off when you do not want them lit.

Roy
Apr 14, 2018 at 1:13 PM
Avatar
REX STERLING
  • MEMBER
  • 21 POSTS
I will probably end up having to put in a toggle switch.
Apr 14, 2018 at 4:51 PM
Avatar
ASEMASTER6371
  • CAR REPAIR CONTRIBUTOR
  • 52,796 POSTS
sounds like a plan

Roy
Apr 14, 2018 at 5:38 PM
Avatar
STEVE W.
  • CAR REPAIR CONTRIBUTOR
  • 15,148 POSTS
This is supposed to be the wiring for that car with auto headlamps. It does show a DRL module but not like the Crown Victoria has.
I wonder if the issue is not a bad lighting control module itself. It basically uses voltage signals from the switch to turn on the lights. It would be easy for a component to fail and stay on, especially a safety item like lights.

A dealer level scan tool can talk to the LCM and can test its functions as well as check it for error codes, it can generate a lot of them to do with lighting and other items as well. It would not be the first odd GEM failure mode.

It is also possible it is a wiring problem, The DRL module could have broken free and be stuck in the rad support with shorted wires. Or the wiring from the light switch to the LCM could be triggering it to stay on.
Just a couple items to consider.
Apr 14, 2018 at 5:40 PM
Avatar
REX STERLING
  • MEMBER
  • 21 POSTS
Can anyone tell me where the Automatic Headlight Relay is located? Does it attach directly to the LCM, (or is it under the hood)? The dealer just replaced the LCM .
Apr 15, 2018 at 6:35 PM
Avatar
STEVE W.
  • CAR REPAIR CONTRIBUTOR
  • 15,148 POSTS
It is part of the LCM. The non automatic headlights use a different switch and control circuitry, shown in the picture. Did they find something wrong with the LCM or?
Apr 15, 2018 at 7:35 PM
Avatar
REX STERLING
  • MEMBER
  • 21 POSTS
All of the parts stores show an Automatic Headlight Relay for the car. https://www.carid.com/standard/automatic-headlight-control-relay-mpn-ry-303.html
Apr 15, 2018 at 8:54 PM
Avatar
REX STERLING
  • MEMBER
  • 21 POSTS
They replaced the LCM under a recall. I did not have any brights until they replaced it.
Apr 16, 2018 at 12:02 AM
Avatar
STEVE W.
  • CAR REPAIR CONTRIBUTOR
  • 15,148 POSTS
The relay they reference is for a DRL equipped model. Yours has autolamps but no DRL so the control relays are part of the LCM, unless there is a DRL unit wired in someplace else or a jumper wire to power up the headlights when you start the engine.
Apr 20, 2018 at 7:31 PM
Avatar
REX STERLING
  • MEMBER
  • 21 POSTS
Yes I do have auto-lamps, but my lights should not stay on all of the time. They stay on even when the light switch is in the off position, and also when the key is is the accessory position. I am more confused than ever now. I removed the low beam fuses (fuses 24 and 26) and still had the passenger side headlight on rather dimly ( like the DTR lights are supposed to be) any time the key is not in the off position. I still could turn on my high beams. Then i also took out fuse #27 (LCM for cornering lamps and high beams). The left passenger headlight still stayed on dimly, but had no high beams. Very confusing.
Apr 20, 2018 at 11:57 PM
Avatar
STEVE W.
  • CAR REPAIR CONTRIBUTOR
  • 15,148 POSTS
Did you buy this car new? Was it doing this before they replaced the LCM?
Apr 21, 2018 at 12:45 AM
Avatar
REX STERLING
  • MEMBER
  • 21 POSTS
I just purchased the car and yes it had the problem of not being able to turn off the lights before and after the LCM was replaced. Replacing the LCM did give me high beams though. Before that I could only flash them. Thanks.
Apr 21, 2018 at 9:24 PM
Avatar
STEVE W.
  • CAR REPAIR CONTRIBUTOR
  • 15,148 POSTS
Okay, then it is more than likely something added on. Do the lights come on if you just turn the ignition on? Do they go out when you turn the key to start it, then come back on?
It does not take much to do that, you just use a wire from a switched power feed, a relay and a wire feeding the headlights. The trick will be to find it.
Apr 22, 2018 at 5:39 PM
Avatar
REX STERLING
  • MEMBER
  • 21 POSTS
Yes the lights come on as soon as the key is in any position except off. (ON or ACC). They stay on all of the time until the Ignition is put into the off position. They stay on when the car is starting, when it is just sitting in park even with the parking brake on. The only way to turn them off is by turning off the ignition. I tried removing the two low beam fuses and then I only had the passenger side headlight on at a lower output (like a DTR light should be) all of the time. Removing the high beam/cornering light fuse made no difference. It is really confusing.
Apr 23, 2018 at 8:27 PM
Avatar
STEVE W.
  • CAR REPAIR CONTRIBUTOR
  • 15,148 POSTS
I was reading the recall on this. You had this issue before they replaced the LCM. The recall was because the LCM would fail resulting in no lights. I wonder if the previous owner had the unit fail and added a wire to turn the low beams on because the LCM was deemed too expensive or possibly the parts were not available? That would explain not having the high beams working as the LCM failure only shut off the headlights, the rest of the system still worked.

If you switch the lights on with the light switch do the high and low beams switch correctly or do the low beams still stay on when you select the high beams?
When you turn on the key it is only the low beam lights that come on correct, or can you switch low/high?

I attached a different version of the wiring diagram and the LCM circuit.
We will figure this out.
Apr 24, 2018 at 12:57 PM
Avatar
REX STERLING
  • MEMBER
  • 21 POSTS
What you said in the first paragraph of your response makes a lot of sense to me. If I switch the lights on with a light switch the low beams come on but I can change them to high beams. When I turn the key on the low beams come on but I can switch them to high beams.

I cannot read the two wiring diagrams even when I put on the magnifier. I will search for any suspicious looking wires under the dash or the hood tomorrow that could have been added. Thank you very much.
Apr 24, 2018 at 6:59 PM
Avatar
REX STERLING
  • MEMBER
  • 21 POSTS
I figured out a way to make the diagrams readable. It might help me find any added wires.
Apr 24, 2018 at 7:51 PM
Avatar
STEVE W.
  • CAR REPAIR CONTRIBUTOR
  • 15,148 POSTS
I have seen things like that on different vehicles, some item fails and gets "repaired" in a way that drives the next guy crazy. The police option on that car eliminates the light sensor and turns on all of the lights as soon as the key goes to accessory or on.

On the diagram, if you right click it and select to open it in a different window it should come up with a zoom button to make it larger.
Apr 25, 2018 at 11:34 AM
Avatar
REX STERLING
  • MEMBER
  • 21 POSTS
Thank you Steve. My lights work fine now. I found the extra wire that the previous owner had run to the headlights and disconnected it (and protected the end of the jumper from shorting out). Your advice saved me a lot of misery and possibly expense. Once I found the wire, I felt silly that I had not seen it before. This problem was driving me nuts. Thanks again for all of your time and effort on this and for not just giving up. You are the best.
Apr 25, 2018 at 11:58 AM
Avatar
REX STERLING
  • MEMBER
  • 21 POSTS
PS: I do not have DRL's on this car, which is fine with me.
Apr 25, 2018 at 12:26 PM
Avatar
STEVE W.
  • CAR REPAIR CONTRIBUTOR
  • 15,148 POSTS
Great to hear you found it. You are welcome for whatever help I provided.
Thank you for using 2CarPros.com, return anytime with your automotive questions.
Apr 25, 2018 at 10:45 PM
Avatar
REX STERLING
  • MEMBER
  • 21 POSTS
Thanks. Your help was very beneficial. I am really glad that I discovered 2carpros.com.
Apr 25, 2018 at 11:13 PM
Avatar
STRAILER
  • CAR REPAIR CONTRIBUTOR
  • 54,215 POSTS
Steve W is one of our best!

Use 2CarPros anytime, we are here to help. Please tell a friend.

Cheers, Ken
Apr 28, 2018 at 10:34 AM
Avatar
BLOOMSAM
  • MEMBER
  • 1 POST
Day running light has it own personal module which is the DRL relay. This relay is trigger by the ECM module, but the beautiful thing is it can be disconnected. The DRL relay is locate under the dash both left and right side, also inside the gear selector house in some models. So you will need to loose the entire gear selector plastic housing beside the driver
Oct 21, 2019 at 2:04 PM
Avatar
STEVE W.
  • CAR REPAIR CONTRIBUTOR
  • 15,148 POSTS
Thank you for that information. In this case no DRL's on the vehicle.
Oct 21, 2019 at 10:15 PM