Friday, January 4th, 2019 AT 9:19 AM
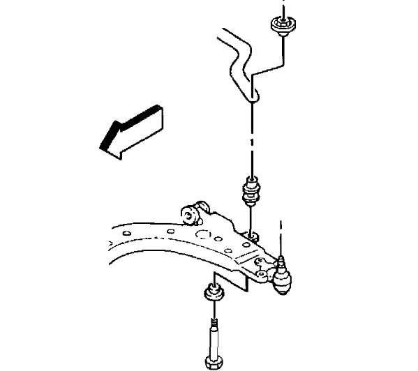
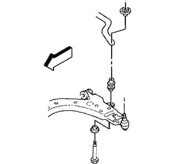
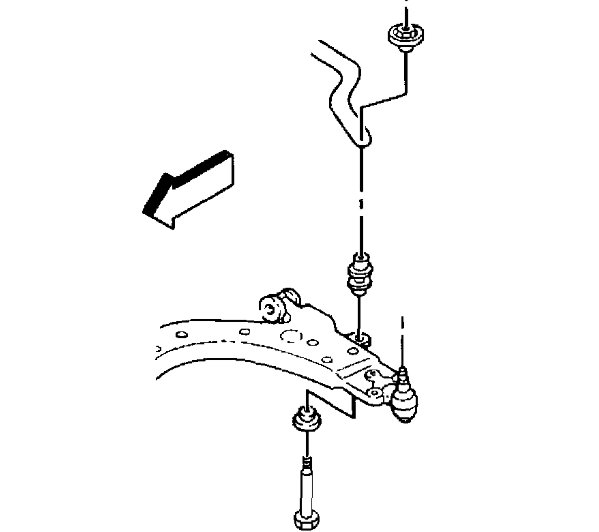
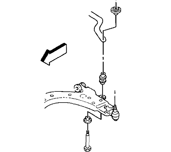
Started when I turn right feels like there's a clunk feel and sound and when I drive there's a slight wobble. Feels like in the faster I go feels the smoother it is. Also the vehicle pulls to the left problem is on the passenger front. Jack'd the car up to see if there was a slight wiggle and there is seems like the ball joint and CV joint are okay, but there is something that is snapped off on some like crossbar thing that connects to the control arm that is connected to both sides sway bar. Maybe but anyways the other side doesn't wiggle back forth. First I thought it might be CV joint then ball joint. But now it might be possibly a bearing. I did have them replaced at the beginning of the last year. What is your take on it?


