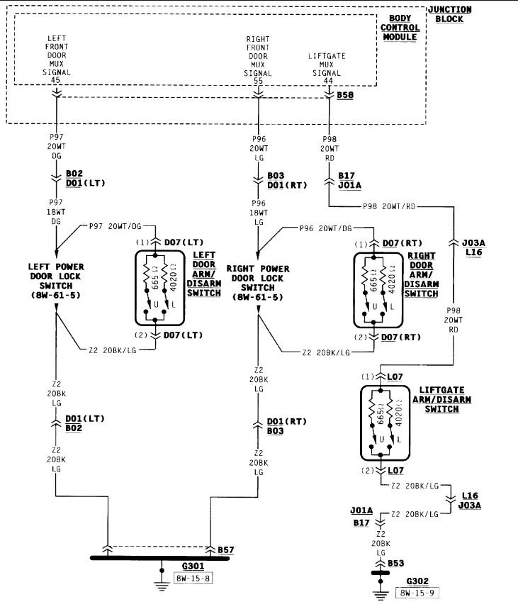
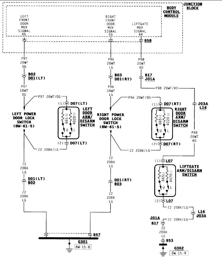
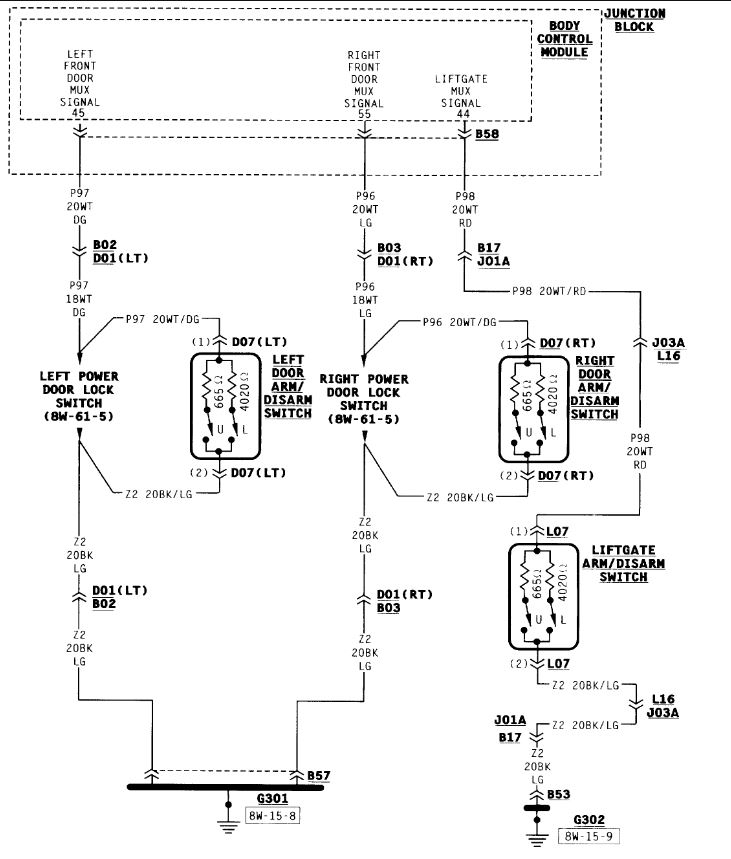
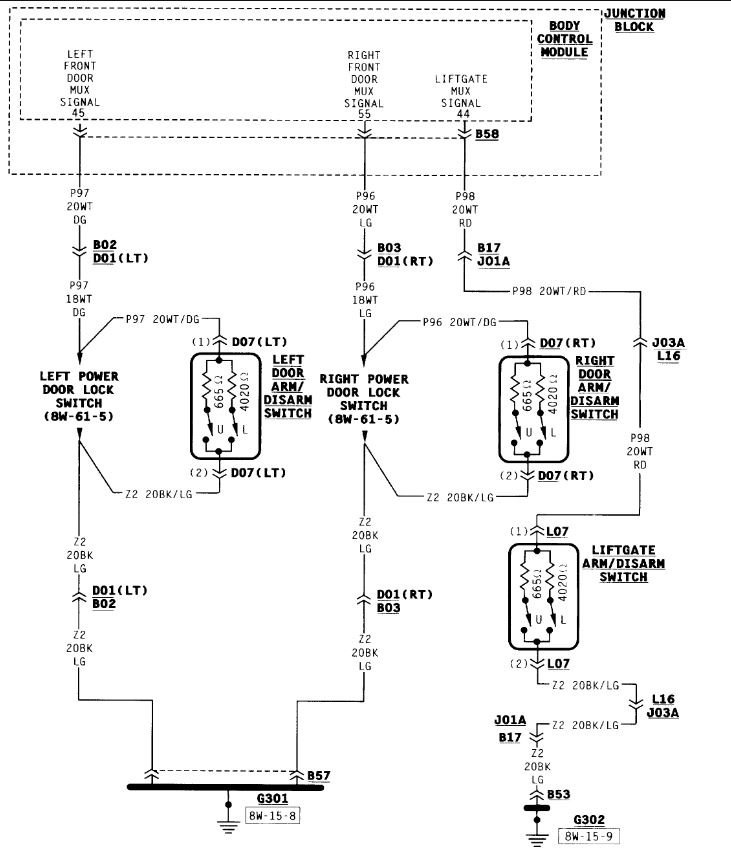
Tuesday, May 25th, 2021 AT 10:05 PM
I was recently evicted and was desperate for transportation and on a non existent budget. I found the van listed above and haggled them down to $340.00 delivered! I mentioned delivered because to me that proved without a shadow of a doubt that the van runs and drives. Upon arrival of the van there really was no inspection, I was happy to have a running vehicle. My only question to the seller was if I had the only keys and if it was a chipped key. I was told that I had the only key and that it was not a chipped key. Actually the key I had was cut by a locksmith from the key code that matched the van. That having to be done because the original key and OEM fob no longer existed. Being so busy and stressed (with everything I owned on the curb) I hoped in the van and fell asleep. The next day I loaded her up and took my first trip to storage. ĺ Stopped once on the way there and it was on my way back, (the 5th time starting the van) I hoped in turned the key only for the engine to start and quickly shut off and then to hear some clicking noise followed by the horn honking. I've since had it towed back to the street in front of my old apartment. I have tried everything I could find on Google and YouTube and still nothing! From what I know the immobilizer kicked on due to the alarm or something like that. I have just 1 un-chipped key and no fob. Please how do I turn this off so I can start and use my car again?


