Friday, August 31st, 2018 AT 5:54 PM
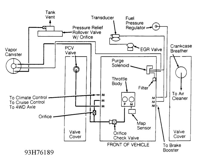
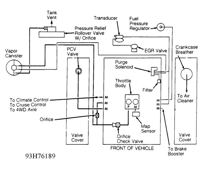
As of recently I have been going through everything on my motor was hooked up properly including the vacuum lines. Well, I got everything but the transmission vacuum line hooked up, when we did the clutch about a year ago it had one hooked up but we could not get the clamp off so we just cut it off and yanked it out. I know it exists I just cannot find the connection on the motor itself and none of the vacuum diagrams. I have looked at even say it exists but I know it is real because obviously the plug is still on the transmission.



