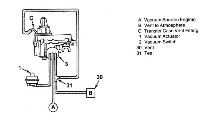
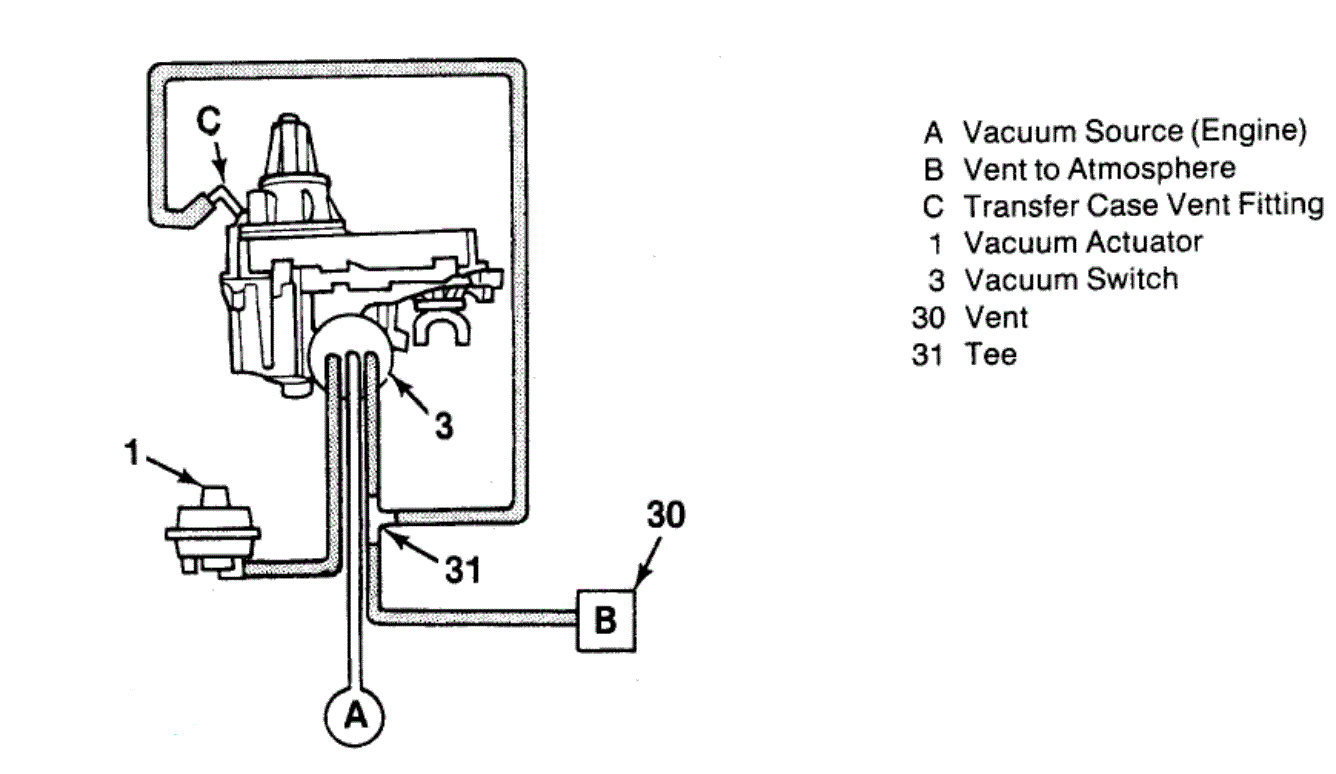
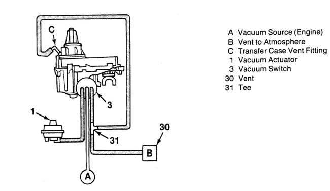
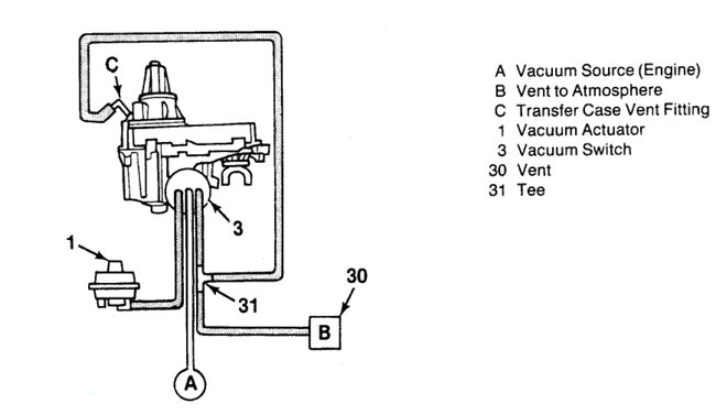
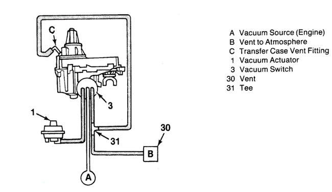
Diagram for 4-wheel drive under hood to the transfer case vacuum switch needed

Tiny
BRYNJA ULLRICH
  • MEMBER
  • 2003 CHEVROLET BLAZER
  • 4.3L
  • 6 CYL
  • 4WD
  • AUTOMATIC
  • 175,000 MILES
All vacuum lines were missing when I bought the car.
Sunday, November 28th, 2021 AT 1:20 PM

1 Reply

Tiny
JACOBANDNICKOLAS
  • MECHANIC
  • 110,192 POSTS
Hi,

Are there no vacuum hoses whatsoever? I'm surprised it was running. LOL Regardless, I attached vacuum schematics for the EVAP system and the 4wd system. For some reason, the 4wd schematic is somewhat vague.

Take a look through them and let me know if you have questions. I'll try my best to help from here.

I hope this helps.

Take care,

Joe

See pics below.
Was this
answer
helpful?
Yes
No
-1
Sunday, November 28th, 2021 AT 8:55 PM

Please login or register to post a reply.