Transmission wiring diagram needed please?

Tiny
MFITZGERALD
  • MEMBER
  • 1999 FORD F-250
  • 7.3L
  • 4WD
  • 200,000 MILES
Needing to replace my neutral safety switch wiring and check wiring for whole transmission.
Saturday, April 25th, 2020 AT 12:24 PM

17 Replies

Tiny
KASEKENNY
  • MECHANIC
  • 18,907 POSTS
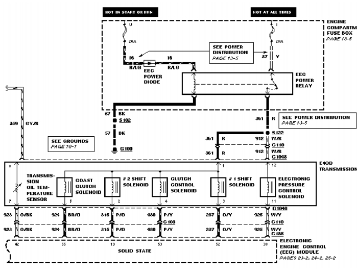
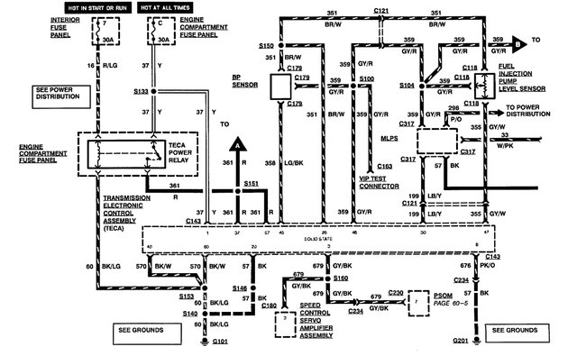
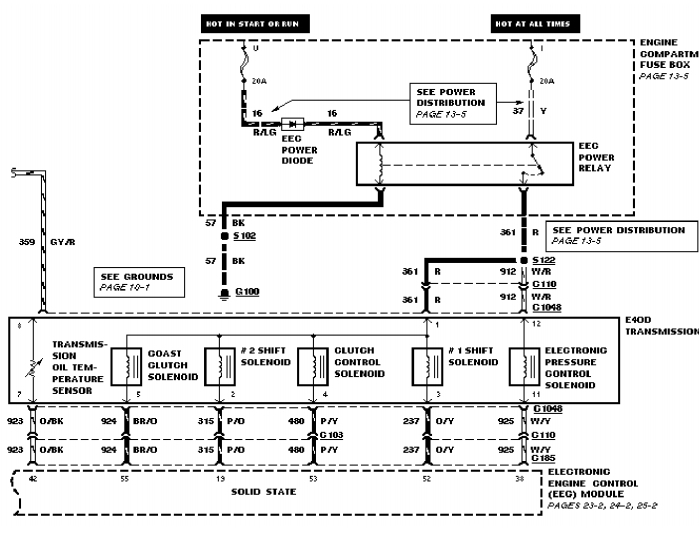
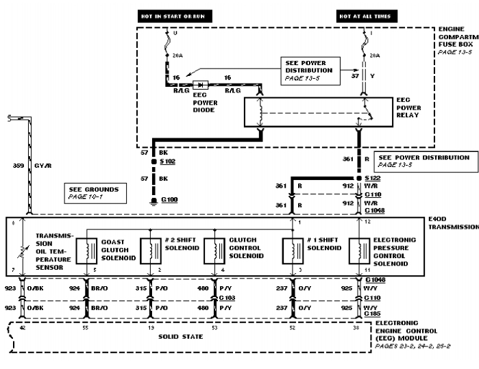
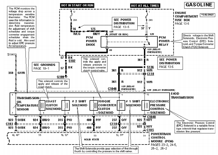
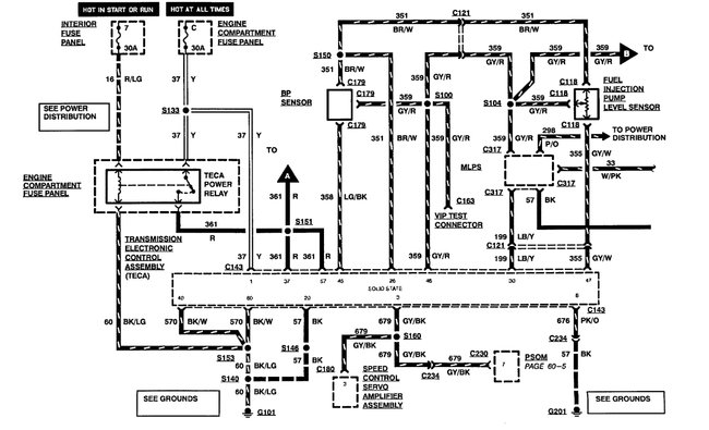
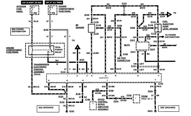
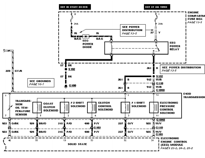
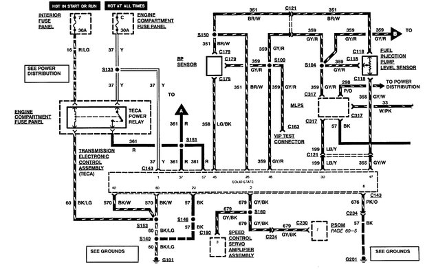
I attached the wiring diagrams from Ford on the transmission. Let me know if you need more info and we can get it for you. Thanks

FYI - The neutral safety switch on an automatic is called a digital transmission range sensor. Others call it a transmission position switch or just a range sensor.
Was this
answer
helpful?
Yes
No
-1
Saturday, April 25th, 2020 AT 12:53 PM
Tiny
FORDRIDINHIGH88
  • MEMBER
  • 1 POST
  • 1992 FORD F-250
  • 130,000 MILES
I have a 92 f-250 7.3L diesel and the wiring harness from the transmission somehow got wrapped around the axle and pulled some of the wires out of place. I can not find this particular wiring diagram anywhere is there any place that it can be located.

Thanks!
Was this
answer
helpful?
Yes
No
Monday, July 27th, 2020 AT 5:11 PM (Merged)
Tiny
HMAC300
  • MECHANIC
  • 48,601 POSTS
Hello,

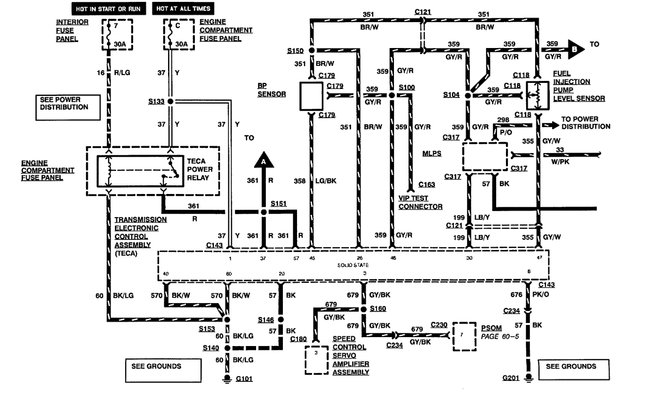
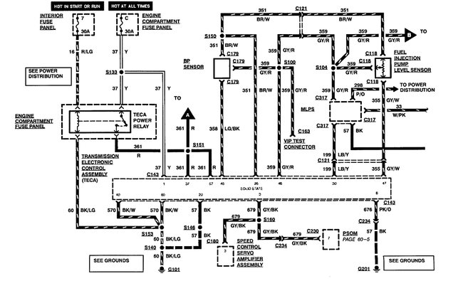
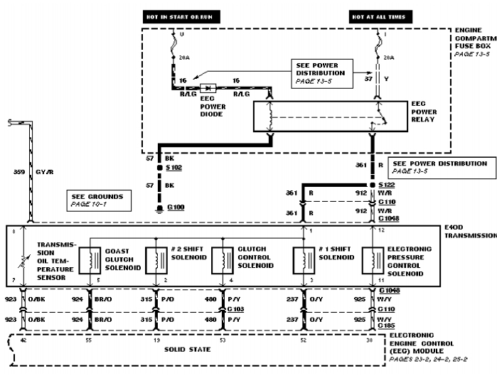
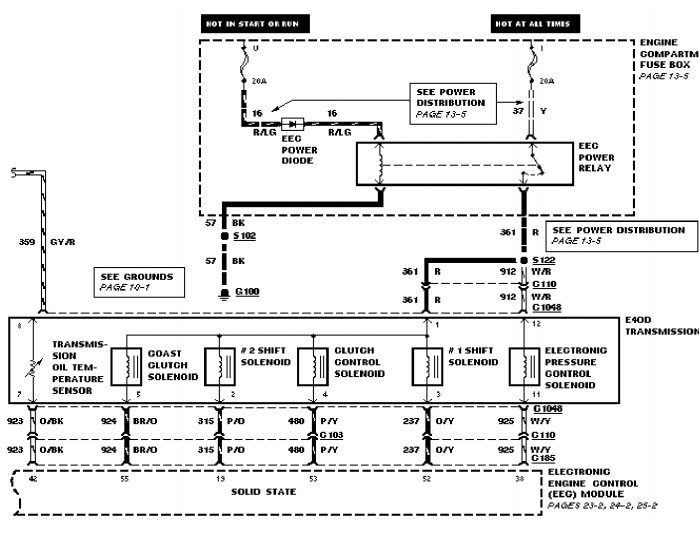
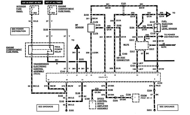
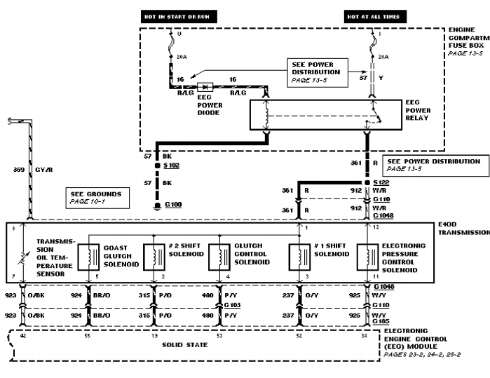
Here are the transmission wiring diagrams and a guide to help you test the connections.

https://www.2carpros.com/articles/how-to-check-wiring

Check out the diagrams (Below). Please let us know if you need anything else to get the problem fixed.
Was this
answer
helpful?
Yes
No
+4
Monday, July 27th, 2020 AT 5:11 PM (Merged)
Tiny
J.STIEG
  • MEMBER
  • 361 POSTS
  • 1992 FORD F-250
  • 175,000 MILES
I am having some problems with my 92 ford truck I just put a transmission in it from a 94. I think the torque convertor lockes up right after I put it in gear. Connectors fit but looked different. Diagrams would help. Thanks!
Was this
answer
helpful?
Yes
No
Monday, July 27th, 2020 AT 5:11 PM (Merged)
Tiny
FIXITMR
  • MECHANIC
  • 9,990 POSTS
Do wire colors in plugs match?
Was this
answer
helpful?
Yes
No
-1
Monday, July 27th, 2020 AT 5:11 PM (Merged)
Tiny
J.STIEG
  • MEMBER
  • 361 POSTS
There are only wires on one side.
Was this
answer
helpful?
Yes
No
Monday, July 27th, 2020 AT 5:11 PM (Merged)
Tiny
FIXITMR
  • MECHANIC
  • 9,990 POSTS
And did you do any research as to interchangability before the swap?
Was this
answer
helpful?
Yes
No
Monday, July 27th, 2020 AT 5:11 PM (Merged)
Tiny
FIXITMR
  • MECHANIC
  • 9,990 POSTS
What motor is in it. It's 2 or 4wd?
Was this
answer
helpful?
Yes
No
-2
Monday, July 27th, 2020 AT 5:11 PM (Merged)
Tiny
J.STIEG
  • MEMBER
  • 361 POSTS
The salvage yard matched it up for me. It has a 5.0l engine. Maybe the range sensor is messed up or the wrong one.

I just need a diagram so I can see what I have. Can you help?
Was this
answer
helpful?
Yes
No
+1
Monday, July 27th, 2020 AT 5:11 PM (Merged)
Tiny
J.STIEG
  • MEMBER
  • 361 POSTS
4wd as well.
Was this
answer
helpful?
Yes
No
Monday, July 27th, 2020 AT 5:11 PM (Merged)
Tiny
FIXITMR
  • MECHANIC
  • 9,990 POSTS
Did you consider switching range sensors?
Was this
answer
helpful?
Yes
No
+1
Monday, July 27th, 2020 AT 5:11 PM (Merged)
Tiny
J.STIEG
  • MEMBER
  • 361 POSTS
Yes, I will call the salvage yard tomorrow to see if they still have it. The truck will barely take off
Was this
answer
helpful?
Yes
No
Monday, July 27th, 2020 AT 5:11 PM (Merged)
Tiny
FIXITMR
  • MECHANIC
  • 9,990 POSTS
Does this help?
Was this
answer
helpful?
Yes
No
-1
Monday, July 27th, 2020 AT 5:11 PM (Merged)
Tiny
FIXITMR
  • MECHANIC
  • 9,990 POSTS
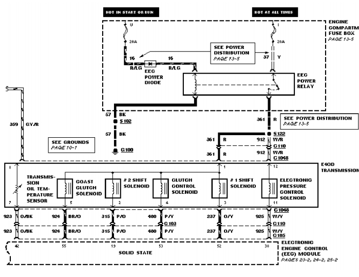
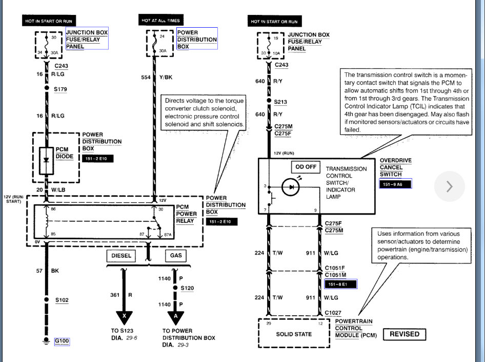
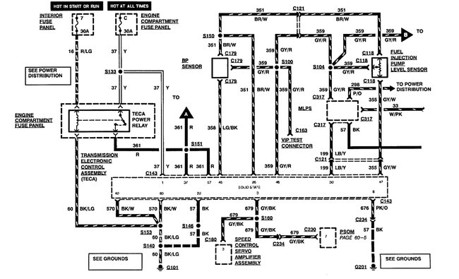
That was 94 schematic, here is 92.
Was this
answer
helpful?
Yes
No
+1
Monday, July 27th, 2020 AT 5:11 PM (Merged)
Tiny
J.STIEG
  • MEMBER
  • 361 POSTS
I found out whats going on but not shure whats causing it. The engine is only running on 4 cylinders at times. The computers ground pulse is cutting out on cylinders 2, 3, 6, and 7. This is all happened when I put the transmission in. Truck runs bad now, Any ideas to further troubleshoot this problem?
Was this
answer
helpful?
Yes
No
Monday, July 27th, 2020 AT 5:11 PM (Merged)
Tiny
J.STIEG
  • MEMBER
  • 361 POSTS
I forgot to mention that it was the fuel injectors that are not being driven by computer.
Was this
answer
helpful?
Yes
No
Monday, July 27th, 2020 AT 5:11 PM (Merged)
Tiny
FIXITMR
  • MECHANIC
  • 9,990 POSTS
Those cylinders are ground bank #2 from computer the other 4 cylinders are bank 1. Check output right at computer pin 69 (white wire) next to it is pin 68 (tan wire bank #1) if good wiring/connections are suspect.
Was this
answer
helpful?
Yes
No
Monday, July 27th, 2020 AT 5:11 PM (Merged)

Please login or register to post a reply.