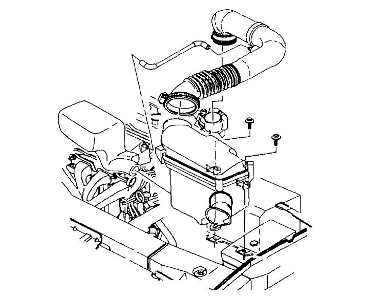
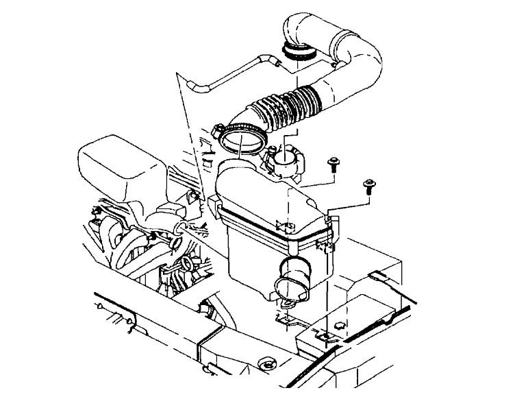
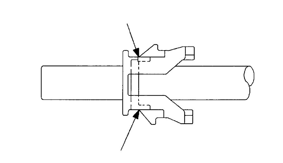
Thursday, May 16th, 2019 AT 6:12 AM
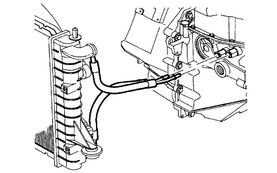
My transmission is leaking. Assumed it was the spin on filter so I replaced it leaking more than before. Also, had two episodes of reverse slam. Seems to shift other gears fine but sometimes hesitates if using passing gear. Your thoughts?




