Timing belt replacement and crankshaft oil seal

Tiny
JCLEMO
  • MEMBER
  • 2000 KIA SPORTAGE
  • 2.0L
  • 4 CYL
  • 2WD
  • AUTOMATIC
  • 147,000 MILES
I have taken my timing cover off my vehicle to check out the belt.
The belt looks pretty good to me considering the 147,000 miles it's got.
I'm a little puzzled on how this works considering the amount of tension and how you can calculate tension on the belt. I realize it has an idler and a tenitioner pulley. But I read somewhere you have to have like.30 downward tention on the belt. I don't get it?

Please try and explain. And the other issue is the water pump the housing looks new. And the belt says it's a Kia belt but surely this has been changed at some point. It would be nice if mechanics would put a date on the belt when changing. Anyway my other question of concern is where is the front crankshaft seal hidden? I'm going to replace everything being I have gone this far. Please explain the timing procedure and do I or do I not need to remove the two cam gears? Thanks, Jack
Thursday, March 28th, 2019 AT 4:28 PM

3 Replies

Tiny
JACOBANDNICKOLAS
  • MECHANIC
  • 110,192 POSTS
Welcome to 2CarPros.

The belt tension is measured by resistance. Basically, a scale is used to apply pressure on the belt and it must meet a prescribed tension before the belt move beyond a certain measurement.

Here are the directions for replacing the timing belt. The belt should be inspected every 60,000 miles and the recommended replacement is at 105 regardless of condition. The attached pictures correlate with these directions.

____________________________________________

REMOVAL
1. Disconnect the negative battery cable.
2. Remove the two fresh air duct mounting bolts on the radiator.
3. Loosen the fresh air duct clamp at the intake housing.
4. Remove the hose at the resonance chamber.

Picture 1

5. Remove the fresh air duct.

Picture 2

6. Remove the five cooling fan shroud bolts.
7. Remove the four thermo-modulated fan nuts.

Picture 3

8. Remove the thermo-modulated fan and cooling fan shroud at the same time.

Picture 4

9. Loosen the two generator mounting bolts (A and B).
10. Loosen the generator drive belt from the generator by loosening the adjusting bolt (c).
11. Remove the generator drive belt.
12. Remove the fan pulley.

Picture 5

13. Remove the four splash guard mounting bolts and splash Guard.

Picture 6

14. Loosen the A/C idler pulley nut (A).
15. Remove the A/C drive belt by loosening the adjusting bolt.

Picture 7

16. Loosen the power steering pump lock bolt and mounting bolt.
17. Remove the power steering belt.
18. Remove five bolts and the upper timing belt cover.
19. Remove two bolts and the lower timing cover.

Picture 8

20. Loosen the tensioner lock bolt and pivot the tensioner pulley outward to remove the tension from the timing belt, then re-tighten the tensioner lock bolt.

Tightening Torque: 27 - 38 ft. Lbs. (37 - 52 Nm)

21. Mark the timing belt rotation for proper reinstallation if it is reused.

Picture 9

22. Remove the timing belt.

CAUTION: Be careful not to allow oil or grease on the belt.

INSTALLATION

Picture 10

1. Align the timing belt pulley and the pump body alignment marks.

Picture 11

2. Align the mating marks on the camshaft pulleys with the alignment marks on the seal plate.

NOTICE:
- For intake side camshaft pulley, align I mark.
- For exhaust side camshaft pulley, align E mark.

Picture 12

3. Install the timing belt so that there is no looseness at the tension side, and at the two camshaft pulleys.

CAUTION:
- If the timing belt is being reused, it must be reinstalled to rotate in the original direction.
- Check that there is no oil, grease, or dirt on the timing belt

4. Loosen the tensioner lock bolt.
5. Turn the crankshaft two complete revolutions in the direction of rotation.
6. Check that the mating marks are correctly aligned. If not aligned correctly, remove the timing belt and tensioner, and return to step 1.

Picture 13

7. Turn the crankshaft to align the S mark of the exhaust camshaft pulley with the seal plate mating mark.
8. Tighten the timing belt tensioner lock bolt.

Tightening torque: 27 - 38 ft. Lbs. (37 - 52 Nm, 3.8 - 5.3 kg-m)

Picture 14

9. Check the timing belt deflection. If the deflection is not correct, loosen the tensioner lock bolt and repeat steps 5-7 above. Replace the tensioner spring if necessary.

Belt deflection: 0.30 - 0.33 inch (7.5 - 8.5 mm)/22 lbs. (98 N, 10 kg)

1O. Install the lower timing belt cover and two bolts.

Tightening torque: 61 - 87 inch lbs. (7 - 10 Nm)

11. Install the upper timing belt cover and five bolts.

Tightening torque: 61 - 87 inch lbs. (7 - 10 Nm)

12. Install the power steering drive belt and set belt deflection.

Power Steering Belt deflection:
New: 0.31 - 0.39 inch (8 - 10 mm)
Used 0.35 - 0.43 inch (9 - 11 mm)

Picture 15

13. Tighten the lock bolt (A) and mounting bolt (B).

Tightening torque: 27 - 34 ft. Lbs. (37 - 46 Nm)

14. Install the fan pulley.
15. Install the generator drive belt and adjust belt deflection by tightening adjusting bolt (c).

Generator Belt deflection:
New: 0.24 - 0.31 inch (6 - 8 mm)
Used: 0.27 - 0.35 inch (7 - 9 mm)

Picture 16

16. Tighten generator mounting bolts (A and B).

Tightening torque:
A: 16 ft. Lbs. (22 Nm)
B: 32 ft. Lbs. (45 Nm)

17. Install A/C drive belt and set belt deflection by tightening adjusting bolt (B).

A/C Belt deflection:
New: 0.27 - 0.35 inch (7 - 9 mm)
Used: 0.31 - 0.39 inch (8 - 10 mm)

Picture 17

18. Tighten the adjusting bolt (B) and idler pulley bolt (A).

Tightening torque: 23 - 25 ft. Lbs. (31 - 34 Nm)

19. Install the splash guard and tighten the four mounting bolts.
20. Install the fan and fan shroud.

Picture 18

21. Install the four fan bolts and tighten.

Tightening Torque: 24 ft. Lbs. (32.6 Nm)

Picture 19

22. Install the five fan shroud mounting bolts.

Tightening torque: 69 - 95 inch lbs. (7.8 - 11 Nm)

23. Install the fresh air duct.
24. Install the hose at the resonance chamber.
25. Install and tighten the clamp at the air intake housing.

Picture 20

26. Install the two fresh air duct mounting bolts and tighten.

Tightening torque: 69 - 95 inch lbs. (7.8 - 11 Nm)

27. Reconnect the negative battery cable.

_____________________________________________________
Here are the directions for the front crank seal. Pics attached correlate with these directions.

REMOVAL
1. Disconnect the negative battery cable.
2. Remove the four undercover bolts.
3. Remove the engine undercover.
4. Remove the timing belt.
5. Remove the timing belt pulley lock bolt.
6. Remove the timing belt pulley.

NOTICE: If necessary, remove the pulley with a steering wheel puller (commercially available).

7. Remove the pulley Woodruff key.
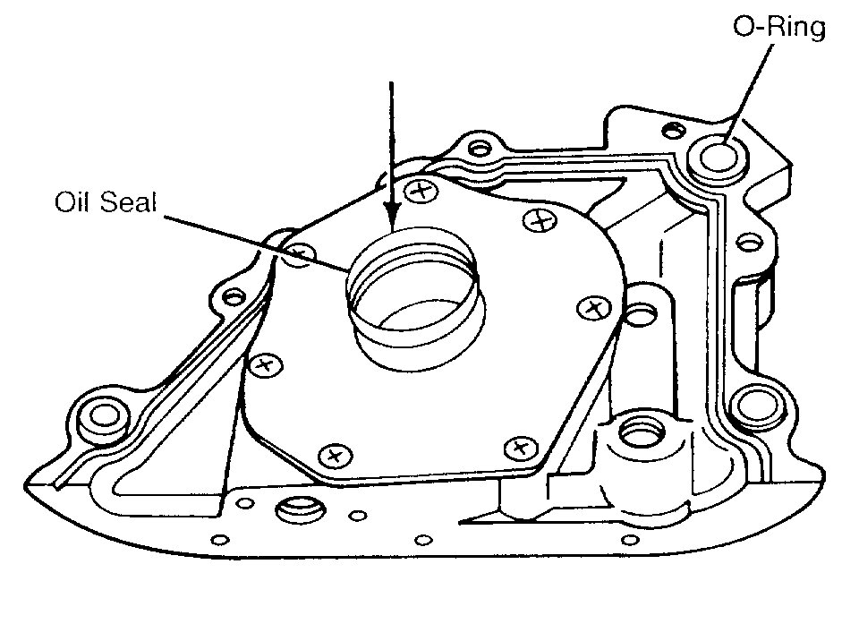
8. Cut the oil seal lip with a razor knife.

Picture 21

9. Remove the oil seal with a screwdriver protected with a shop rag.

INSTALLATION
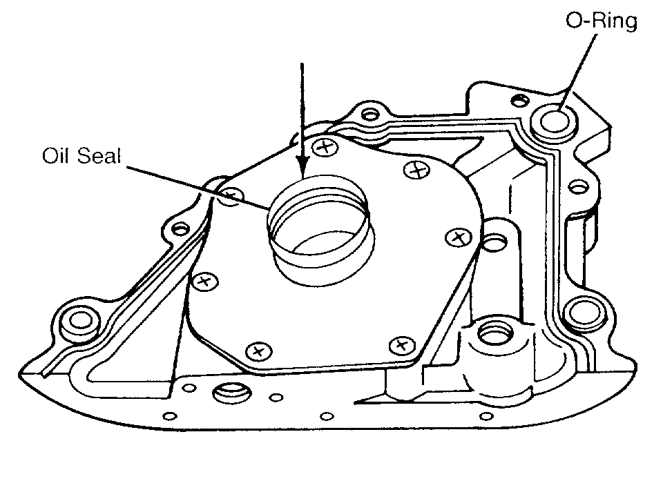
1. Apply a small amount of clean engine oil to the lip of a new oil seal.

Picture 22

2. Push the oil seal slightly in by hand.

NOTICE: The oil seal must be pressed in until it is flush with the edge of the oil pump body.

Picture 23

3. Install the oil seal into the oil pump body.
4. Install the timing belt pulley.
5. Install the pulley Woodruff key.
6. Install the pulley lock bolt.

Tighten the lock bolt to 116 - 123 ft. Lbs. (157 - 167 Nm)

7. Install the timing belt.
8. Install the undercover.
9. Install the four undercover bolts.

Tighten the four bolts to 18 ft. Lbs. (25 Nm)

10. Connect the negative battery cable.
11. Start the engine and check the ignition timing.

____________________

Let me know if this helps or if you have other questions.

Take care,
Joe
Was this
answer
helpful?
Yes
No
+1
Wednesday, April 7th, 2021 AT 1:45 PM
Tiny
JCLEMO
  • MEMBER
  • 161 POSTS
Thanks Joe the photos are priceless.
I'm still not sure about how to gauge the tension on the belt. How are you to
Know if your at the recommended tension of 0.30 +? I will be replacing the old belt so I'm assuming there is no particular direction to install the new belt. Correct? And the engine should rotate in a counter clockwise direction right? Thanks. Jack
Was this
answer
helpful?
Yes
No
Wednesday, April 7th, 2021 AT 1:45 PM
Tiny
JACOBANDNICKOLAS
  • MECHANIC
  • 110,192 POSTS
Welcome back:

I'm glad it's helpful. As far as belt tension, as long as the tensioner is working, you have nothing to worry about. I will say that 90% of the time, if a tensioner fails, it's all at once or happens very quickly. To actually determine tension, they have a scale. Don't laugh, but they always reminded me of the type of scale you would use to weigh fish. LOL With that, you would attach the scale to a section of belt and see how much resistance there is before the belt reaches a predetermined distance (for example, 3/4).

When you are ready to start, let me know. I'll be happy to help you through it. Also, (please don't quote me) but for some reason, I am remembering the engine to turn in a clockwise direction. I will try to find out. Otherwise, once the timing belt cover is off, just bump the starter to see what direction it turns. That isn't something that is normally listed in the manuals. Also, I do recommend replacing the tensioner and idler pulley. You don't want to have to take it apart again in a month.

Let me know when you get started.

Take care,
Joe
Was this
answer
helpful?
Yes
No
+1
Wednesday, April 7th, 2021 AT 1:45 PM

Please login or register to post a reply.