Dash and taillights not working?

Tiny
YOLIEGUZMAN13
  • MEMBER
  • 2001 CHEVROLET IMPALA
  • 137 MILES
I checked all the fuses, and they are good. I don't know what else to do.
Thursday, September 8th, 2022 AT 12:25 PM

1 Reply

Tiny
KEN L
  • MASTER CERTIFIED MECHANIC
  • 55,335 POSTS
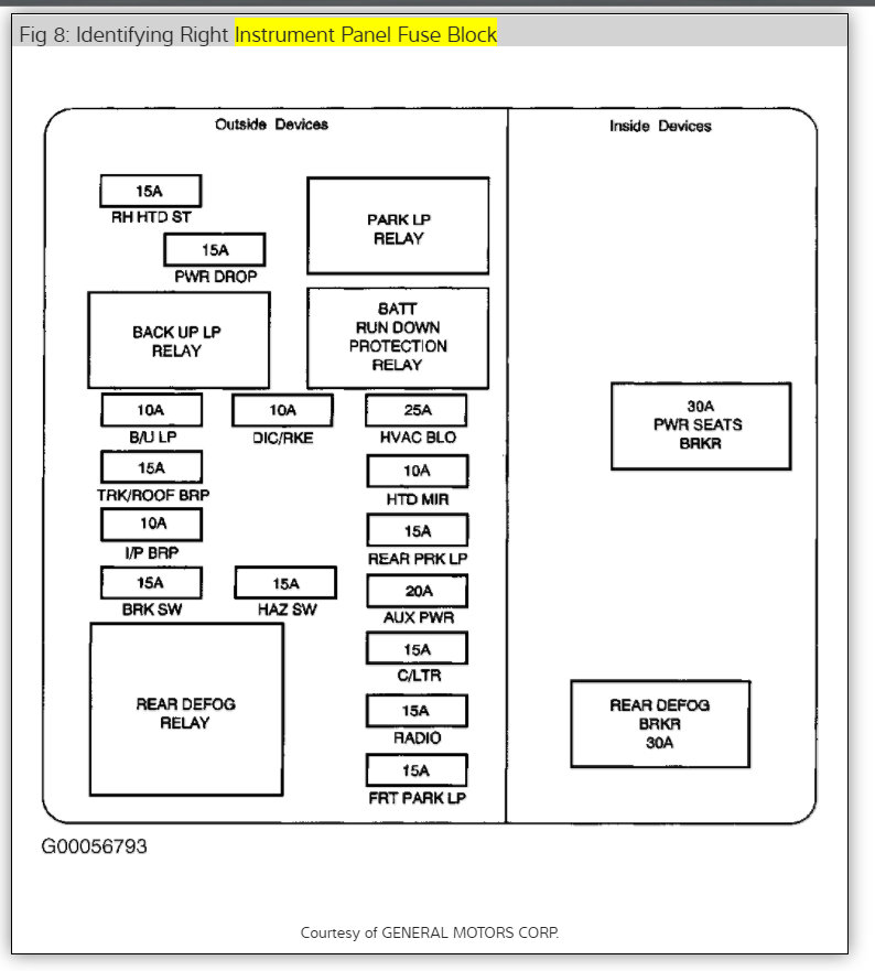
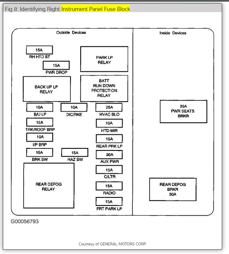
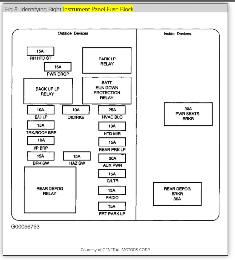
There is a parking lamp relay int he right side fuse panel that needs to be changed out. Here is the location so you can fix the problem and I have included the taillight wiring diagrams so you can see how the system works. Check out the images (below). Please let us know if you need anything else to get the problem fixed.
Was this
answer
helpful?
Yes
No
Friday, September 9th, 2022 AT 11:57 AM

Please login or register to post a reply.