HOME
ASK A QUESTION
REPAIR GUIDES
BECOME A MEMBER
LOG IN
Login with Facebook
OR
Remember me
NOT A MEMBER?
FORGOT PASSWORD?
CONTACT US
PRIVACY POLICY
TERMS AND CONDITIONS
☰
Home
Chevrolet
Camaro
Engine
Starter
Starter
STEVENST
MEMBER
1995 CHEVROLET CAMARO
3.8L
6 CYL
2WD
AUTOMATIC
140,000 MILES
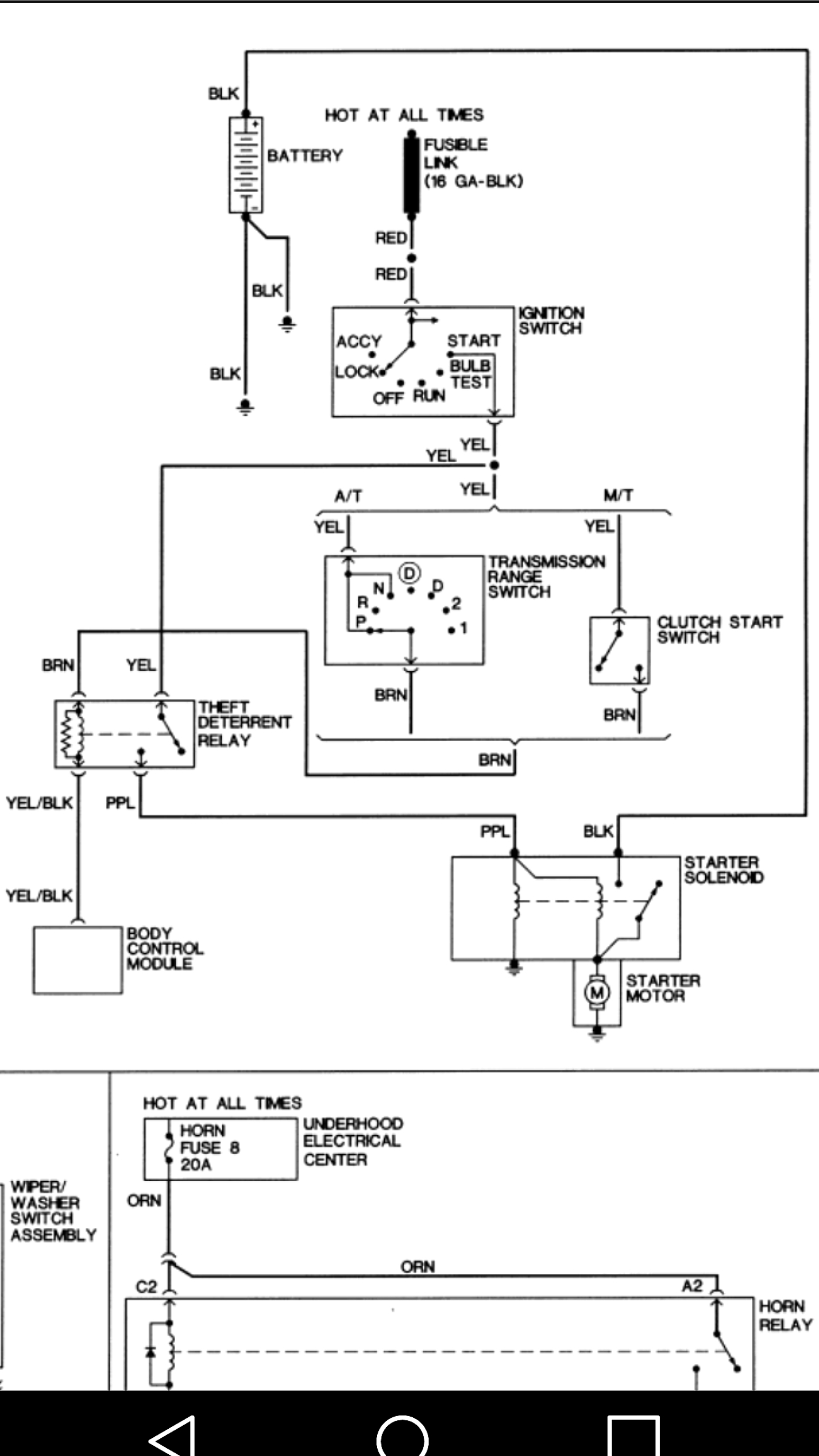
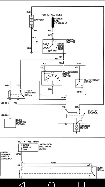
Please tell me where the leads which connecy to the starter are coming from. Thank you.
Tuesday, January 12th, 2016 AT 5:57 PM
3 Replies
PACO8224
MECHANIC
117 POSTS
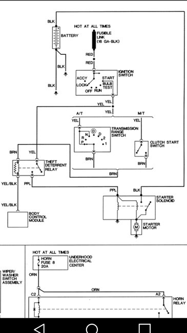
Maybe this image can help you.
Image (Click to make bigger)
Was this
answer
helpful?
Yes
No
Tuesday, January 12th, 2016 AT 6:32 PM
STEVENST
MEMBER
2 POSTS
Is the black lead attached to the positive battery post? Thank you for your prompt answer!
Was this
answer
helpful?
Yes
No
Wednesday, January 13th, 2016 AT 2:50 AM
PACO8224
MECHANIC
117 POSTS
No ground goes straight to negative post on battery and your welcome
Was this
answer
helpful?
Yes
No
Wednesday, January 13th, 2016 AT 5:06 AM
Please
login
or
register
to post a reply.
Related Starter Content
1992 Chevy Camaro Starter Concerns
Electrical Problem 1992 Chevy Camaro V8 Two Wheel Drive Automatic Ok I Have A High Torque Starter Or Mini Starter. I Heard The...
Asked by
TMG03YOTA
·
3 ANSWERS
1992
CHEVROLET CAMARO
GUIDE
Starter
An engine starter is constructed as a high torque, high amperage 12 volt motor fitted with an electrical solenoid and Bendix gear which is used to rotate an engine between...
What Will Happen If I Put A Stock Starter In A...
Im Concerned That The Starter Will Blow Teeth Off Of The Flywheel If I Put The Stock One In.
Asked by
jimcates
·
2 ANSWERS
1976
CHEVROLET CAMARO
1967 Chevy Camaro Starter Noisy When Hot
The Starter When Cold Starts Fine And Without Noise. After The Car Has Been Driven Any Length Of Time At All The Starter Will Spin Until It...
Asked by
DelGesu1776
·
1 ANSWER
1967
CHEVROLET CAMARO
1975 Chevy Camaro Starter
Engine Mechanical Problem 1975 Chevy Camaro V8 Two Wheel Drive Automatic Just Put In A New Starter, Used The Shims In Each And...
Asked by
rthroop
·
1 ANSWER
1975
CHEVROLET CAMARO
1994 Chevy Camaro Starter
Engine Mechanical Problem 1994 Chevy Camaro V8 Two Wheel Drive Automatic Why Does My Starter Housing Keep Braking Everytime I Try 2...
Asked by
shonnethurmond
·
1 ANSWER
1994
CHEVROLET CAMARO
VIEW MORE
Ask a Car Question. It's Free!
Starter Motor Replacement
Starter Replacement
Starter Motor Replacement