Soft brake pedal

Tiny
KATHMIKE02
  • MEMBER
  • 2000 FORD F-150
  • 5.4L
  • V8
  • 4WD
  • AUTOMATIC
  • 150,000 MILES
Had blown rear brake line. Replaced lines and block on calipers. Bled the brakes quite a few times and get a soft pedal when you start the truck. You will have a good pedal when the truck is off.
Tuesday, August 13th, 2019 AT 6:04 PM

1 Reply

Tiny
JACOBANDNICKOLAS
  • MECHANIC
  • 110,194 POSTS
Welcome to 2CarPros.

If you apply steady pressure to the brake pedal, does will it slowly go to the floor? Did the brake pedal go to the floor when the line broke?

If yes, my first suspect is the master cylinder is internally damaged. What sometimes happens is the plungers are moved beyond their normal travel when the brake pedal goes to the floor and are damaged by dirt and corrosion. The result is fluid bypass. Basically, you end up with a soft pedal or one that goes slowly to the floor. Check that for me and see if it happens.

If you find it does, take a look through this link:

https://www.2carpros.com/articles/brake-pedal-goes-to-the-floor

Also, here are the directions specific to your vehicle for bleeding the brakes. The attached pictures correlate with the directions.

_____________________________________

2000 Ford Truck F 150 4WD Pickup V8-5.4L SOHC VIN L
Brake System Manual Bleeding
Vehicle Brakes and Traction Control Hydraulic System Brake Bleeding Service and Repair Procedures Brake System Manual Bleeding
BRAKE SYSTEM MANUAL BLEEDING
WARNING: Use of any other than approved DOT 3 brake fluid will cause permanent damage to brake components and will render the brakes inoperative.

WARNING: Brake fluid contains polyglycol ethers and polyglycols. Avoid contact with eyes. Wash hands thoroughly after handling. If brake fluid contacts eyes, flush eyes with running water for 15 minutes. Get medical attention if irritation persists. If taken internally, drink water and induce vomiting. Get medical attention immediately.

CAUTION: Do not allow the brake master cylinder reservoir to run dry during the bleeding operation. Keep the brake master cylinder reservoir filled with the specified brake fluid. Never reuse the brake fluid that has been drained from the hydraulic system.

CAUTION: Brake fluid is harmful to painted and plastic surfaces. If brake fluid is spilled onto a painted or plastic surface, immediately wash it with water.

Note: When any part of the hydraulic system has been disconnected for repair or installation of new components, air can get into the system and cause spongy brake pedal action. This requires bleeding of the hydraulic system after it has been correctly connected. The hydraulic system can be bled manually or with pressure bleeding equipment.

1. Connect the scan tool DCL cable adapter into the vehicle data link connector (DLC) under the dash and follow the scan tool instructions.

pic 1

2. Clean all dirt from and remove the brake master cylinder filler cap and fill the brake master cylinder reservoir with the specified brake fluid.

pic 2

3. Place a box end wrench on the RH rear bleeder screw. Attach a rubber drain tube to the RH rear bleeder screw and submerge the free end of the tube in a container partially filled with clean brake fluid.
4. Have an assistant hold firm pressure on the brake pedal.
5. Loosen the RH rear bleeder screw until a stream of brake fluid comes out. While the assistant maintains pressure on the brake pedal, tighten the RH rear bleeder screw.
Repeat until clear, bubble-free fluid comes out.
Refill the brake master cylinder reservoir as necessary.

pic 3

6. Tighten the RH rear bleeder screw.
7. Repeat Steps 3, 4, 5 and 6 for the LH rear bleeder screw.

pic 4

8. Place a box end wrench on the RH front disc brake caliper bleeder screw. Attach a rubber drain tube to the RH front disc brake caliper bleeder screw, and submerge the free end of the tube in a container partially filled with clean brake fluid.
9. Have an assistant hold firm pressure on the brake pedal.
10. Loosen the RH front disc brake caliper bleeder screw until a stream of brake fluid comes out. While the assistant maintains pressure on the brake pedal, tighten the RH front disc brake caliper bleeder screw.
Repeat until clear, bubble-free fluid comes out.
Refill the brake master cylinder reservoir as necessary.

pic 5

11. Tighten the RH front disc brake caliper bleeder screw.
12. Repeat Steps 8, 9, 10 and 11 for the LH front disc brake caliper bleeder screw.

___________________________

If you find the master cylinder is the problem, here are the directions for replacement.

__________________________

2000 Ford Truck F 150 4WD Pickup V8-5.4L SOHC VIN L
Removal and Installation
Vehicle Brakes and Traction Control Hydraulic System Brake Master Cylinder Service and Repair Procedures Removal and Installation
REMOVAL AND INSTALLATION
Removal

WARNING: Use of any other than approved DOT 3 brake fluid will cause permanent damage to brake components and will render the brakes inoperative.

WARNING: Brake fluid contains polyglycol ethers and polyglycols. Avoid contact with eyes. Wash hands thoroughly after handling. If brake fluid contacts eyes, flush eyes with running water for 15 minutes. Get medical attention if irritation persists. If taken internally, drink water and induce vomiting. Get medical attention immediately.

CAUTION: Brake fluid is harmful to painted or plastic surfaces. If brake fluid is spilled onto a painted or plastic surface, immediately wash it with water.

pic 6

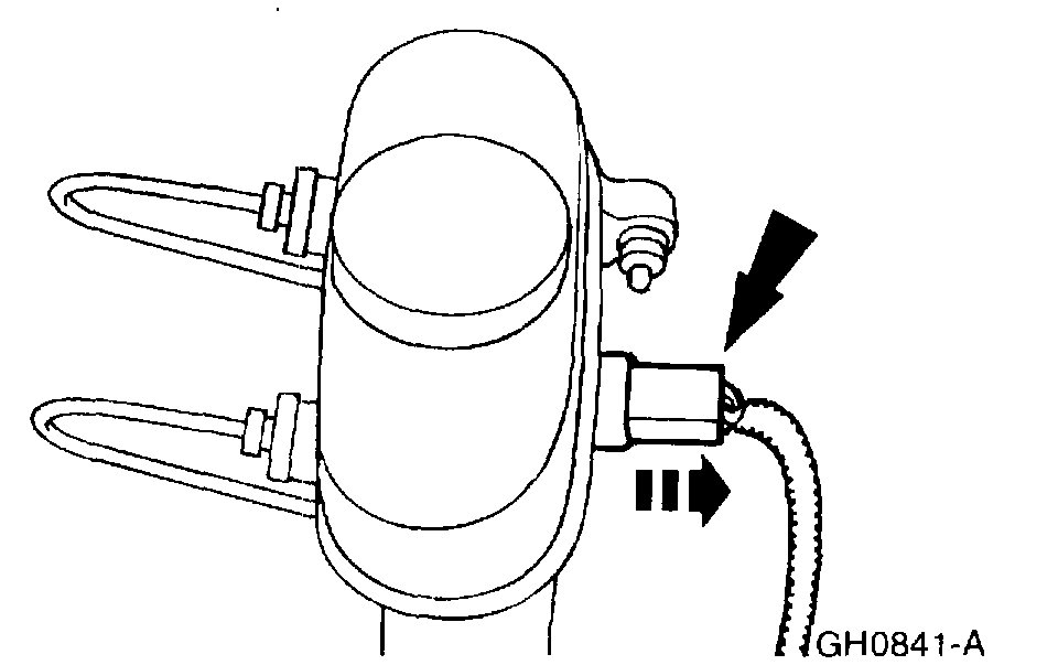
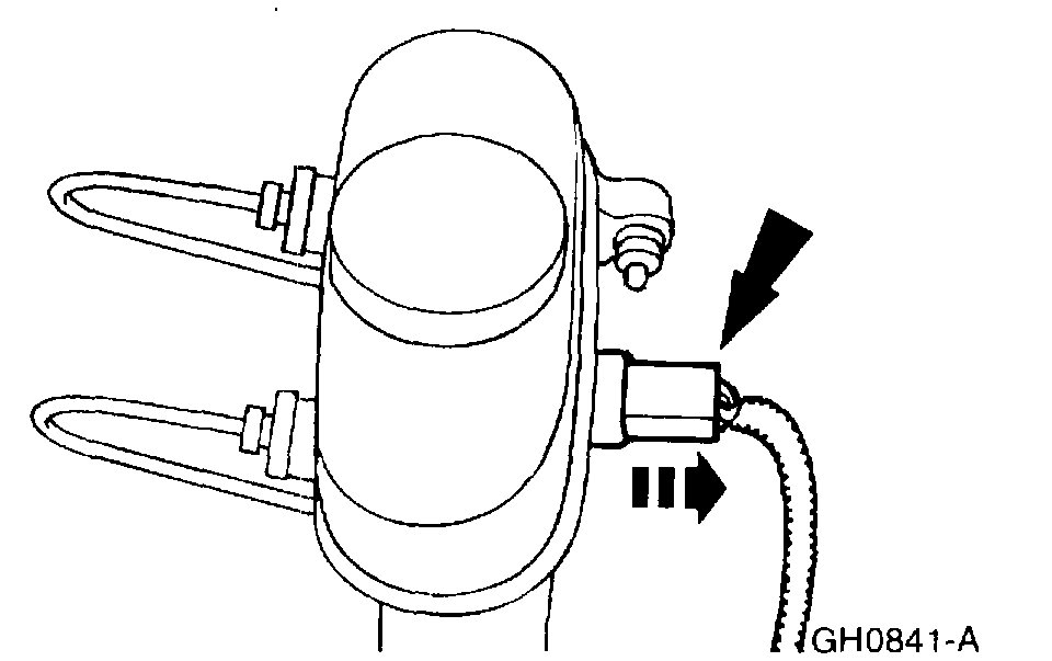
1. Disconnect the brake fluid level warning switch.

pic 7

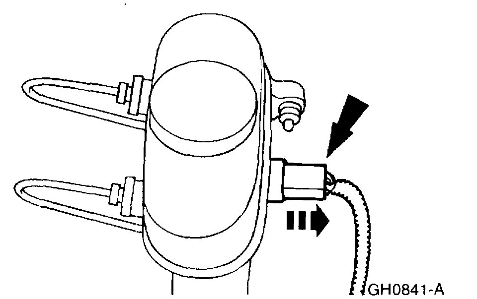
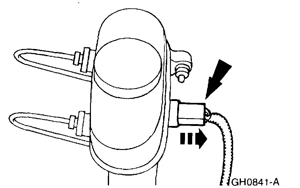
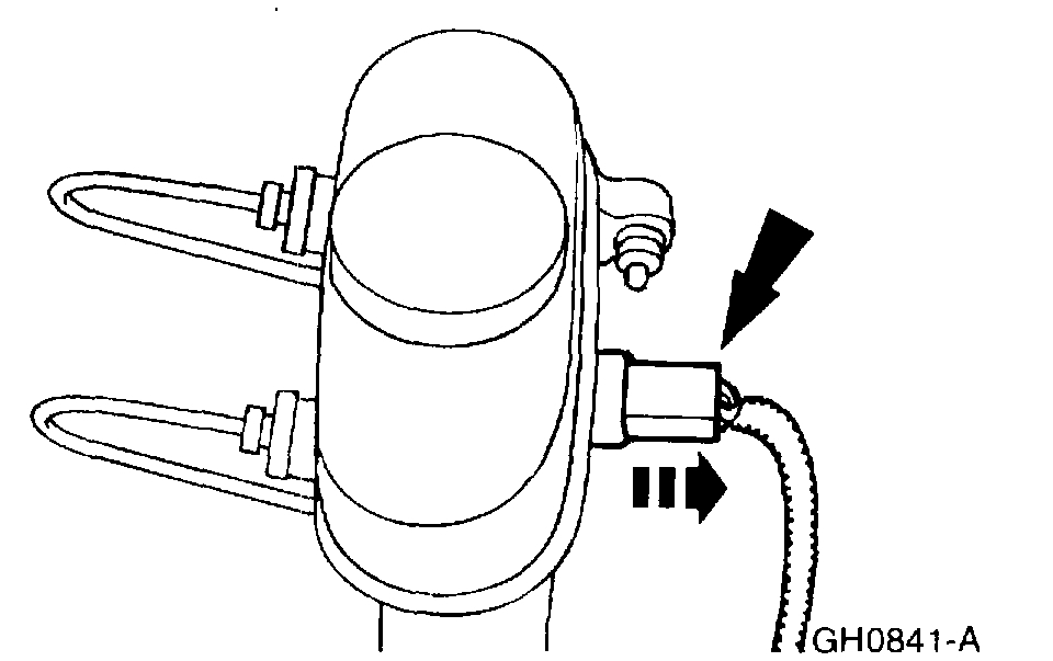
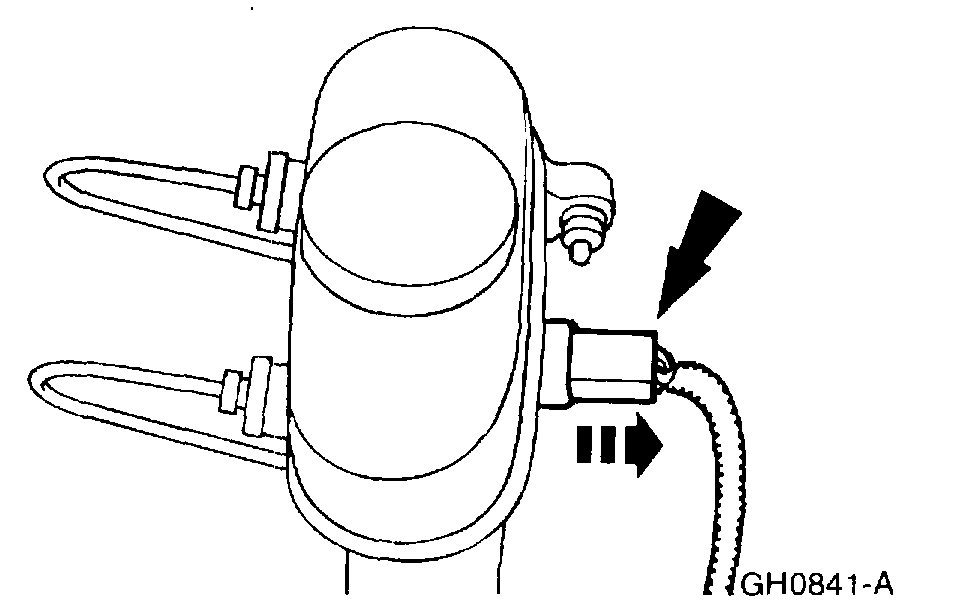
2. If equipped with speed control, disconnect the brake pressure switch electrical connector.

pic 8

3. Disconnect the two brake lines and plug the lines and the brake master cylinder ports.
4. On vehicles equipped with the rear anti-lock brake system (RABS), remove the RABS valve.

pic 9

5. Remove the brake master cylinder.
1. Remove the two brake master cylinder nuts.
2. Remove the brake master cylinder.

Installation

pic 10

1. To install, reverse the removal procedure.
Bleed the brake system.

____________________________

Let me know if this helps or if you have other questions.

Take care,
Joe
Was this
answer
helpful?
Yes
No
Wednesday, March 10th, 2021 AT 11:13 AM

Please login or register to post a reply.