Rack and pinon

Tiny
GVFZ
  • MEMBER
  • 2011 CHEVROLET IMPALA
  • 1,000,000 MILES
The rack and pinon is failing and I need to removed it, can you help me by sending me the directions on how to remove it please?
Sunday, April 17th, 2016 AT 11:02 AM

1 Reply

Tiny
KEN L
  • MASTER CERTIFIED MECHANIC
  • 55,065 POSTS
Hey Gvfz,

First jack your car up safely by following this guide

https://www.2carpros.com/articles/jack-up-and-lift-your-car-safely

Then undo the bolt to the steering column, followed by the tie rod ends follow the guide below:

https://www.2carpros.com/articles/tie-rod-end-replacement

Next, would be the power steering lines be sure to have an oil drain pan ready because fluid will leak out at this point.

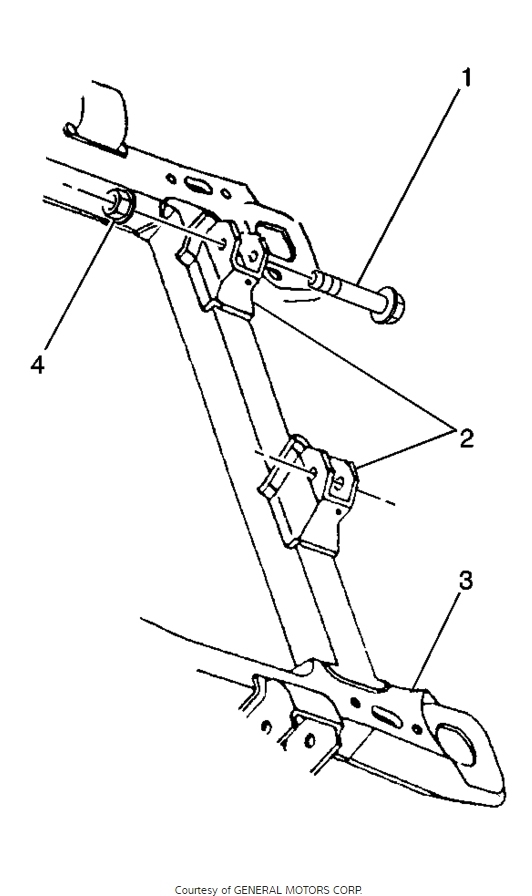
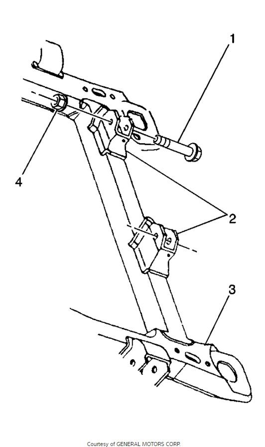
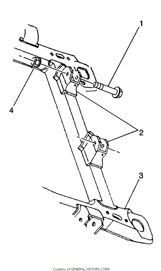
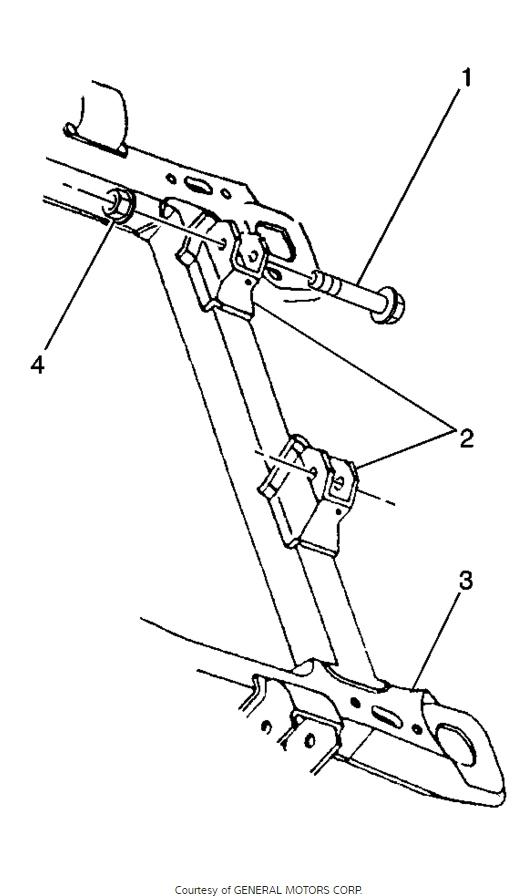
Next: Remove the main rack mounting bolts.

Once the rack is out match it too the new unit, and reverse these instructions to reassemble , please let me know if you have any further question or problems you would like help with.

Best, Ken

Was this
answer
helpful?
Yes
No
Monday, April 18th, 2016 AT 11:24 AM

Please login or register to post a reply.

Related General Content