Replacing rear driver brake caliper

Tiny
ALEX19899
  • MEMBER
  • 2000 PONTIAC G6
  • 3.5L
  • 6 CYL
  • 2WD
  • 180,000 MILES
How do I replace the driver side rear caliper?
Wednesday, June 12th, 2019 AT 9:02 PM

9 Replies

Tiny
JACOBANDNICKOLAS
  • MECHANIC
  • 110,194 POSTS
Welcome to 2CarPros.

First, here is a link that shows in general how a caliper is replaced:

https://www.2carpros.com/articles/brake-caliper-replacement

Could you provide the correct model year. The G6 wasn't offered in 2000. The first model year was 2005. With that information, I can get you the specific directions for replacement to your vehicle.

Let me know.

Joe
Was this
answer
helpful?
Yes
No
Wednesday, June 12th, 2019 AT 9:12 PM
Tiny
ALEX19899
  • MEMBER
  • 171 POSTS
It's a 2005, sorry about that.
Was this
answer
helpful?
Yes
No
Wednesday, June 12th, 2019 AT 9:28 PM
Tiny
JACOBANDNICKOLAS
  • MECHANIC
  • 110,194 POSTS
Welcome back:
No problem. Here are the directions specific to your vehicle. The attached pictures correlate with the directions.

__________________________

BRAKE CALIPER REPLACEMENT - REAR
Brake Caliper Replacement - Rear

Removal Procedure

1. Caution: Refer to Brake Fluid Irritant Caution in Service Precautions.

Notice: Refer to Brake Fluid Effects on Paint and Electrical Components Notice in Service Precautions.

Inspect the fluid level in the brake master cylinder reservoir.
2. If the brake fluid level is midway between the maximum-full point and the minimum allowable level, no brake fluid needs to be removed from the reservoir before proceeding.
3. If the brake fluid level is higher than midway between the maximum-full point and the minimum allowable level, remove brake fluid to the midway point before proceeding.
4. Raise and suitably support the vehicle. Refer to Vehicle Lifting.
5. Remove the tire and wheel assembly.

pic 1

6. Install a large C-clamp over the body of the brake caliper with the C-clamp ends against the rear of the caliper body and against the outer brake pad.
7. Tighten the C-clamp until the caliper piston is compressed into the caliper bore enough to allow the caliper to slide past the brake rotor.
8. Remove the C-clamp from the caliper.

pic 2

9. Remove the brake hose to caliper bolt from the brake caliper.
10. Remove the brake hose from the brake caliper.
11. Remove and discard the 2 copper brake hose gaskets. These gaskets may be stuck to the brake caliper and/or the brake hose end.
12. Cap or plug the opening in the brake caliper and the brake hose to prevent fluid loss and contamination.

pic 3

13. Remove the 2 brake caliper pin bolts.

pic 4

14. Remove the park brake cable from the caliper.
15. Remove the brake caliper from the brake caliper bracket.

Installation Procedure
1. Inspect the caliper slide boots for cuts, tears, or deterioration. If damaged, replace the slides and boots.

pic 5

2. Install the brake caliper to the brake caliper bracket.

3. Notice: Refer to Fastener Notice in Service Precautions.

Install the 2 brake caliper pin bolts.
Tighten the brake caliper pin bolts to 35 Nm (26 lb ft).

pic 6

4. Install the park brake cable to the caliper.

pic 7

5. Remove the caps or plugs from the brake caliper opening and the brake hose.

6. Important: DO NOT reuse the copper brake hose gaskets.

Install NEW copper brake hose gaskets to the brake hose-to-caliper bolt and to the brake hose.
7. Install the brake hose and the brake hose-to-caliper bolt to the brake caliper.
Tighten the brake caliper bolt to 50 Nm (37 lb ft).
8. Bleed the hydraulic brake system.
9. With the engine OFF, gradually apply the brake pedal to approximately 2/3 of its travel distance.
10. Slowly release the brake pedal.
11. Wait 15 seconds, then repeat steps 11 and 12 until a firm brake pedal apply is obtained; this will properly seat the brake caliper pistons and brake pads.
12. Install the tire and wheel assembly.
13. Lower the vehicle.
14. Apply and release the park brake pedal 4 times.

______________________________________

Here is a link that explains how to bleed and flush the brake system. When the new caliper is installed, you will need to bleed the air from it. This link explains how to bleed the brakes. You will not need to flush the entire system. However, if the master cylinder goes dry while you work on the vehicle, I do recommend bleeding at all wheels.

https://www.2carpros.com/articles/how-to-bleed-or-flush-a-car-brake-system

Let me know if this helps or if you have other questions.

Take care,
Joe
Was this
answer
helpful?
Yes
No
Wednesday, June 12th, 2019 AT 10:58 PM
Tiny
ALEX19899
  • MEMBER
  • 171 POSTS
I'm having a hard time figuring out how to remove the parking brake cable from the caliper.
Was this
answer
helpful?
Yes
No
Thursday, June 13th, 2019 AT 7:05 AM
Tiny
JACOBANDNICKOLAS
  • MECHANIC
  • 110,194 POSTS
Welcome back:

Make sure the parking brake is fully released. I attached a picture. I circled the end needs removed and have an arrow pointing the direction to pull the cable to take it off the bracket. Pull back on the cable to remove it from the bracket, then the other end will come off. Now, if there is still too much tension on the cable to do this, you will need to completely remove tension from the cable. I have the directions for cable replacement. You will need to follow them to a point because the cable isn't actually being replaced. You just need to see how it comes apart.

Pic 1 shows the first thing I suggested. The remaining pics will correlate with these directions. All you really need to do is remove the tension from that cable.

_____________________________________
PARK BRAKE CABLE REPLACEMENT - REAR
Park Brake Cable Replacement - Rear

Caution: Refer to Brake Dust Caution in Service Precautions.

Removal Procedure
1. Ensure that the park brake lever is in the fully released position.
2. Remove the floor console.
3. Remove the rear carpet.

Pic 2

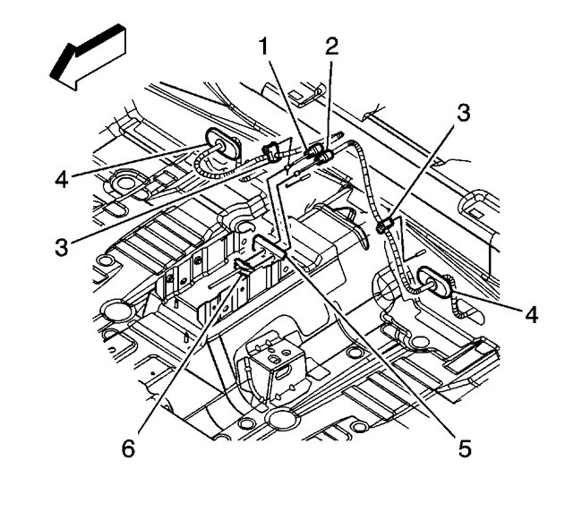
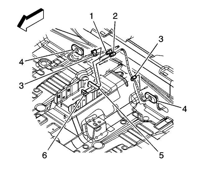
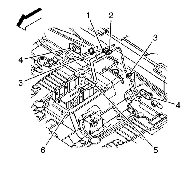
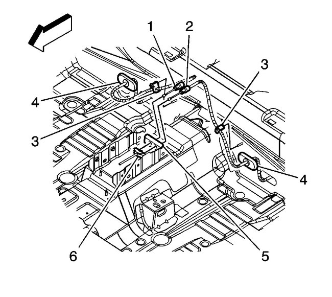
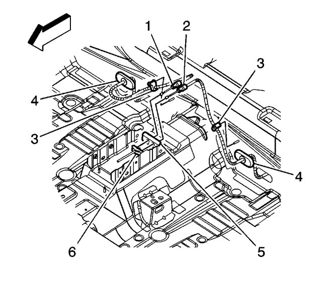
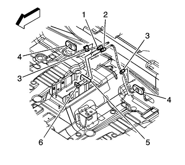
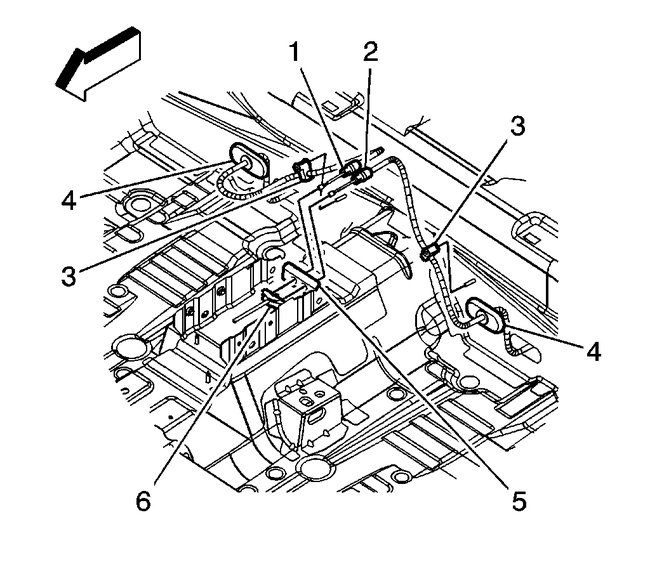
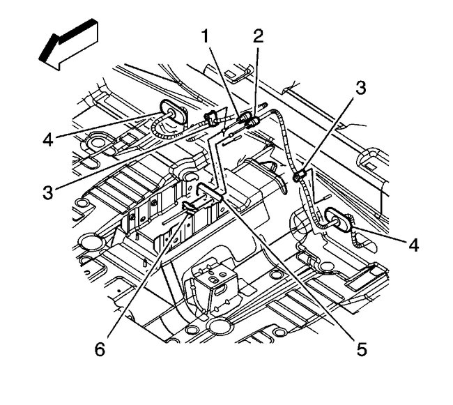
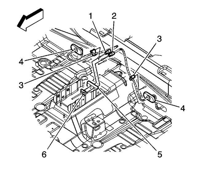
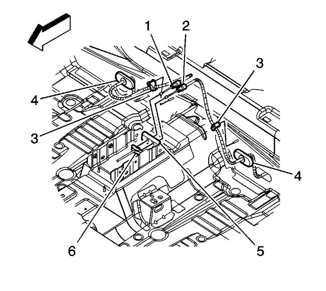
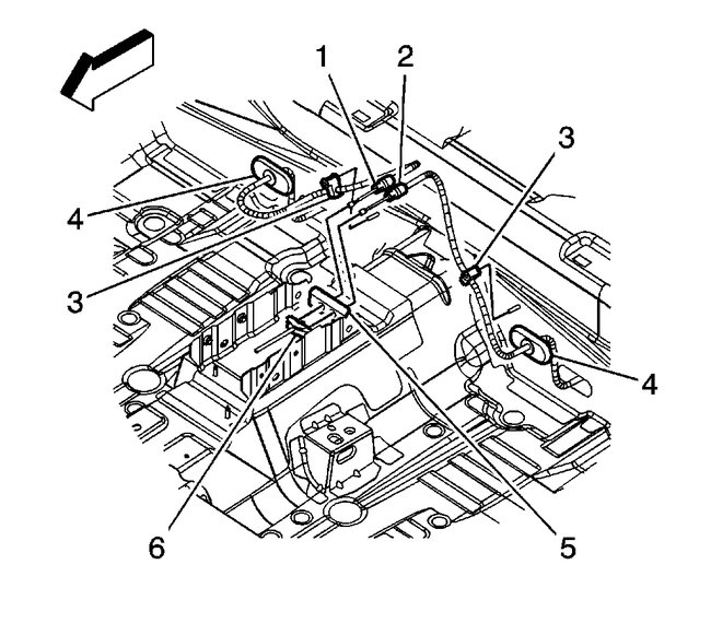
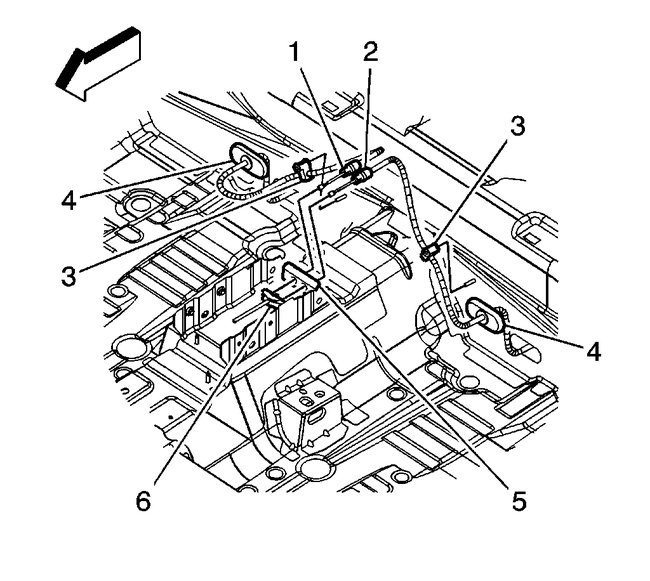
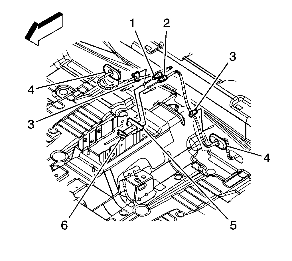
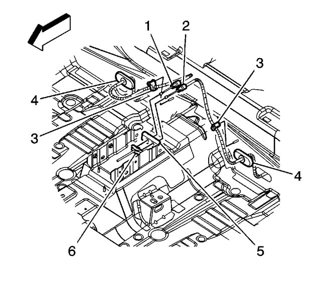
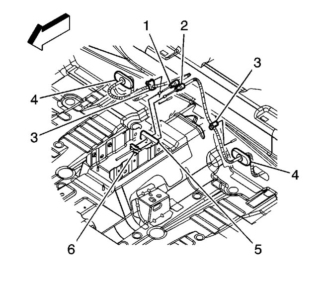
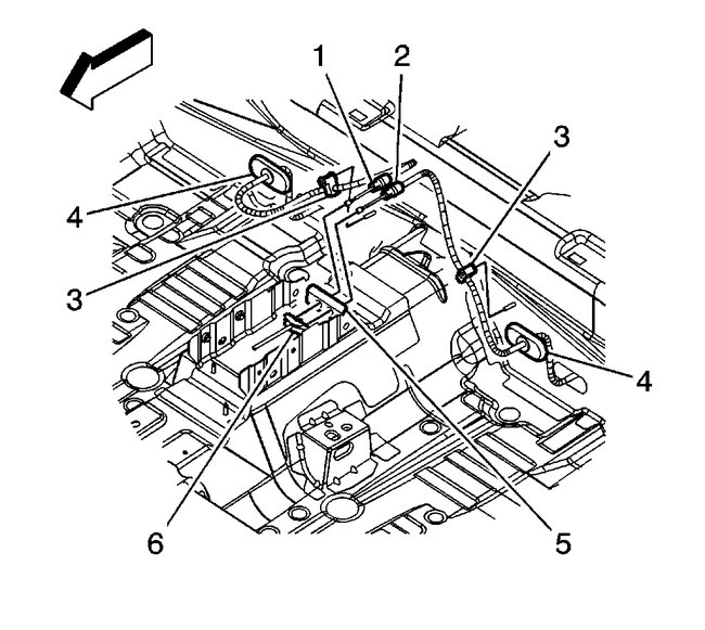
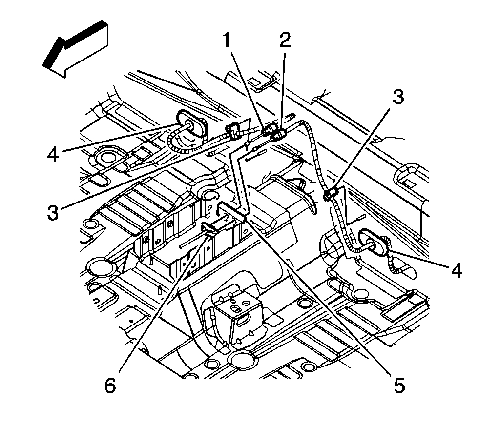
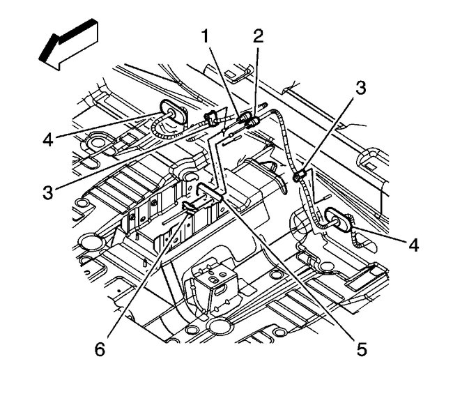
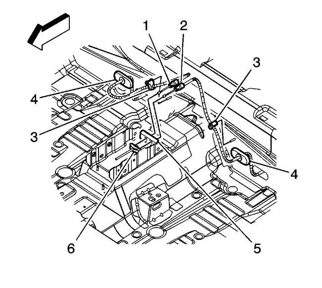
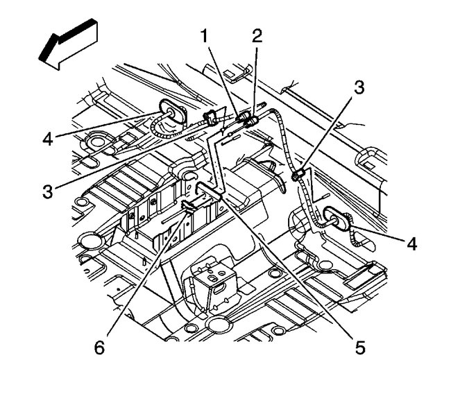
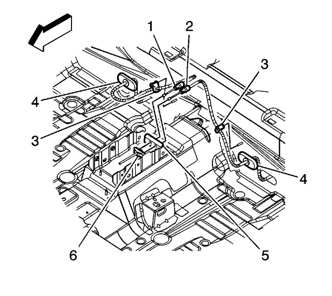
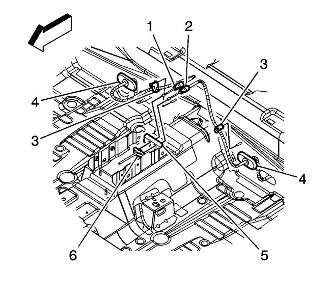
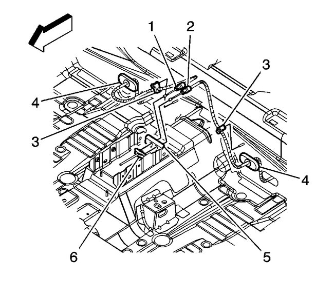
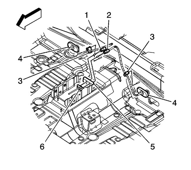
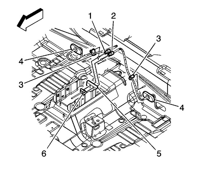
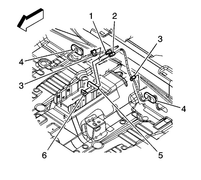
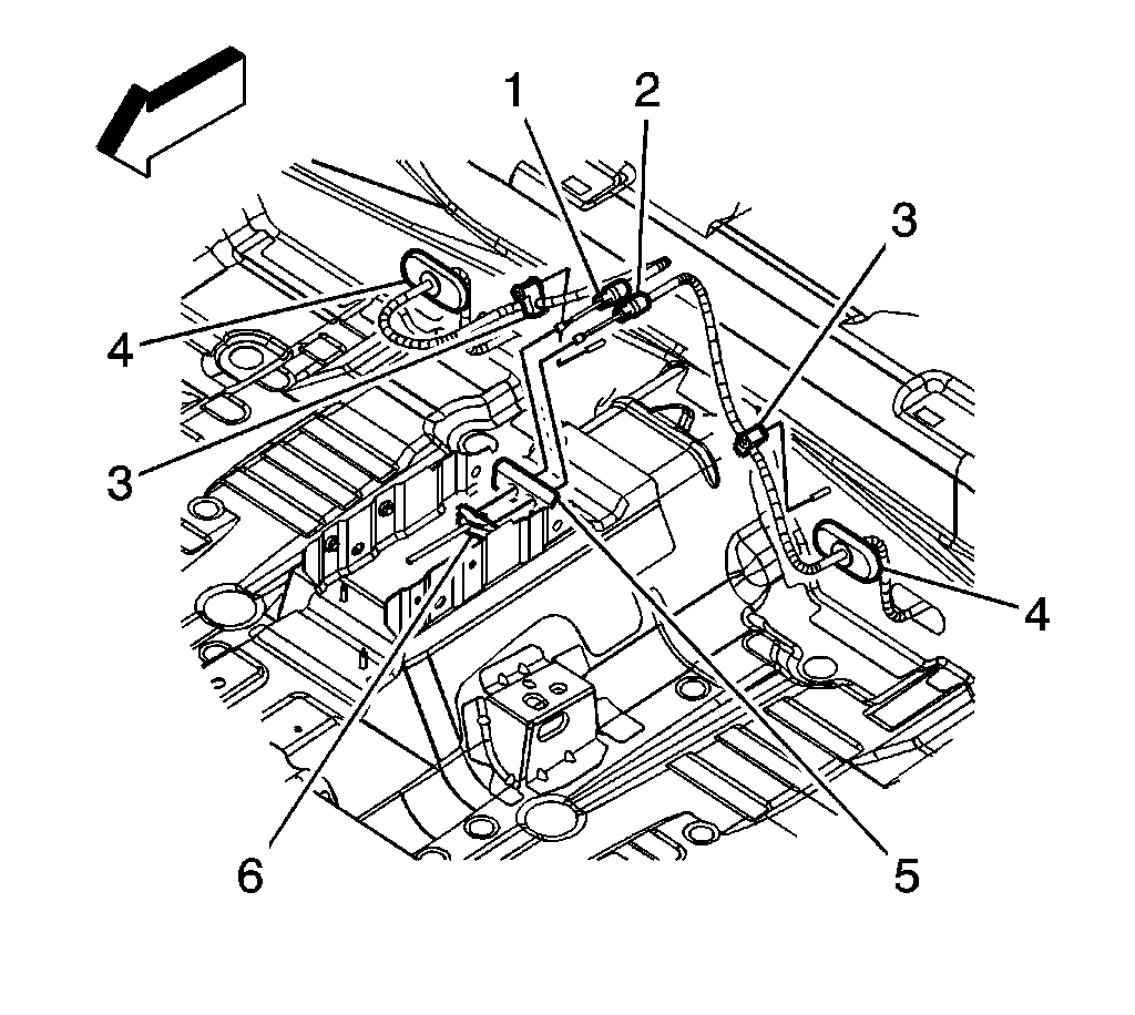
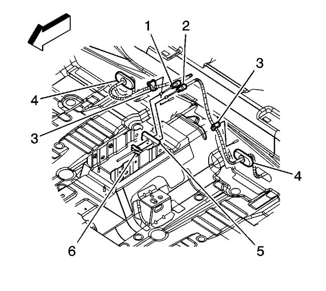
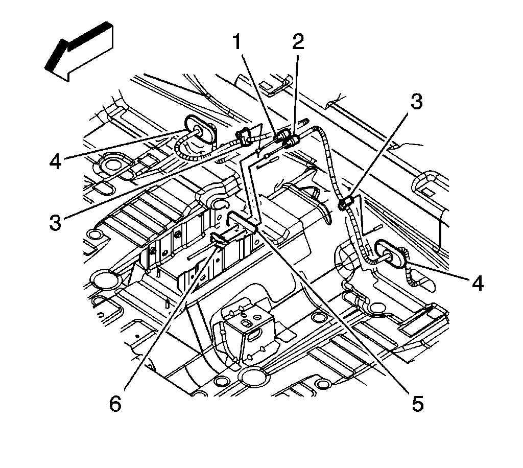
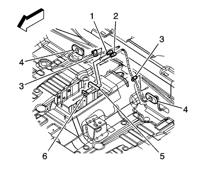
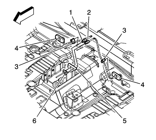
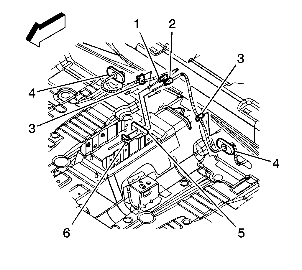
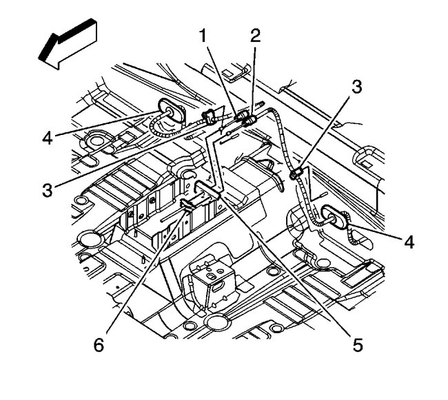
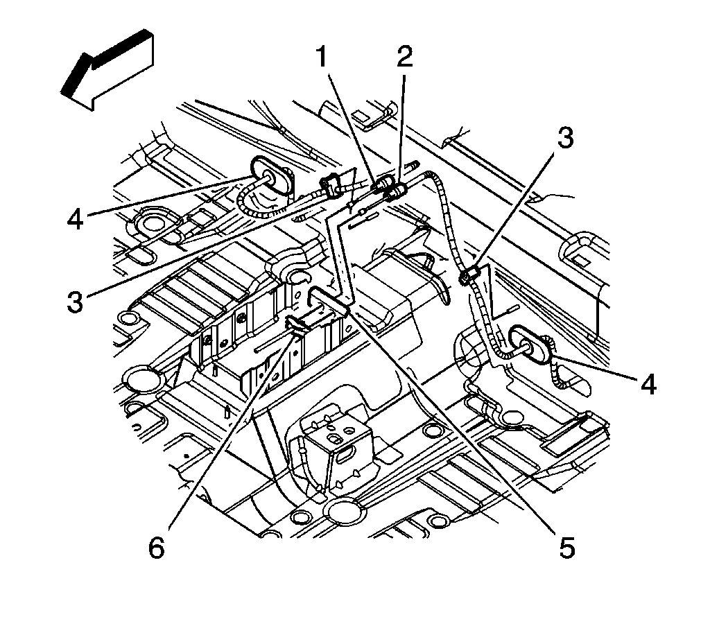
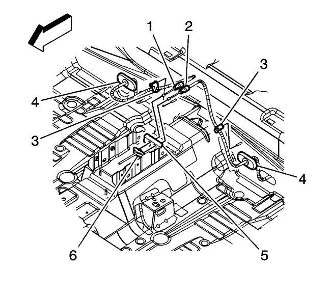
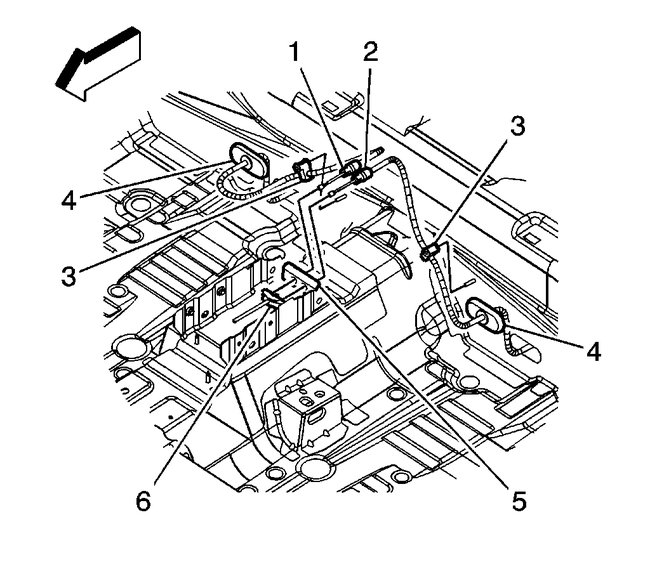
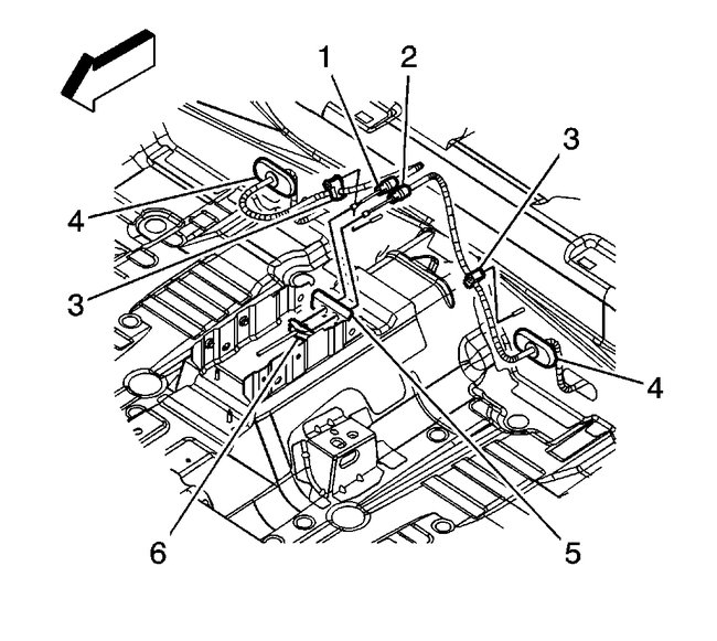
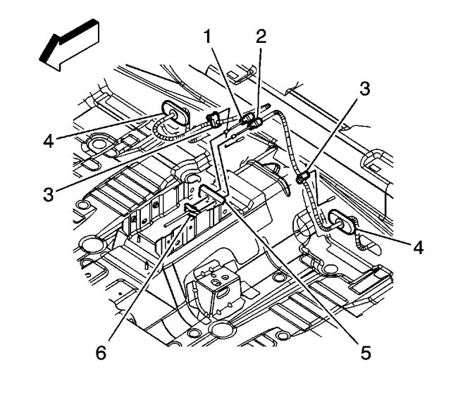
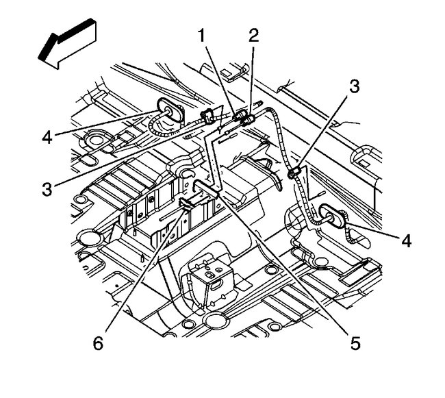
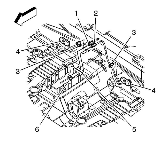
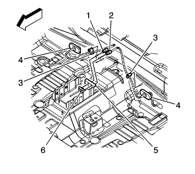
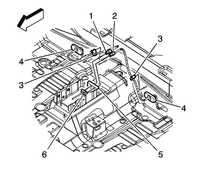
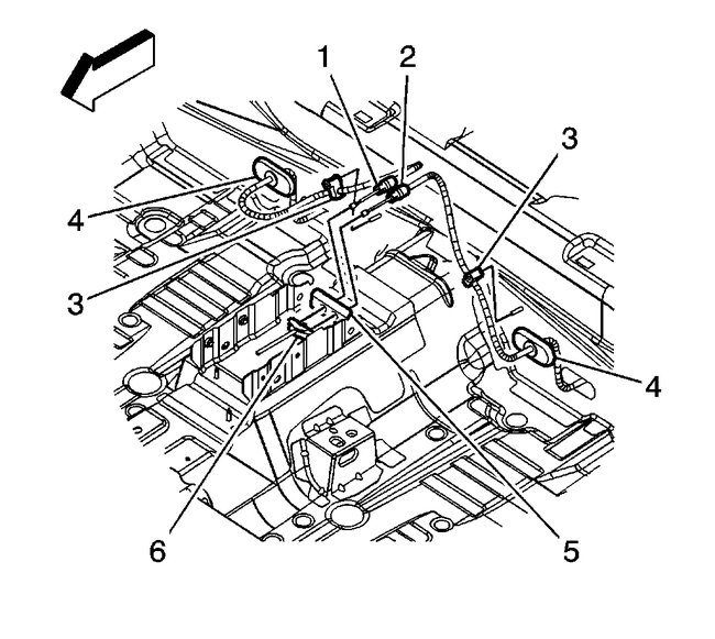
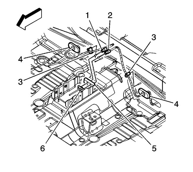
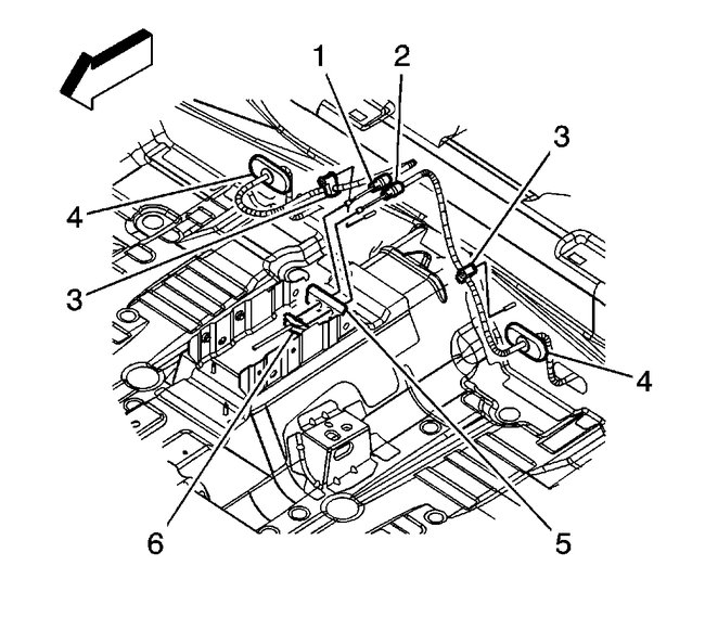
4. Remove the right rear park brake cable (1) or the left rear park brake cable (2) from the console park brake bracket (5) and the front park brake cable equalizer (6).
5. Raise and support the vehicle.

Pic 3

6. Remove the plastic retainer clip (1) from the body.
7. Remove the tire and wheel assembly.

Pic 4

8. Remove the rear park brake cable retainer bolt (1).

Pic 5

9. Remove the rear park brake cable from the caliper park brake lever.
10. Lower the vehicle.

Pic 6

11. Remove the plastic retainer clip (3) from the stud.
12. Remove the park brake cable and pass-thru grommet (4) from the body and remove the cable from the vehicle.

Installation Procedure

pic 7

1. Install the park brake cable to the vehicle.
2. Install the park brake cable and pass-thru grommet (4) to the body.
3. Install the plastic retainer clip (3) to the stud.
4. Raise the vehicle.

Pic 8

5. Install the rear park brake cable to the caliper park brake lever.

Pic 9

6. Notice: Refer to Fastener Notice in Service Precautions.

Install the rear park brake cable retainer bolt.
Tighten the bolt to 10 Nm (89 inch lbs.).

Pic 10

7. Install the plastic retainer clip (1) to the body.
8. Install the tire and wheel assembly.
9. Lower the vehicle.

Pic 11

10. Install the right rear park brake cable (1) or the left rear park brake cable (2) to the console park brake bracket (5) and the front park brake cable equalizer (6).
11. Install the rear carpet.
12. Install the floor console.
13. Cycle the park brake lever 3-5 times.

______________________________

Let me know if this helps or if you are still having trouble.

Take care,
Joe
Was this
answer
helpful?
Yes
No
Thursday, June 13th, 2019 AT 11:49 AM
Tiny
ALEX19899
  • MEMBER
  • 171 POSTS
Thank you for the quick response! Once I install the caliper will I need to bleed just that one caliper or will I need to bleed all four tires?
Was this
answer
helpful?
Yes
No
Thursday, June 13th, 2019 AT 6:14 PM
Tiny
JACOBANDNICKOLAS
  • MECHANIC
  • 110,194 POSTS
Welcome back:

As long as the brake fluid in the master cylinder never drained out, only that one will need done. Once you get it attached to the hydraulic brake hose, what I always do is allow it to gravity bleed. Make sure the master cylinder is full, open the bleeder on the new caliper, and when the fluid starts to come out by itself, then get someone to help with manual bleeding. The directions for that process is indicated in the link I attached before. However, if you have any questions, please let me know.

Let me know how it works out for you.

Joe
Was this
answer
helpful?
Yes
No
Thursday, June 13th, 2019 AT 8:03 PM
Tiny
ALEX19899
  • MEMBER
  • 171 POSTS
Perfect! I have to order the new caliper, once I get the new one installed I'll post my results.
Was this
answer
helpful?
Yes
No
Thursday, June 13th, 2019 AT 8:38 PM
Tiny
JACOBANDNICKOLAS
  • MECHANIC
  • 110,194 POSTS
Welcome back:

Sounds like a plan. Let me know if I can help.

Take care and I'll watch for the results.

Joe
Was this
answer
helpful?
Yes
No
Thursday, June 13th, 2019 AT 8:45 PM

Please login or register to post a reply.