Relay fuel pump location needed

Tiny
JOHNBEARBOY
  • MEMBER
  • 1990 TOYOTA CAMRY
  • 12,500 MILES
Where is the fuel pump relay location?
Sunday, March 1st, 2020 AT 10:44 PM

3 Replies

Tiny
MOTOR MASTER
  • MECHANIC
  • 279 POSTS
Hello my name is Dave.

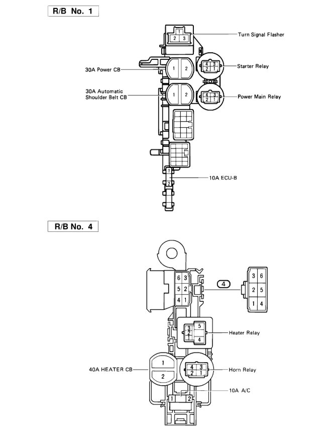
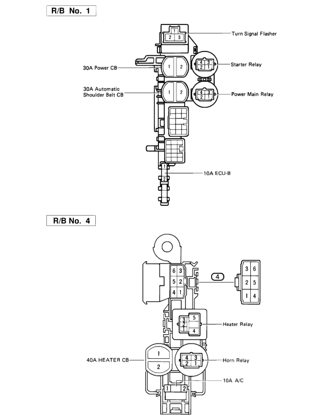
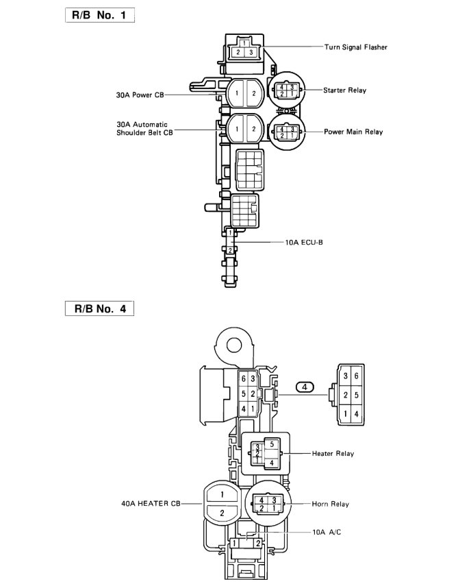
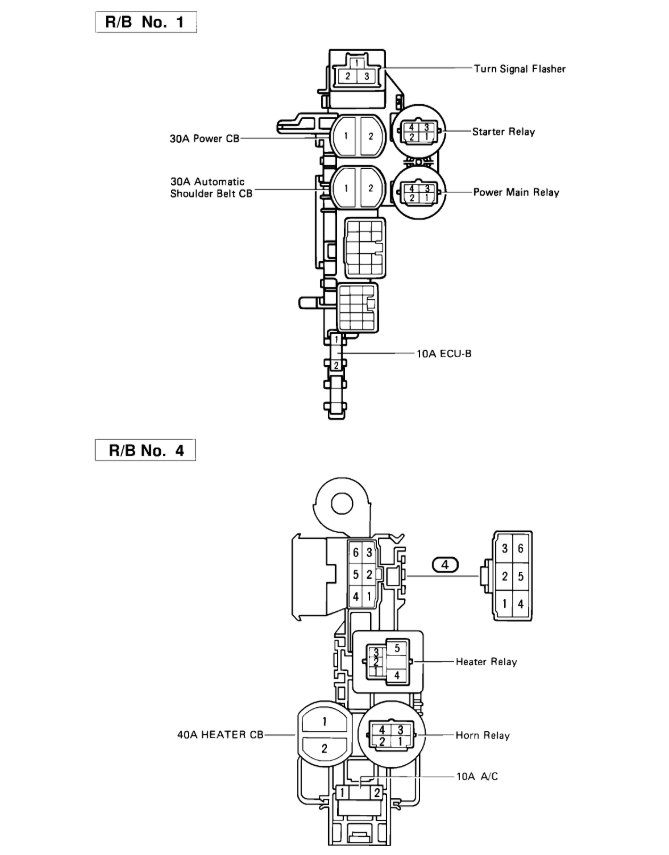
Your car has what they refer to as a circuit opening relay which is located on the ECU. However, I am interested to find out exactly what symptoms your car has as I have never had one of these go bad. Have you checked the ECU relay? I have attached a illustration showing the location of both of these relays. If you could let us know what symptoms you have we will be glad to help you further.
Was this
answer
helpful?
Yes
No
Monday, March 2nd, 2020 AT 4:42 AM
Tiny
JOHNBEARBOY
  • MEMBER
  • 1 POST
I just need a picture of the location of the fuse box all fuses that is related to the fuel pump that is all I need . Thanks
Was this
answer
helpful?
Yes
No
+3
Tuesday, March 3rd, 2020 AT 9:57 AM
Tiny
KEN L
  • MASTER CERTIFIED MECHANIC
  • 55,481 POSTS
Here is a guide to help you test the fuse and relays with the relay and fuse locations in the diagrams below:

https://www.2carpros.com/articles/how-to-check-a-car-fuse

and

https://www.2carpros.com/articles/how-to-check-an-electrical-relay-and-wiring-control-circuit

Check out the diagrams (below). Please let us know what you find.
Was this
answer
helpful?
Yes
No
+2
Tuesday, March 3rd, 2020 AT 10:12 AM

Please login or register to post a reply.