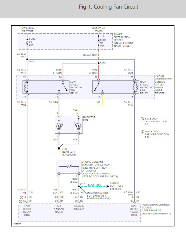
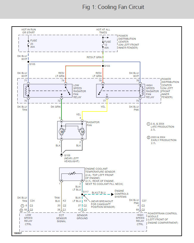
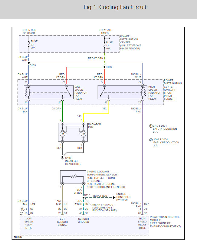
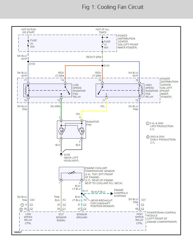
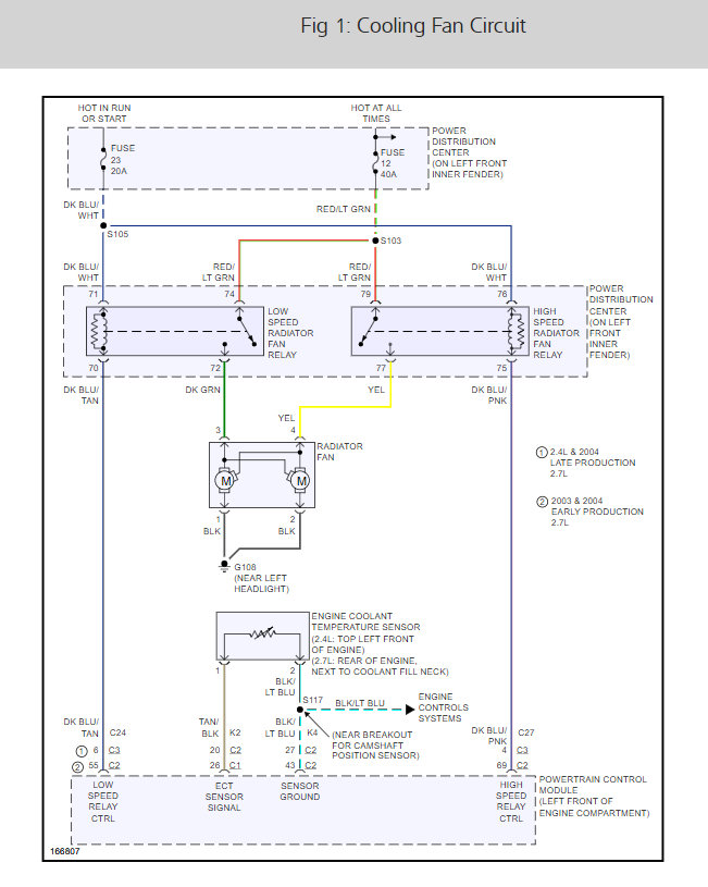
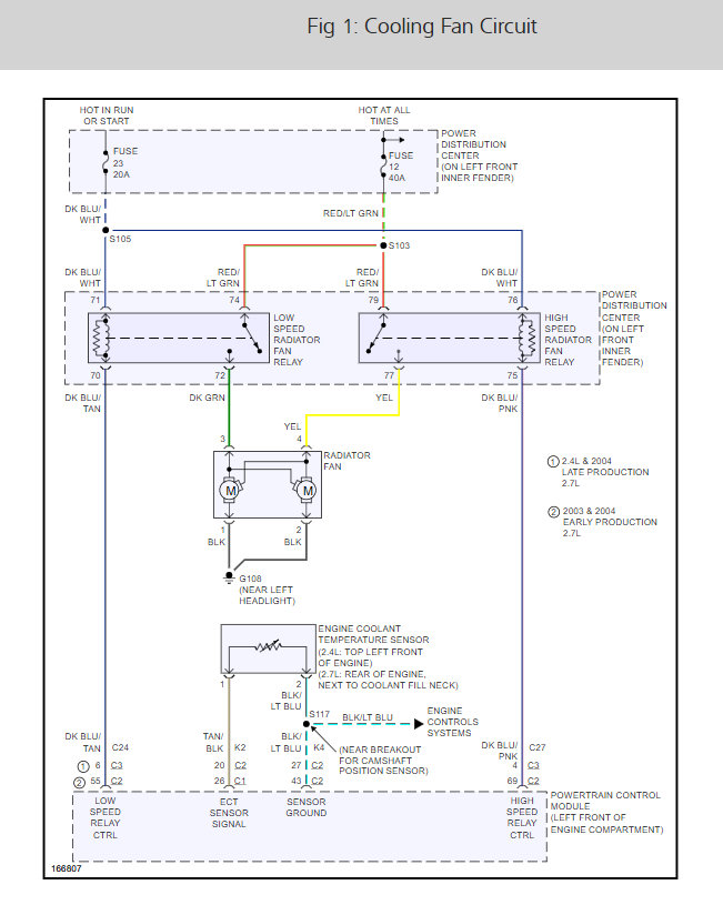
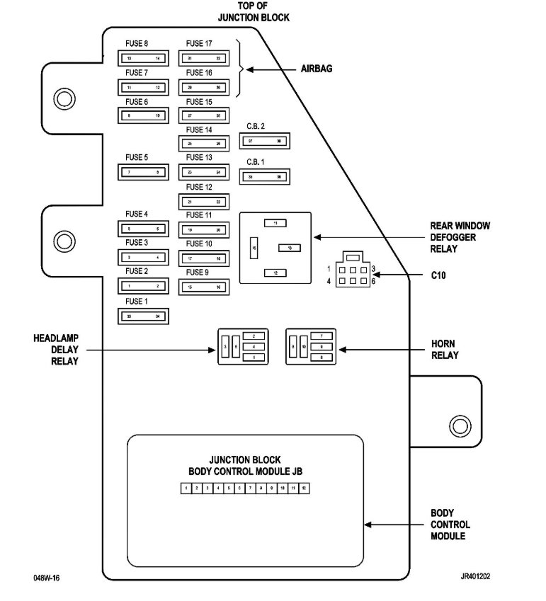
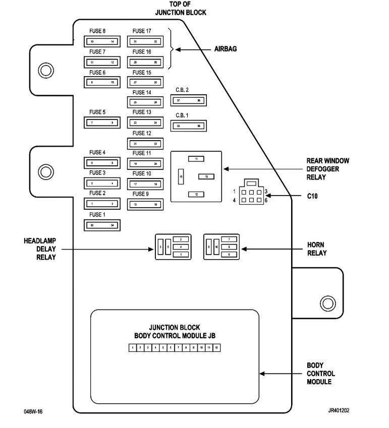
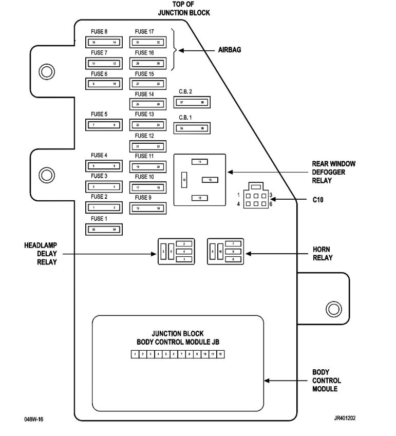
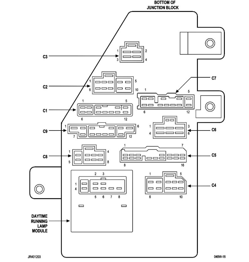
I have checked the following:
-Fuses, no issues.
-Both fan motors ran when power was applied directly to them.
-Replaced the fan relay, the fans still would not run.
The sensor for the temperature gauge appears to be working because the gauge moves approximately.
Any assistance is appreciated.
Saturday, July 20th, 2019 AT 2:39 PM









