Power steering pump replacement

2008 ACURA TL
63,000 MILES • 3.2L • V6 • 2WD • AUTOMATIC
Avatar
ERIC MENO
  • MEMBER
  • 6 POSTS
I'm going to replace my power steering pump can I use after market parts?
Dec 31, 2020 at 7:16 AM
Advertisement
Avatar
DANNY L
  • CAR REPAIR CONTRIBUTOR
  • 5,648 POSTS
Hello, I'm Danny.

Yes, you can use an aftermarket pump but I would suggest buying a new and not remanufactured pump. Too many problems could possibly happen with buying remanufactured. Here are a few tutorial for you to view showing replacement of the serpentine belt and the pump itself:

https://www.2carpros.com/articles/replace-serpentine-belt

https://www.2carpros.com/articles/how-to-replace-a-power-steering-pump

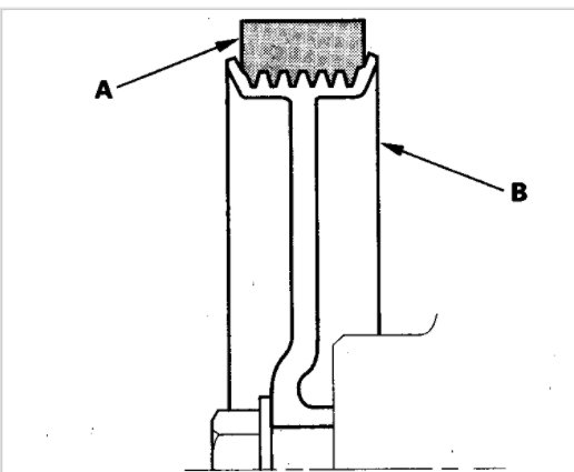
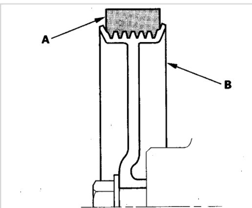
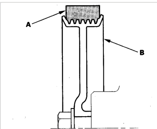
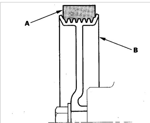
I've attached picture steps below on how to remove and replace both the serpentine belt and power steering pump on your car. You need to remove the serpentine belt first to remove the pump and the picture shows the routing in case you forget after removal. Hope this helps and thanks for using 2CarPros. Happy Holidays.
Dec 31, 2020 at 5:12 PM
Advertisement
Repair Safety Notice: This information is for general instructional purposes only. Vehicle repair can be dangerous. Verify all information, follow manufacturer service procedures, use proper tools and safety equipment, and consult a qualified repair shop when needed.