Turn the steering wheel and the wheels do not turn

Tiny
TINABARNETT
  • MEMBER
  • 2004 PONTIAC GRAND AM
  • V6
  • 2WD
  • AUTOMATIC
  • 145,000 MILES
Yes, it has bad power steering leak but it just stopped turning.
Thursday, June 18th, 2020 AT 8:49 PM

4 Replies

Tiny
JACOBANDNICKOLAS
  • MECHANIC
  • 110,194 POSTS
Hi,

Is there resistance in the steering wheel when you try to turn or does it seem to be disconnected?

Joe
Was this
answer
helpful?
Yes
No
+1
Thursday, June 18th, 2020 AT 8:58 PM
Tiny
TINABARNETT
  • MEMBER
  • 3 POSTS
Disconnected.
Was this
answer
helpful?
Yes
No
+3
Thursday, June 18th, 2020 AT 9:33 PM
Tiny
TINABARNETT
  • MEMBER
  • 3 POSTS
Steering wheel turns freely but the wheels on the car do not turn.
Was this
answer
helpful?
Yes
No
+3
Thursday, June 18th, 2020 AT 9:34 PM
Tiny
JACOBANDNICKOLAS
  • MECHANIC
  • 110,194 POSTS
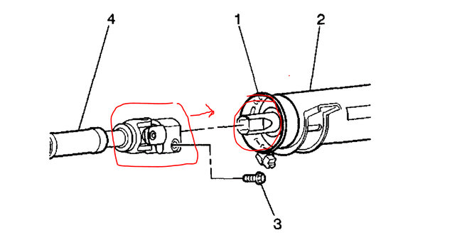
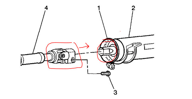
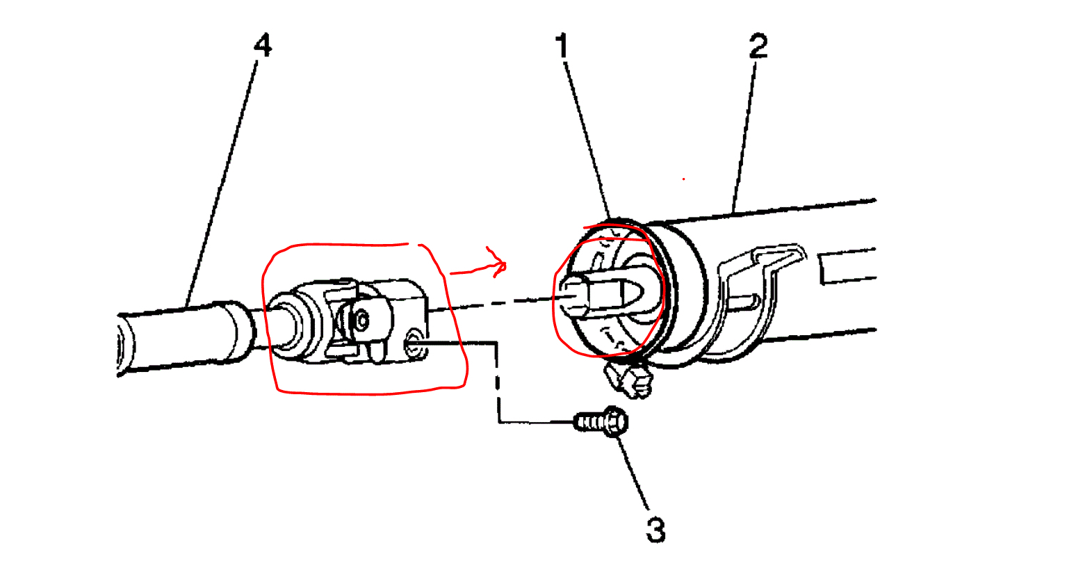
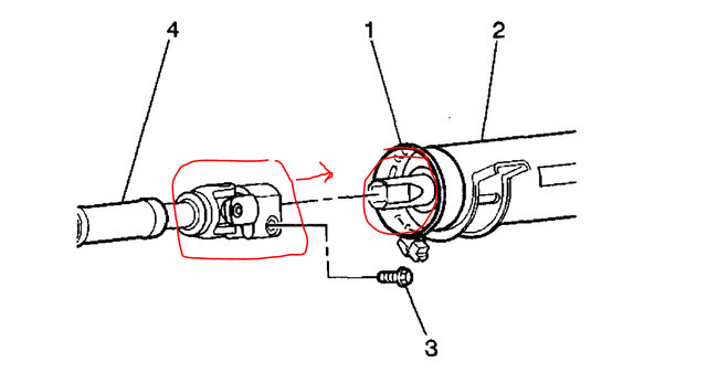
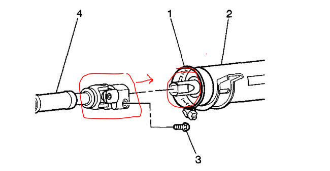
Does it feel like it has come disconnected from the wheels? If they aren't turning, either you have a broken tie rod on each side or the intermediate shaft has come disconnected at the rack and pinion gear. See the attached picture.

The rack and pinion is mounted behind the engine on this vehicle. If you look at the second pic, it shows the approximate location of where the column and gear connected. Basically the same pic as number on, but showing it on the vehicle.

Can you continue to turn the steering wheel in one direction without it stopping?

Let me know.
Joe
Was this
answer
helpful?
Yes
No
+1
Thursday, June 18th, 2020 AT 9:46 PM

Please login or register to post a reply.