Non start after fueling

Tiny
BEN CARTER
  • MEMBER
  • 2006 PONTIAC VIBE
  • 1.8L
  • 4 CYL
  • 2WD
  • AUTOMATIC
  • 172,000 MILES
Through the car about 53 MI stopped shut the car off visited with a friend and left I didn't stop at a gas station to fuel up. After fueling the car would not start and has not started since then prior to this there was some hesitant starting issues did not really notice any loss and power while driving idle what would seem to be me normally. What could possibly have gone wrong?
Tuesday, February 23rd, 2021 AT 10:43 AM

1 Reply

Tiny
STEVE W.
  • MECHANIC
  • 15,688 POSTS
Okay, if I'm reading this right you drove the car, then stopped to visit the friend and then went and fuel the car and right after you fueled it the car wouldn't start? Correct? Did it not start immediately after you filled it? IE filled the tank, put the cap on, paid and then it didn't start?
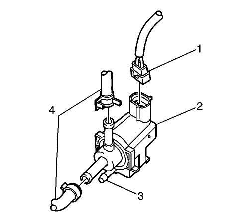
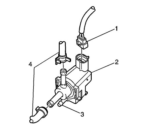
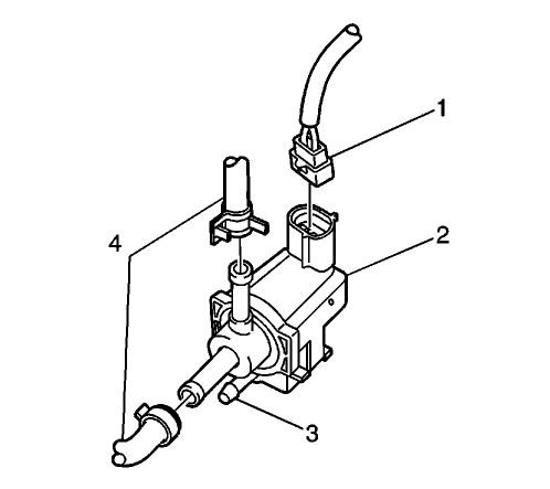
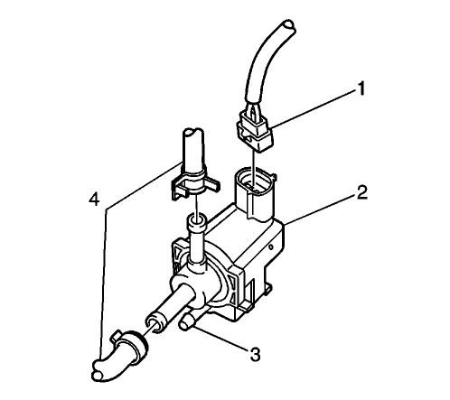
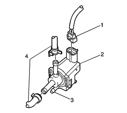
If this is the case try this, try to start the car but hold the gas pedal to the floor as you do it. If it now starts the likely issue is a stuck open EVAP canister purge valve. They can stick open and then the fumes and vapors from the fueling will flow up into the engine and act to flood it with excess fuel added to the amount that the injection system already is spraying in and it won't start, holding the gas pedal down puts the system in clear flood mode and turns the injectors off so the extra fuel can be purged out until it can start. The valve is very easy to change out if it's the issue. It is located on the drivers side of the car and has two hoses with spring clamps and an electrical connector on it. Replacement is to remove the elec. con. and the two hoses, then it pulls out of the rubber bracket it is mounted to. The process is reversed to install the new one. It is possible to test the valve as well to verify it as the problem. You remove the valve and then try to blow through it, with it disconnected it should seal and not allow you to blow through it. If it does it's stuck open.

Now if you try this and it doesn't start it could be multiple other issues, but this is a common problem and the symptoms fit.
These are a few others:
https://www.2carpros.com/articles/car-cranks-but-wont-start
Was this
answer
helpful?
Yes
No
+1
Tuesday, February 23rd, 2021 AT 12:51 PM

Please login or register to post a reply.