While driving started running rough SES light came on, now it will not start

Tiny
RUDY8459
  • MEMBER
  • 2002 CHEVROLET BLAZER
  • 4.3L
  • 6 CYL
  • 2WD
  • AUTOMATIC
  • 202,000 MILES
Driving home car was just fine running good. All of a sudden started running very rough, SES light came on and started flashing. Pulled over and parked turning engine off. Waited a few minutes and restarted, SES light no longer on but vehicle running very rough and would barely move forward. Turned off again, called tow truck. Checked with scanner and showed no codes. Now it will only crank for a few seconds and end with a loud clunking sound and battery will drain. Have tried to start three times with same result. Have to recharge battery in between tries. Thanks for any help.
OK here is a little update. While trying to figure out what is wrong I cranked engine but it would only crank for a couple of seconds before fully charged battery went dead. I smelled something burning and fan traveled in one direction and as battery went dead the fan started to rotate in the opposite direction! This only took 4 or 5 seconds.
Monday, January 7th, 2019 AT 3:39 PM

5 Replies

Tiny
ASEMASTER6371
  • MECHANIC
  • 52,796 POSTS
Good morning,

It sounds like an injector may be stuck open flooding the engine with fuel.

Try remove the spark plugs and crank the engine and see if any fuel shoots out of a cylinder.

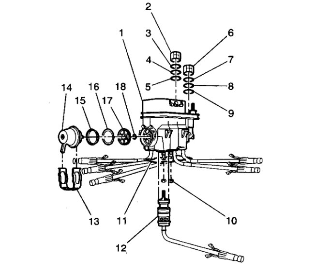
The injectors are all part of what is called a spider. It contains all six injectors. This is a very common failure for this.

Roy
Was this
answer
helpful?
Yes
No
+1
Friday, January 29th, 2021 AT 11:24 AM
Tiny
RUDY0287
  • MEMBER
  • 8 POSTS
Another update. Took off distributor cap and turned crankshaft pulley, cap rotated with crankshaft so the timing chain appears to be okay. Took out spark plugs per your advice. Vehicle will not crank so turned crank manually and man, did gas come out of multiple spark plug holes. Thanks for the advice, you were spot on! Quite a lot of gas came out, is there anything else that might be wrong along with the spider injectors?
Thanks again
Was this
answer
helpful?
Yes
No
Friday, January 29th, 2021 AT 11:24 AM
Tiny
ASEMASTER6371
  • MECHANIC
  • 52,796 POSTS
You will need to replace the spider assembly.

Then you need to add a cap full of oil into the cylinders before installing the plugs. That will bring back some compression from the fuel washing down the rings.

Roy
Was this
answer
helpful?
Yes
No
+1
Friday, January 29th, 2021 AT 11:25 AM
Tiny
RUDY8459
  • MEMBER
  • 14 POSTS
Thanks so much for your help.
Was this
answer
helpful?
Yes
No
Friday, January 29th, 2021 AT 11:25 AM
Tiny
ASEMASTER6371
  • MECHANIC
  • 52,796 POSTS
You are welcome.

Always glad to help.

Roy
Was this
answer
helpful?
Yes
No
Friday, January 29th, 2021 AT 11:25 AM

Please login or register to post a reply.