I need to know where the crankshaft sensor is?

2007 CHEVROLET SILVERADO
300,000 MILES • 4.8L • V8 • 2WD • AUTOMATIC
Avatar
TOWERMONKEY
  • MEMBER
  • 1 POST
I am having the same issue that you had but I need to know where the crankshaft sensor is and how the wiring goes?
Apr 7, 2019 at 6:48 AM
Repair Safety Notice: This information is for general instructional purposes only. Vehicle repair can be dangerous. Verify all information, follow manufacturer service procedures, use proper tools and safety equipment, and consult a qualified repair shop when needed.
Advertisement
Avatar
SCGRANTURISMO
  • CAR REPAIR CONTRIBUTOR
  • 4,897 POSTS
Hello,

I have included the information that you requested in the diagrams down below. There is the location, connector end view, description of operation, and a diagnostic troubleshooting guide for your vehicle's Crankshaft Position Sensor (CKP). Please go through it and get back to us with what you find out also check out this video

https://youtu.be/sKo7xRWVNqY

Thanks,
Alex
2CarPros
Apr 7, 2019 at 7:24 AM
Advertisement
Avatar
BEAVIS1234
  • MEMBER
  • 1 POST
How to tell if crankshaft sensor is bad?
May 10, 2021 at 11:33 AM (Merged)
Avatar
ASEMASTER6371
  • CAR REPAIR CONTRIBUTOR
  • 52,796 POSTS
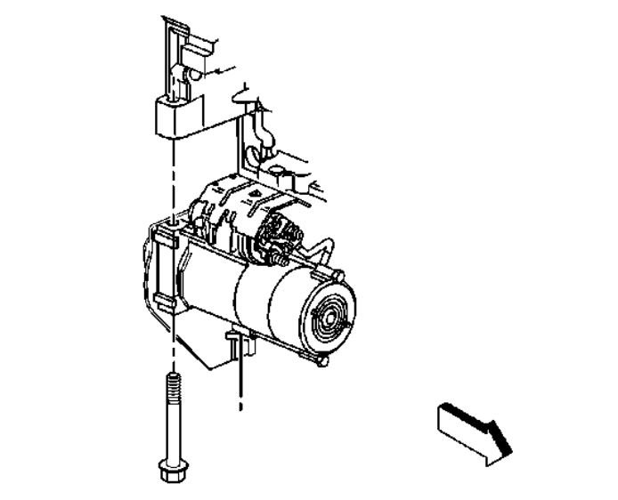
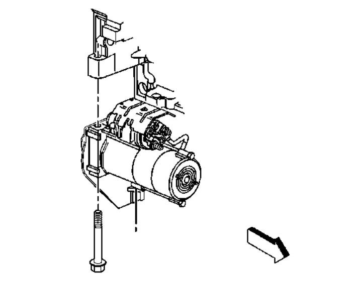
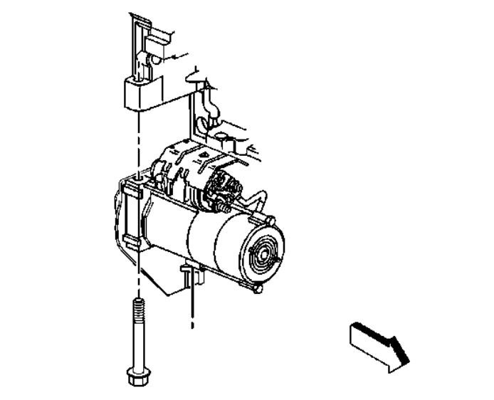
I attached the procedure for you for the sensor replacement. The starter must be removed to gain access.

After replacing, it must be programmed with a scan tool.

Roy


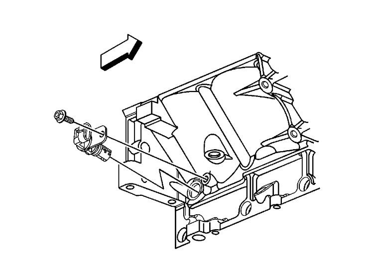
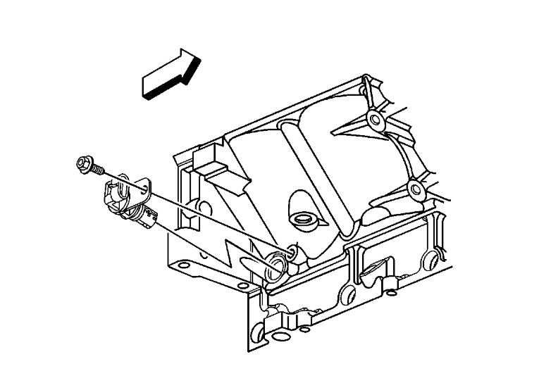
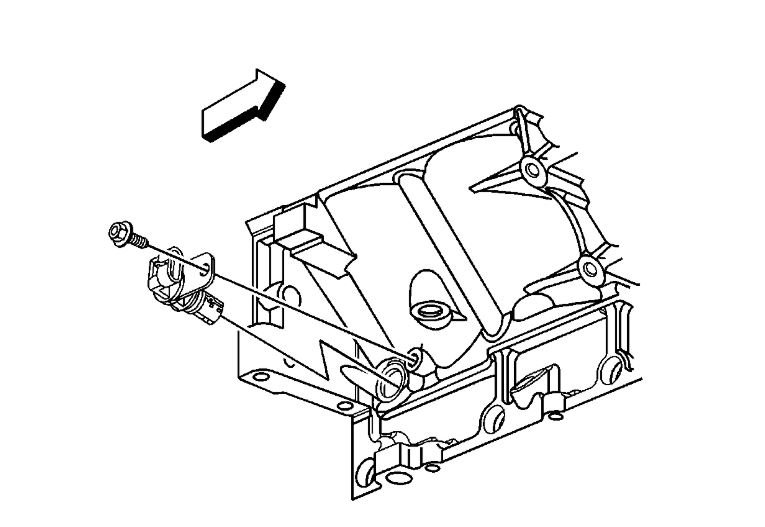
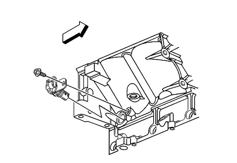
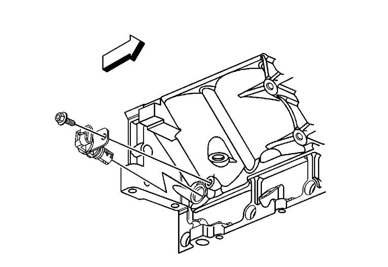
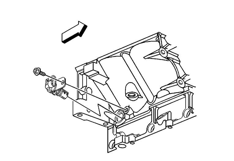
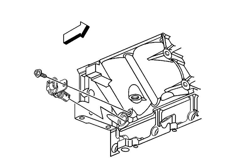
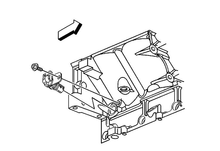
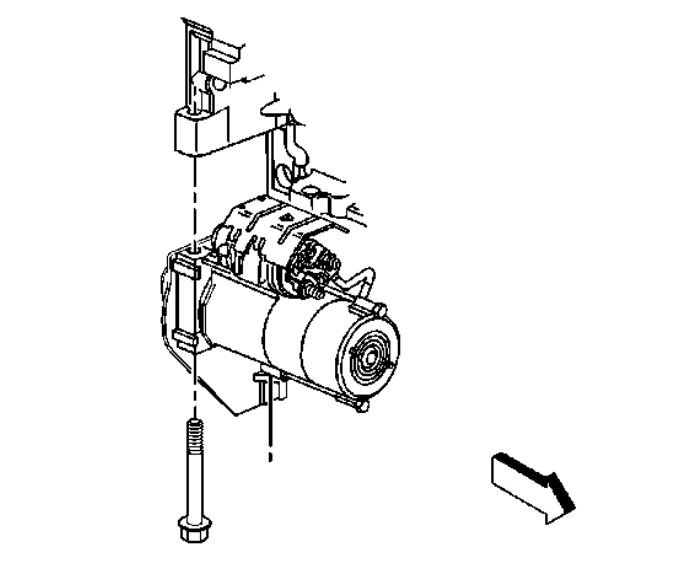
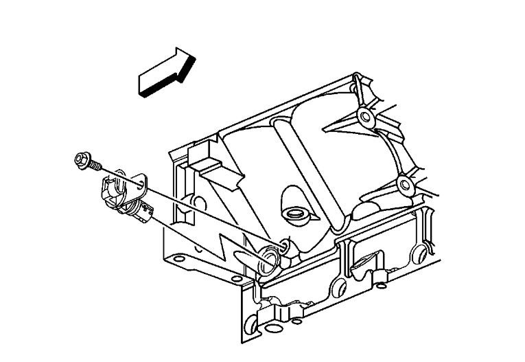
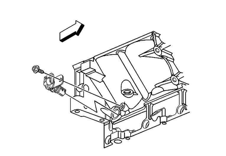
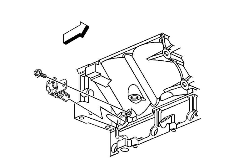
CRANKSHAFT POSITION (CKP) SENSOR REPLACEMENT

REMOVAL PROCEDURE

IMPORTANT: Perform the CKP System Variation Learn Procedure whenever the crankshaft position sensor is removed or replaced.


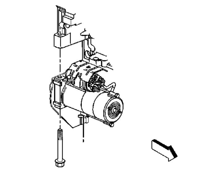
imageOpen In New TabZoom/Print

1. Remove the starter.
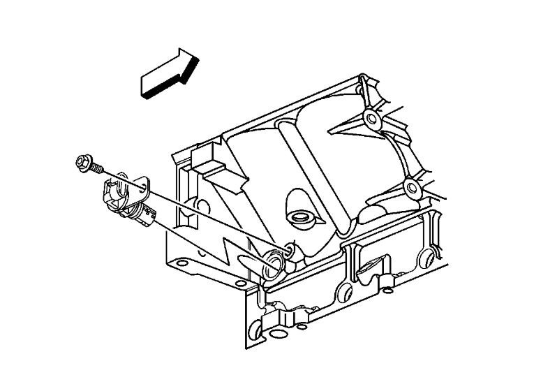
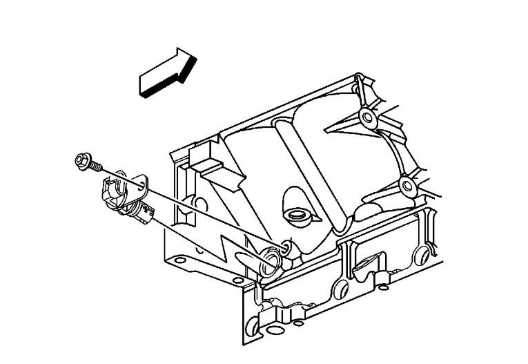
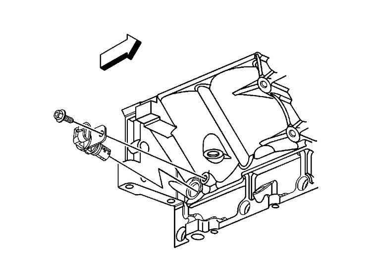
2. Disconnect the crankshaft position (CKP) sensor electrical connector.


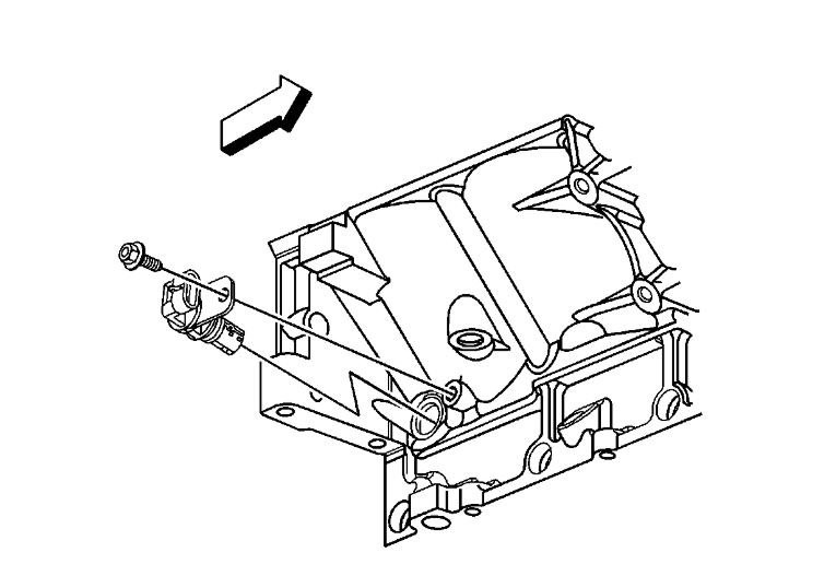
imageOpen In New TabZoom/Print

3. Clean the area around the CKP sensor before removal in order to avoid debris from entering the engine.
4. Remove the CKP sensor bolt.
5. Remove the CKP sensor.
May 10, 2021 at 11:33 AM (Merged)
Avatar
STONEDOG 2006
  • MEMBER
  • 1 POST
can you tell me were the crank postion sensor is located on the truck it is a 2002 chevy silverado with a 8.1 gas motor
May 10, 2021 at 11:34 AM (Merged)
Avatar
DENNYP
  • CAR REPAIR CONTRIBUTOR
  • 1,824 POSTS
It is located at the rear of the engine near the transmission bellhousing.


https://images.2carpros.com/forum/automotive_pictures/102900_300360_1.jpg


https://images.2carpros.com/forum/automotive_pictures/102900_470801_1.gif


https://images.2carpros.com/forum/automotive_pictures/102900_674728_1.jpg


https://images.2carpros.com/forum/automotive_pictures/102900_814961_1.jpg


https://images.2carpros.com/forum/automotive_pictures/102900_814962_1.jpg

May 10, 2021 at 11:34 AM (Merged)
Avatar
DENNYP
  • CAR REPAIR CONTRIBUTOR
  • 1,824 POSTS
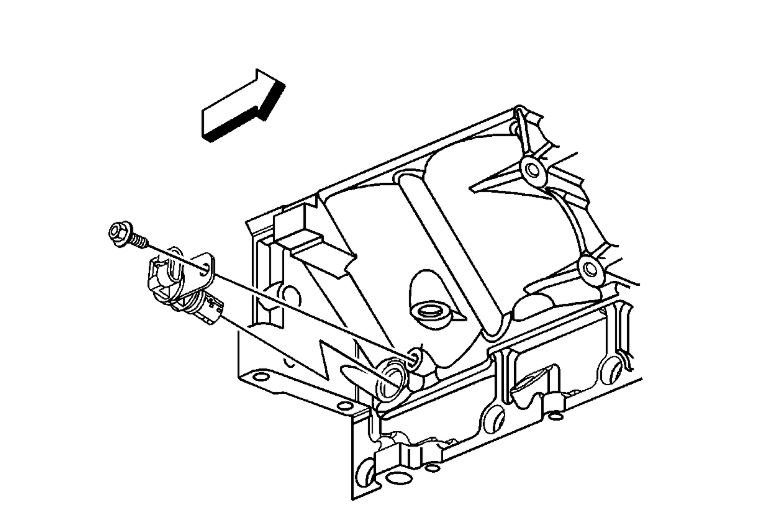
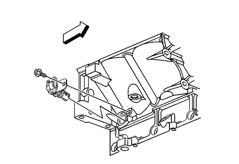
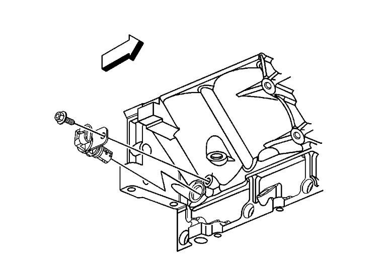
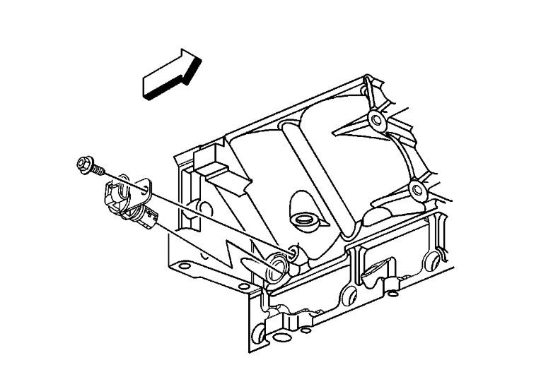
Crankshaft Position Sensor Replacement
Removal Procedure
Notice: In order to prevent damage to the crankshaft position (CKP) sensor reluctor wheel/ring, care must be used when removing or installing this component.





Raise and suitably support the vehicle. Refer to Lifting and Jacking the Vehicle in General Information.
Remove the fuel line bracket nut (5).
Remove the fuel line bracket from the bellhousing stud.
Lower the vehicle.



Remove the driver side rear ignition coil bolts.
Reposition the coil.
Disconnect the crankshaft position (CKP) sensor electrical connector.
Use penetrating oil and allow the oil to soak around the CKP sensor prior to removing the sensor.



Remove the CKP sensor bolt.
Prior to removal of the CKP sensor, twist the sensor back and forth.
Remove the CKP sensor.



Inspect the CKP sensor for wear.
Important: The CKP sensor is designed to contact the reluctor wheel of the crankshaft. Wear may be noticeable on the end of the sensor.

Normal CKP sensor wear will be shown on the wear strips (1), and no wear will be shown on the sensor sensing element (2).



Excessive or abnormal sensor wear will be shown on the sensing element (2).
If excessive/abnormal wear is present, replace the sensor.
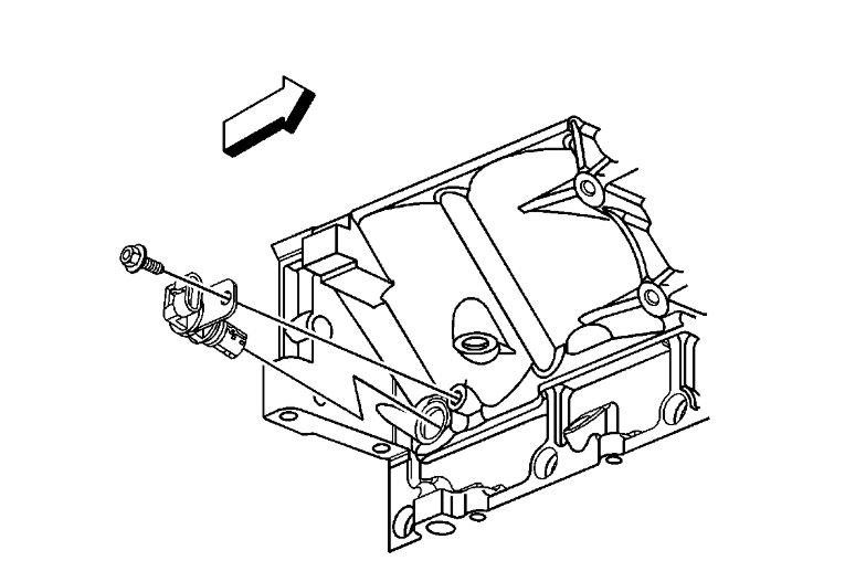
Installation Procedure




If reusing the old sensor, Inspect the O-rings for cuts, cracks, tears or damage, replace as needed.
Lubricate the CKP sensor O-rings with clean engine oil.
Important: Ensure that the CKP sensor is fully seated against the crankshaft reluctor ring. The upper flange on the sensor MAY NOT seat against the engine block.

Install the CKP sensor.
Important: The CKP sensor bolt has adhesive applied to the threads. The adhesive may have come off during removal of the bolt. Ensure that the bolt hole is clean of any debris before installing the reinstalling bolt.

If reusing the old sensor, apply thread adhesive GM P/N United States 12345493, GM P/N Canada 10953488, or equivalent to the bolt threads.
Notice: Use the correct fastener in the correct location. Replacement fasteners must be the correct part number for that application. Fasteners requiring replacement or fasteners requiring the use of thread locking compound or sealant are identified in the service procedure. Do not use paints, lubricants, or corrosion inhibitors on fasteners or fastener joint surfaces unless specified. These coatings affect fastener torque and joint clamping force and may damage the fastener. Use the correct tightening sequence and specifications when installing fasteners in order to avoid damage to parts and systems.

Install the CKP sensor bolt.
Tighten

Tighten the bolt to 12 N·m (106 lb in).





Connect the CKP sensor electrical connector.
Position the coil to the rocker cover.
Install the driver side rear ignition coil bolts.
Tighten

Tighten the bolts to 12 N·m (106 lb in).





Raise the vehicle.
Install the fuel line bracket to the bellhousing stud.
Install the fuel line bracket nut (5).
Lower the vehicle.
Perform the CKP system variation learn procedure. Refer to CKP System Variation Learn Procedure .

--------------------------------------------------------------------------------
May 10, 2021 at 11:34 AM (Merged)
Avatar
CARLOS RDZ
  • MEMBER
  • 1 POST
I was having problems with my fuel pump. It would have trouble turning on & when it did, barely. It would only stay on for a few seconds with very low rpm's. Changed my fuel filter & was still having trouble. Eventually it was working fine on it's own like nothing happened. Mechanic said my fuel pump was bad. Also, he said my crank position sensor was bad. He said that's why it had very low rpm's. If thus is correct , where is it located & how do you change it?

Thanks,
chevy enthusiast
Carlos Rdz.
May 10, 2021 at 11:34 AM (Merged)
Avatar
STRAILER
  • CAR REPAIR CONTRIBUTOR
  • 54,209 POSTS
Here is a video that shows the crankshaft position sensor being changed

https://youtu.be/sKo7xRWVNqY

Please run down this guide and report back.
May 10, 2021 at 11:34 AM (Merged)
Avatar
MICHAELEUBANKS58
  • MEMBER
  • 1 POST
my chevy 2001 silverado 2500hd 8.1l big block vortec , trying to change crankshaft position sensor , its in a bad location , but i have it located and can NOT pull it out , i can spin it 360degrees but will not pull out , i have lubed it with pb blaster , wd40 , oil , but nothing , HELP?
May 10, 2021 at 11:34 AM (Merged)
Avatar
KASEKENNY
  • CAR REPAIR CONTRIBUTOR
  • 18,907 POSTS
I am attaching the process for the manual for your review so that you can review that if needed.

however when these sensors are stuck it is because the seal has fused to the engine. Meaning it got hot enough to melt it slightly and it has cured to the engine. So you just need to use a set of vice grips and lock onto it and pull up. You can also put a screw driver flat on the engine next to it and use it as a leverage point to pry it out. Once you break that loose it will pull right out.

Let us know if you still can't get it out and we will come up with some other ideas however, if you can get pictures of the issue, that would help. Thanks
May 10, 2021 at 11:34 AM (Merged)
Avatar
SALLYGARCIA
  • MEMBER
  • 1 POST
Location of Crankshaft position sensor on 2001 Chevrolet Silverado 2500 HD 2WD 8.1L
May 10, 2021 at 11:34 AM (Merged)
Avatar
RASMATAZ
  • CAR REPAIR CONTRIBUTOR
  • 75,992 POSTS
It is near the starter here is a guide and a diagram below to help you get the job done.

https://www.2carpros.com/articles/crankshaft-angle-sensor-replacement

Check out the diagrams (Below). Please let us know if you need anything else to get the problem fixed.

Cheers
May 10, 2021 at 11:34 AM (Merged)
Avatar
OUTLAWLOGISTICS
  • MEMBER
  • 4 POSTS
I got some super bad gas and my truck stalled out. Purged fuel system, replaced fuel pump, got good fuel pressure but my truck won't crank. It will turn over and it tried to hit on ether but will not crank. I checked all my fuses in both fuse panels. I don't know what else to do.
May 10, 2021 at 11:34 AM (Merged)
Avatar
SCGRANTURISMO
  • CAR REPAIR CONTRIBUTOR
  • 4,897 POSTS
Hello again,

Okay, so let's make sure that your vehicle is getting spark, though. Here is a link below explaining how to check your vehicle's spark plugs for spark:

https://www.2carpros.com/articles/how-to-test-an-ignition-system

Please get back to us with what you find out and we can go from there.

Thanks,
Alex
2CarPros
May 10, 2021 at 11:34 AM (Merged)
Avatar
OUTLAWLOGISTICS
  • MEMBER
  • 4 POSTS
Spark plugs are getting spark.
May 10, 2021 at 11:34 AM (Merged)
Avatar
SCGRANTURISMO
  • CAR REPAIR CONTRIBUTOR
  • 4,897 POSTS
Hello again,

Okay, that's good. So this could be a problem with your vehicle's Crankshaft Position Sensor[CKP]. In the diagrams down below I have included a description of your vehicle's CKP operation, instructions for the removal and installation of your vehicle's CKP along with the CKP relearn procedure for your vehicle from the vehicle manufacturer. Please go through these guides and get back to us with how everything turns out.

Thanks,
Alex
2CarPros
May 10, 2021 at 11:34 AM (Merged)
Avatar
CHERYLSHIRK
  • MEMBER
  • 1 POST
Replaced crankshaft position sensor and know will not crank.
May 10, 2021 at 11:35 AM (Merged)
Avatar
STRAILER
  • CAR REPAIR CONTRIBUTOR
  • 54,209 POSTS
Was the sensor an AC Delco? if not I would replace the sensor with the OEM unit. Here is a guide to help:

https://www.2carpros.com/articles/crankshaft-angle-sensor-replacement

Please run down this guide and report back.
May 10, 2021 at 11:35 AM (Merged)
Avatar
STEVE33NJ
  • MEMBER
  • 3 POSTS
where is my camshaft and crankshaft position sensors located?
May 10, 2021 at 11:35 AM (Merged)
Avatar
SATURNTECH9
  • CAR REPAIR CONTRIBUTOR
  • 30,869 POSTS
In the one diagram it's number 5 on the distributor that's your cam sensor. The other diagram shows you where the crank sensor is. Check out the diagrams (Below). Please let us know if you need anything else to get the problem fixed.
May 10, 2021 at 11:35 AM (Merged)
Avatar
COREYLEO
  • MEMBER
  • 9 POSTS
I took the crankshaft sensor out and if I hold the bracket the sensor moves in the bracket should it move of should it be stationary
May 10, 2021 at 11:37 AM (Merged)
Avatar
JACOBANDNICKOLAS
  • CAR REPAIR CONTRIBUTOR
  • 110,190 POSTS
It should not move. If it does, it will mess up engine timing along with other things. Check out the diagrams below to see the sensor location and how to remove it.
May 10, 2021 at 11:37 AM (Merged)
Avatar
COREYLEO
  • MEMBER
  • 9 POSTS
Thanks for the answer I have replaced everything ignition wise but the camshaft sensor and crankshaft sensor can one or both of these caused no start. thanks for the help
May 10, 2021 at 11:37 AM (Merged)
Avatar
ZACKMCBRIDE
  • MEMBER
  • 1 POST
where is my crank sensor located?
May 10, 2021 at 11:38 AM (Merged)
Avatar
KASEKENNY
  • CAR REPAIR CONTRIBUTOR
  • 18,907 POSTS
I am attaching the procedure for the crank sensor. If you look just to the side of the crank pulley you should see it.

Let us know if you need more info.

Also, here are some guides about the CKP sensor that is good information:

https://www.2carpros.com/articles/symptoms-of-a-bad-crankshaft-sensor

https://www.2carpros.com/articles/crankshaft-angle-sensor-replacement
May 10, 2021 at 11:38 AM (Merged)
Avatar
BAGOLDPANNER
  • MEMBER
  • 3 POSTS
Book said this could be the crank or the cam sensor. I was told it had no cam sensor?
The motor will not time, if I change the position of the distributor the computer compensates for it.

My Question is this:
When I put the Harmonic Balancer on I had a kit of parts that came with the motor and there was a sleeve that came with the new balancer and it this parts kit. it fit over the crank shaft and I knocked it into the timing chain cover.
Is this part interfering with the Crank Sensor reading?
Could it have damaged the sensor itself?
Should it not be there?
Or do I just need to get a new Crank Sensor?

Thanks, Dave
May 10, 2021 at 11:39 AM (Merged)
Avatar
CLY
  • CAR REPAIR CONTRIBUTOR
  • 308 POSTS
It does have a Cam sensor.It is in the distributor. It is a hall effects senor that works off the ring in the distributor. I would check and make sure that the distributor is properly installed. If it is one tooth off it will set the light. Also if it set incorrectly you will not be able to get it in time. The distributor is supposed to be set to Zero and the computer adjusts all the timing. If the readings from the Crankshaft sensor and the Camshaft sensor are not corresponding the code will set. I would say that it has to be something with the way you have that distributor in there...

Cly
May 10, 2021 at 11:39 AM (Merged)
Avatar
BAGOLDPANNER
  • MEMBER
  • 3 POSTS
I'll check it again, but I thought the same thing and have installed the distributor 3 times now.
May 10, 2021 at 11:39 AM (Merged)
Avatar
BAGOLDPANNER
  • MEMBER
  • 3 POSTS
Well, I went through pulling the distributor and setting TDC again. Same thing.
May 10, 2021 at 11:39 AM (Merged)
Avatar
CLY
  • CAR REPAIR CONTRIBUTOR
  • 308 POSTS
Only thing that I can think of is that the distributor must be bad. Make sure the rotor fits on the distributor nice and tight. If that looks okay I would say to replace the distributor...

Cly
May 10, 2021 at 11:39 AM (Merged)
Avatar
CLY
  • CAR REPAIR CONTRIBUTOR
  • 308 POSTS
It is setting a P1335. If it was just the relearn issue then it would set a P1336 for the cam sensor variation not being relearned. I still think it something to do with that distributor being bad and that it needs to be set on zero after it is replaced.


Cly
May 10, 2021 at 11:39 AM (Merged)
Avatar
DRAUTOCOM
  • MEMBER
  • 1 POST
This does not mean the distributor is bad it is most likely one or two teeth off? it can have minor adjustments to it but you need a good scan tool to set it it has to be with in + or minus one to two degrees this can be viewed on dealer or high end snap on or Matco scanners as well as a few others. if you set it and it still is reading a good bit off 30 to 50 degrees you either have a bad distributor gear or a bad cam sensor the cam sensor is located inside the distributor. if you suspect it is the gear at the bottom of the distributor grab the rotor check for excessive play if it seems loose that is probably the problem you can just replace the gear.
If that is the problem and you have the time to wait you could order a complete distributor for some where for not much more if not less than the individual parts.


May 10, 2021 at 11:39 AM (Merged)
Avatar
ASEMASTER6371
  • CAR REPAIR CONTRIBUTOR
  • 52,796 POSTS
The distributor is not for timing at all. The ECM controls then engine timing. Check out the diagrams (Below). Please let us know what happens.

You need a scan tool that can see what is called the cam retard in degrees. That setting needs to be as close to 0 as possible. when it is not set correctly, this code will set and it means the cam and crank sensor is not in sync.


1. Bring cylinder number one piston to Top Dead Center (TDC) of compression stroke.

2. Remove the distributor cap bolts and discard.
3. Remove the distributor cap.

4. Install a NEW distributor gasket onto the distributor.

5. Align the indent hole on the driven gear with the paint mark on the distributor housing.
6. Ensure that the distributor rotor segment points to the cap hold area.

7. Align the slotted tang in the oil pump driveshaft with the distributor driveshaft. Rotate the oil pump driveshaft with a screwdriver if necessary.
8. Align the flat (1) in the distributor housing toward the front of the engine.
9. Install the distributor and distributor clamp.

10. Once the distributor is fully seated, align the distributor rotor segment with the number 8 pointer that is cast into the distributor base.
11. If the distributor rotor segment does not come within a few degrees of the number 8 pointer, the gear mesh between the distributor and camshaft may be off a tooth or more. Repeat the procedure in order to achieve proper alignment.

NOTICE: Refer to Fastener Notice in Service Precautions.

12. Install the distributor clamp bolt.
Tighten the distributor clamp bolt to 25 Nm (18 ft. lbs.).
Check out the diagrams (Below). Please let us know what happens.
May 10, 2021 at 11:39 AM (Merged)
Avatar
FUBAR69
  • MEMBER
  • 5 POSTS
where is the crankshaft position sensor located at and are they expensive to replace?
May 10, 2021 at 11:40 AM (Merged)
Avatar
MASTERTECHTIM
  • CAR REPAIR CONTRIBUTOR
  • 4,750 POSTS
try not to start new posts, keep replying to old post, it makes it easier on us to keep track of. very inexpensive repair. sensor is located to the left of the harmonic balancer, you cant miss it.
May 10, 2021 at 11:40 AM (Merged)
Avatar
FUBAR69
  • MEMBER
  • 5 POSTS
[quote:c3776218ce="mastertechtim"]try not to start new posts, keep replying to old post, it makes it easier on us to keep track of. very inexpensive repair. sensor is located to the left of the harmonic balancer, you cant miss it.[/quote:c3776218ce]

Thanks again and sorry about the new post. A newby mistake. I tried to give you feedback and pionts but I have no points and it wont let me give you any. You have been super helpfull and I appreciate it.
May 10, 2021 at 11:40 AM (Merged)