Mode actuator? My vents will not change from floor, vent or defrost?

Tiny
KASEKENNY
  • MECHANIC
  • 18,907 POSTS
This is due to the mode door motor/actuator. I attached the process on how to replace it. Let me know what questions you have. Thanks
Was this
answer
helpful?
Yes
No
-1
Friday, April 30th, 2021 AT 11:05 AM (Merged)
Tiny
HROD68*
  • MEMBER
  • 1 POST
I replaced the door motor actuator, and the air come out of the defroster area only.
Was this
answer
helpful?
Yes
No
-1
Friday, April 30th, 2021 AT 11:05 AM (Merged)
Tiny
KASEKENNY
  • MECHANIC
  • 18,907 POSTS
I am sure you have electrical actuators and not cable connected so we need to remove the actuator and keep it connected to the connector and then try to change the position. We need to see if the actuator will move or not. If it moves then the door is stuck. If not, we need to start checking voltage. Let us know what you find and then we can go from there. Thanks
Was this
answer
helpful?
Yes
No
+1
Friday, April 30th, 2021 AT 11:05 AM (Merged)
Tiny
JEBUDAH72419
  • MEMBER
  • 1 POST
  • 1999 CHEVROLET SILVERADO
  • 4.8L
  • V8
  • 2WD
  • AUTOMATIC
  • 267,740 MILES
I can turn on the air or the heat and it won't blow out the cabin vents, but it has very low air flow coming through the vents going to the extended cab part of the truck on both defrost and your normal vents. Also no air or heat coming out of the floor vents either.
Was this
answer
helpful?
Yes
No
Friday, April 30th, 2021 AT 11:05 AM (Merged)
Tiny
JACOBANDNICKOLAS
  • MECHANIC
  • 110,192 POSTS
Hi,

If you are unable to control the air flow direction, chances are there is an issue with what is called a mode door actuator. This actuator is responsible for directing air flow to the requested location.

If you look at pic 1, it shows the location of the mode door. What I would like you to do is remove the actuator and check to see if it moves when you change air flow directions. Also, make sure nothing is disconnected or damaged.

To access and remove the actuator isn't too hard, but will take more than a minute. Here are the directions for replacing the actuator. Before replacing it, check to make sure it isn't working and make sure nothing is disconnected or damaged. The attached pics correlate with the directions.

__________________________

1999 Chevy Truck C 1500 Truck 2WD V8-4.8L VIN V
Mode Actuator Replacement
Vehicle Heating and Air Conditioning Air Door Actuator / Motor Service and Repair Procedures Heating and Ventilation Mode Actuator Replacement
MODE ACTUATOR REPLACEMENT
REMOVAL PROCEDURE

pic 2

1. Remove the floor air outlet duct extension (1) from the floor duct (2).

Pic 3

2. Disconnect the electrical connection at the mode actuator (10).

Pic 4

3. Remove the mode actuator mounting screws from the HVAC module.
4. Remove the mode actuator as an assembly with the actuator cam.

INSTALLATION PROCEDURE

pic 5

1. Install the mode actuator as an assembly with the actuator cam.
- Line up the heater/defroster valve lever with the mode actuator cam slot.
- Line up the A/C valve lever with the mode actuator cam.

NOTE: Refer to Fastener Notice in Cautions and Notices.

2. Install the mode actuator mounting screw to the HVAC module.

Tighten
Tighten the mode actuator mounting screw to 1.6 N.M (14 lb in).

Pic 6

3. Connect the electrical connection at the mode actuator (10).

Pic 7

4. Install the floor air outlet duct extension (1) to the floor air duct (2).

____________________________________

Let me know what you find or if you have other questions.

Take care,
Joe
Was this
answer
helpful?
Yes
No
Friday, April 30th, 2021 AT 11:05 AM (Merged)
Tiny
HOPEFA1TH
  • MEMBER
  • 1 POST
  • 1999 CHEVROLET SILVERADO
  • 4.3L
  • 6 CYL
  • 260,000 MILES
Will not change to floor or A/C vents.
Was this
answer
helpful?
Yes
No
Friday, April 30th, 2021 AT 11:06 AM (Merged)
Tiny
JACOBANDNICKOLAS
  • MECHANIC
  • 110,192 POSTS
Hi:

It sounds like the mode door actuator isn't working. That is what changes air flow direction. Here are the directions specific to your vehicle for replacing the mode door actuator. The attached pictures correlate with the directions.

1. Remove the floor air outlet duct extension (1) from the floor duct (2).
2. Disconnect the electrical connection at the mode actuator (10).
3. Remove the mode actuator mounting screws from the HVAC module.
4. Remove the mode actuator as an assembly with the actuator cam.

INSTALLATION PROCEDURE
1. Install the mode actuator as an assembly with the actuator cam.
- Line up the heater/defroster valve lever with the mode actuator cam slot.
- Line up the A/C valve lever with the mode actuator cam.

NOTE: Refer to Fastener Notice in Cautions and Notices.

2. Install the mode actuator mounting screw to the HVAC module.

Tighten
Tighten the mode actuator mounting screw to 1.6 N.M (14 lb in).
3. Connect the electrical connection at the mode actuator (10).
4. Install the floor air outlet duct extension (1) to the floor air duct (2).

Check out the diagrams (Below). Let us know what happens and please upload pictures or videos of the problem.
Was this
answer
helpful?
Yes
No
-1
Friday, April 30th, 2021 AT 11:06 AM (Merged)
Tiny
ALLISON FORTNER
  • MEMBER
  • 1 POST
  • 1997 CHEVROLET SILVERADO
  • 82,000 MILES
My A/C blows out cold air and works great, but recently it has stopped blowing out of the vents, when the knob is on vents it blows out of the feet. All of the other options work like feet, defrost, defrost and feet, just not vents. I tried the fuse that's not the problem. Can anyone help? E this it has been in the heat of the day and running for awhile or driving for awhile. Thank you all for your help, I have two babies having a car is vital especially with a good A/C, in the middle of this Texas summer heat!
Was this
answer
helpful?
Yes
No
Friday, April 30th, 2021 AT 11:06 AM (Merged)
Tiny
KEN L
  • MASTER CERTIFIED MECHANIC
  • 55,302 POSTS
Hello,

This is common when the mode actuator goes out. here is a guide to help you change the unit out with diagrams below to help you with your truck:

https://www.2carpros.com/articles/replace-blend-door-motor

Check out the diagrams (below). Please let us know if you need anything else to get the problem fixed.

Was this
answer
helpful?
Yes
No
Friday, April 30th, 2021 AT 11:06 AM (Merged)
Tiny
MATTSON17
  • MEMBER
  • 1 POST
  • CHEVROLET SILVERADO
My heater works but I can't get it to blow out the defrost or the dash vents, its stuck on the floor heater. What could be the cause of this? Is it an easy fix or is it better to take it to a mechanic? Thanks for the help.
Was this
answer
helpful?
Yes
No
Tuesday, May 25th, 2021 AT 11:44 AM (Merged)
Tiny
JACOBANDNICKOLAS
  • MECHANIC
  • 110,192 POSTS
Hi,

The air flow direction on this vehicle is controlled by a mode door. Based on your selection, the mode door actuator changes the direction of air flow. What I would suggest is to remove the actuator and check it for operation. Chances are the actuator itself has failed.

Here are the directions for removal and replacement. The two attached pictures correlate with the directions.

_________________________________

1996 Chevy Truck K 2500 Truck 4WD V8-305 5.0L VIN M SFI
Actuator Removal and Installation
Vehicle Heating and Air Conditioning Air Door Actuator / Motor Service and Repair Procedures Actuator Removal and Installation
ACTUATOR REMOVAL AND INSTALLATION
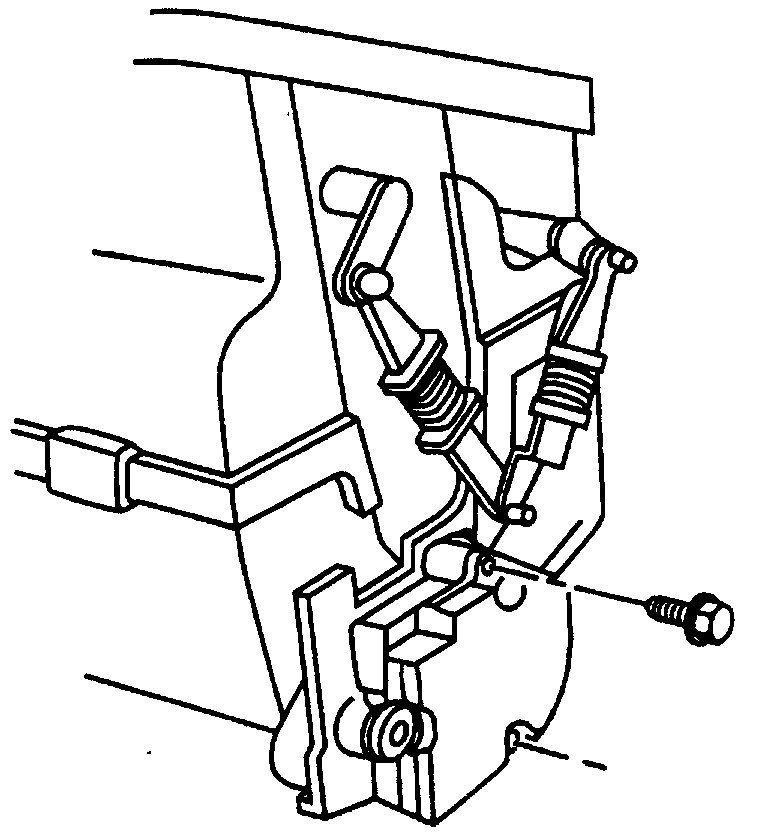
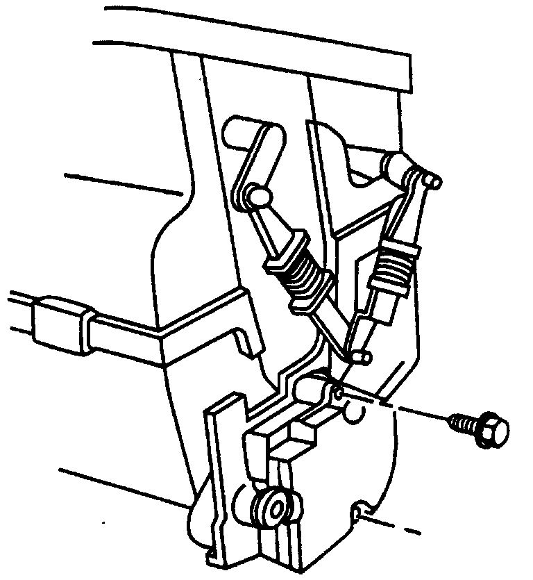
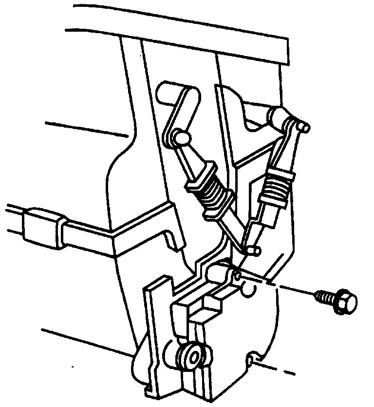
Mode Actuator Location

Pic 1

Mode Actuator Replacement

Pic 2

Remove or Disconnect
1. Negative battery cable.
2. Electrical connector.
3. Screws.
4. Adjuster links from control lever.
5. Mode actuator.

Adjust
A. Electrical connector to the actuator.
B. Turn the ignition key to the run position and let the actuator position itself.
C. Turn off the ignition key.
D. Remove the actuator from the electrical connection.

Install or Connect
1. Mode actuator.
2. Screws.
3. Adjuster links to control lever.
4. Electrical connector.
5. Negative battery cable.

Check circuit operation.

___________________________

I don't know if you will find this helpful, but here is a link that shows how a blend door actuator is replaced. The process is very similar. The difference is the link discusses a different actuator in the HVAC system that is responsible for temperature and not air flow direction. However, they are appear and work very similarly.

https://www.2carpros.com/articles/replace-blend-door-motor

Let me know if this helps or if you have other questions.

Take care,
Joe
Was this
answer
helpful?
Yes
No
-1
Tuesday, May 25th, 2021 AT 11:44 AM (Merged)
Tiny
KEN L
  • MASTER CERTIFIED MECHANIC
  • 55,302 POSTS
No start position when reassembling cams. Cams must be in the start position, when attaching new actuator.
Was this
answer
helpful?
Yes
No
Monday, October 23rd, 2023 AT 5:13 PM

Please login or register to post a reply.