It will crank over but will not start

Tiny
KEITH COY
  • MEMBER
  • 1989 GMC S15
  • 2.5L
  • 4 CYL
  • 2WD
  • MANUAL
  • 177,229 MILES
It crank s but will not start. I have replaced the distributor module and rotor and distributor cap and put a new ignition coil in. I also put new spark plugs and wires in it. I was coming home for work and I stop at a stop light and it was shaking and idling hard I made it home and shut it off. I went out next day for work and it would not start. Can someone help me please? Thank you. God Bless you and have a very blessed day.
Friday, March 2nd, 2018 AT 8:57 PM

14 Replies

Tiny
ASEMASTER6371
  • MECHANIC
  • 52,796 POSTS
Good morning

Can you check for spark?

Try spraying some carburetor cleaner into the air filter and see if it starts and stalls.

Did you do a compression test?

Roy
Was this
answer
helpful?
Yes
No
Saturday, March 3rd, 2018 AT 4:45 AM
Tiny
STEVE W.
  • MECHANIC
  • 15,691 POSTS
Fist thing I would do is put a jump pack on it, it is turning over slow. Next try shooting some starting fluid into the intake and see if it will fire on that. That would verify you have spark. If it fires on that you will want to check the fuel system for fuel pressure and flow.
Was this
answer
helpful?
Yes
No
Saturday, March 3rd, 2018 AT 4:49 AM
Tiny
KEITH COY
  • MEMBER
  • 8 POSTS
I have good fuel flow. I have pulled the lines of the carburetor and turned the key and it has good flow. I have spayed starter fluid and it still will not start. I bought a new battery for it and every jumped it, lol.
Was this
answer
helpful?
Yes
No
-1
Saturday, March 3rd, 2018 AT 8:27 AM
Tiny
KEITH COY
  • MEMBER
  • 8 POSTS
And it still will not start. I have been told it could have jumped time. I have been told that I need a new timing gears. And or a new distributor itself may have went bad, but no one know for sure. So that is why I replaced all the stuff I have so far. But I have used up my savings. So now I do not know. I live in Tulsa Oklahoma and around here. I have been quoted $600.00 up to $2,700.00. It is my only vehicle I used if to deliver food to people. It is my only job. So if anyone can help and I do Thank you for your response. God bless and have a very blessed day.
Was this
answer
helpful?
Yes
No
Saturday, March 3rd, 2018 AT 8:32 AM
Tiny
ASEMASTER6371
  • MECHANIC
  • 52,796 POSTS
Okay, you need to test for spark. Pull a spark plug wire and use a screwdriver as a plug and hold it to the valve cover while cranking.

If you have no spark, it could be the distributor pick up coil in the distributor since you change the coil and module.

To check for timing, do a compression test as I suggested.

Roy
Was this
answer
helpful?
Yes
No
Saturday, March 3rd, 2018 AT 8:52 AM
Tiny
KEITH COY
  • MEMBER
  • 8 POSTS
I do not my know how to do a compression test sir and I have tested the spark plug no spark.
Was this
answer
helpful?
Yes
No
Saturday, March 3rd, 2018 AT 8:55 AM
Tiny
ASEMASTER6371
  • MECHANIC
  • 52,796 POSTS
Okay, if you remove the distributor cap and rotor, the module is there that you replaced. One of the connectors goes to a pole piece in the distributor. Remove the wires from the module and use an ohm meter to test for resistance. It should read 800-1100 ohms.

Lets do that first. It sounds like that is your failure.

Roy
Was this
answer
helpful?
Yes
No
Saturday, March 3rd, 2018 AT 8:59 AM
Tiny
KEITH COY
  • MEMBER
  • 8 POSTS
If that is the problem how do I fix it? I have to call around and see if someone has one.
Was this
answer
helpful?
Yes
No
Saturday, March 3rd, 2018 AT 9:16 AM
Tiny
KEITH COY
  • MEMBER
  • 8 POSTS
Before it shut off on me. The idle would down on or rev really high when driving it when I stop at a stop light or stop sign. And the check engine light go off and on. I forgot to put that in my post. I am sorry about that.
Was this
answer
helpful?
Yes
No
Saturday, March 3rd, 2018 AT 9:42 AM
Tiny
ASEMASTER6371
  • MECHANIC
  • 52,796 POSTS
That is okay. The first thing is to get it running again.

To replace the pickup coil, you will need to remove the distributor, remove the pin holding the gear on the bottom of the shaft and remove the gear. Once that is off, the shaft lifts off the distributor and you can remove the coil.

Most parts houses stock this piece,

Roy
Was this
answer
helpful?
Yes
No
Saturday, March 3rd, 2018 AT 10:27 AM
Tiny
KEITH COY
  • MEMBER
  • 8 POSTS
I am today putting a new ignition coil on it. For a second time because the brand new one I put on a day ago had no spark, so I am making sure it is not bad. Does anyone know why it is not getting spark?
Was this
answer
helpful?
Yes
No
Sunday, March 4th, 2018 AT 8:21 AM
Tiny
ASEMASTER6371
  • MECHANIC
  • 52,796 POSTS
As I stated in my previous post, that pick up coil would cause the no spark issue. That is why it needs to be checked.

As far as the coil, you can try it but I doubt that is the issue.

Roy
Was this
answer
helpful?
Yes
No
-1
Sunday, March 4th, 2018 AT 11:41 AM
Tiny
KEITH COY
  • MEMBER
  • 8 POSTS
I do not know how to pull the distributor or change the pickup coil.
Was this
answer
helpful?
Yes
No
Sunday, March 4th, 2018 AT 1:32 PM
Tiny
ASEMASTER6371
  • MECHANIC
  • 52,796 POSTS
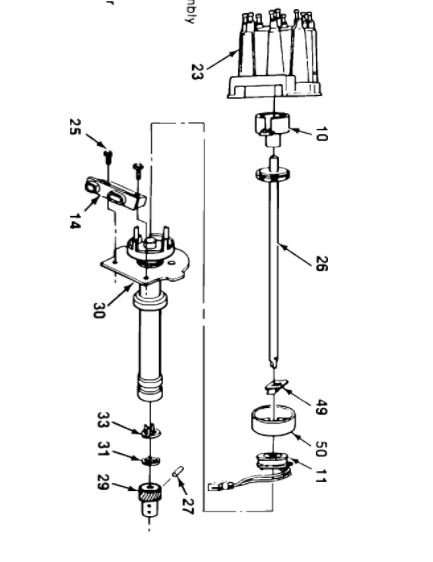
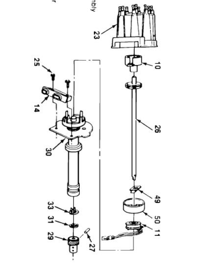
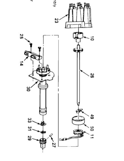
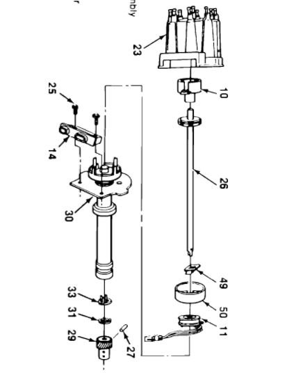
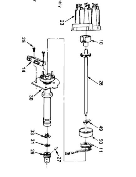
Number 11 in the picture is the pick up coil.

Roy

Instructions below

REMOVAL:

1. Disconnect the negative battery terminal.
2. Disconnect the wiring connectors at the side of the distributor cap.
3. Remove the distributor cap and move it out of the way.
A. Scribe a mark on the engine in line with the rotor.
B. Note the position of the distributor housing in relation to the engine.
4. Remove the distributor hold-down nut and clamp.
5. Remove the distributor.

INSTALLATION:

NOTE:

a. To ensure correct timing of the distributor, the distributor must be installed with the rotor correctly positioned as noted. If the engine was accidentally cranked after the distributor was removed, the following procedure can be used for installing.

A. Remove the number 1 spark plug.
B. Place finger over the number 1 spark plug hole and crank engine slowly until compression is felt.
C. Align timing mark on pulley to "0" on engine timing indicator.
D. Turn rotor to point to the 1 spark plug tower on the distributor cap.

B. If the distributor shaft will not drop down flush with the engine, it may be necessary to rotate the oil pump drive shaft to align it with the slot on the bottom of the distributor drive gear. Insert a screwdriver into the distributor hole in the engine and turn the oil pump drive shaft slightly to allow alignment.

1. Install the distributor.
2. Install the distributor hold-down clamp and retaining nut.
3. Install the distributor cap.
4. Connect the wiring harness connector at the side of the distributor cap.
5. Connect the negative battery cable.
6. Set ignition timing to specification.
Was this
answer
helpful?
Yes
No
Sunday, March 4th, 2018 AT 1:42 PM

Please login or register to post a reply.