ECC not working

Tiny
SANDDOLLAR
  • MEMBER
  • 21 POSTS
You are correct. Thanks I will have to do some checking at the fuse block, thanks.
John
Was this
answer
helpful?
Yes
No
Saturday, December 8th, 2018 AT 3:01 PM
Tiny
ASEMASTER6371
  • MECHANIC
  • 52,796 POSTS
You are welcome.

Always glad to help.

Roy
Was this
answer
helpful?
Yes
No
Saturday, December 8th, 2018 AT 3:02 PM
Tiny
SANDDOLLAR
  • MEMBER
  • 21 POSTS
Talk to you when I have some answers. Thanks, have a nice evening. John
Was this
answer
helpful?
Yes
No
Saturday, December 8th, 2018 AT 3:02 PM
Tiny
ASEMASTER6371
  • MECHANIC
  • 52,796 POSTS
You as well.

Roy
Was this
answer
helpful?
Yes
No
Saturday, December 8th, 2018 AT 3:03 PM
Tiny
SANDDOLLAR
  • MEMBER
  • 21 POSTS
Hi Roy I have installed another ecc module and everything is back up and working but I have codes even though the car runs smooth. Sorry to bother you late but when you get a chance. In diagnostic mode hear are the codes fuses and relays check ok. Have checked
one electrical connection and that is it as of now. Codes 00-29, 01-131,144,122,128. And they are rotating those numbers in 01. 02-110 03 -00 04- 00 05-109 06-00 so if I am correct we have three codes 00-29 which is secondary injection (electrical ) and the other
two I have no clue. I appreciate all previous help. Have a nice evening and when you have some time Roy.
Thans John Reddin
Was this
answer
helpful?
Yes
No
Saturday, December 15th, 2018 AT 2:58 PM
Tiny
ASEMASTER6371
  • MECHANIC
  • 52,796 POSTS
Okay, got it.

At the codes you got, was there a letter in front of these codes such as E or F and then the numbers?

Did you get the codes off the climate control?

Roy
Was this
answer
helpful?
Yes
No
+1
Saturday, December 15th, 2018 AT 5:36 PM
Tiny
SANDDOLLAR
  • MEMBER
  • 21 POSTS
Hi Roy sorry not to answer but your to fast for me. I used the climate control but see no letters how do I get the letter? John talk to you on Sunday, thanks.
Was this
answer
helpful?
Yes
No
Saturday, December 15th, 2018 AT 7:11 PM
Tiny
ASEMASTER6371
  • MECHANIC
  • 52,796 POSTS
Sounds good.
Was this
answer
helpful?
Yes
No
Saturday, December 15th, 2018 AT 7:27 PM
Tiny
SANDDOLLAR
  • MEMBER
  • 21 POSTS
Good morning Roy. I have the big repair manual but it is tech oriented I can make copy of the pages that have the code DTC 29 and you can see if you can guide me through it.
The book seems to acknowledge that codes with 110 are history readings and cant seem to find how to clear. That is it let me know where you want me to go from here. The page in the manual talks about secondary air injection pump electrical strength. John
Was this
answer
helpful?
Yes
No
Sunday, December 16th, 2018 AT 6:33 AM
Tiny
ASEMASTER6371
  • MECHANIC
  • 52,796 POSTS
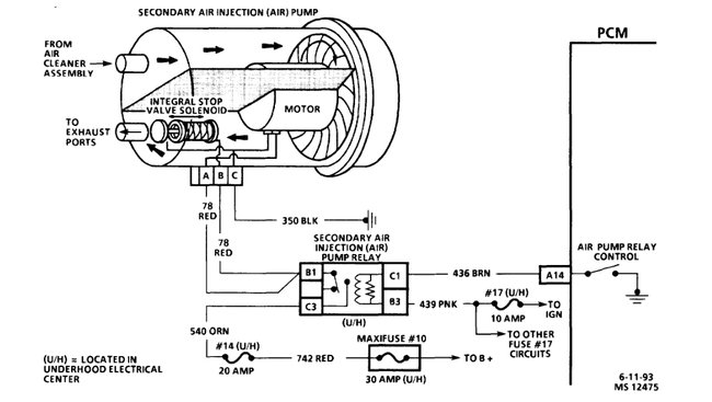
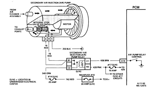
Okay, found the information on the code 29 for you. Looks like a electrical issue with the secondary system. I attached a flow chart and a description of the system. To view and follow.

Roy

CIRCUIT DESCRIPTION
During cold starts, above -8.5°C (17°F), the Power-train Control Module (PCM) completes the ground circuit to the air pump relay which enables the air pump and integral stop valve. Air is directed to the exhaust ports whenever the engine is started. Whenever the fuel system enters "Closed Loop, " or the air pump has been "ON" for greater than 240 seconds, the PCM opens the ground circuit to the air pump relay, and the air pump is de-energized and the integral stop valve closes.

CHART TEST DESCRIPTION
Numbers below refer to circled numbers on the diagnostic chart.

1. The PCM should energize the air pump when engine coolant temperature is greater than -8.5°C (17°F) and fuel system not in "Closed Loop." If any Diagnostic Trouble Codes (DTCs) are present the PCM will not energize the Air Injection Reaction (AIR) pump.

The fuel system must be operating in "Open Loop" to perform this test. If the system goes to "Closed Loop, " stop the engine and allow some time to cool down then restart.

2. Air pump relay is located in the under-hood electrical center.

3. The PCM should de-energize the air pump relay when engine speed exceeds 2825 RPM.

4. Selecting "Miscellaneous Test" then outputs and then AIR system on the Tech 1 Scanner should enable the AIR pump and integral stop valve.

DIAGNOSTIC AIDS
There is a possibility that the AIR pump motor will be operating, but no air is being distributed to the AIR system. A restriction in the air hoses or pipes may be the cause or the integral stop valve may not be opening. The integral stop valve is part of the air pump. It the integral stop valve is not opening, vacuum may be building up in the air system, due to a faulty vacuum bleed valve.
Was this
answer
helpful?
Yes
No
+1
Sunday, December 16th, 2018 AT 6:50 AM
Tiny
SANDDOLLAR
  • MEMBER
  • 21 POSTS
Thanks that is where I will start. Have a great day Roy. I will let you know what I find. Today
looks like Christmas shopping day. Thanks again.
Was this
answer
helpful?
Yes
No
Sunday, December 16th, 2018 AT 6:59 AM
Tiny
ASEMASTER6371
  • MECHANIC
  • 52,796 POSTS
You are welcome.

Always glad to help.

Roy
Was this
answer
helpful?
Yes
No
Sunday, December 16th, 2018 AT 7:11 AM

Please login or register to post a reply.