High engine revs

Tiny
ALLAN CHETTY
  • MEMBER
  • 31 POSTS
Thanks will try that. Stay blessed.
Was this
answer
helpful?
Yes
No
Thursday, April 30th, 2020 AT 7:20 AM
Tiny
ALLAN CHETTY
  • MEMBER
  • 31 POSTS
Hi Kenny, would you happen to know the measurement of the pintle in parked position in the IAC, the to the open is 28mm. But my pintle came of and I refitted I also tried to reset but car still not right. Thanks
Was this
answer
helpful?
Yes
No
Thursday, April 30th, 2020 AT 7:25 AM
Tiny
KASEKENNY
  • MECHANIC
  • 18,907 POSTS
So this is interesting because I have never experienced this before. But you installed it at 28mm and the spec on installing the IAC is 11/8 inches which is 35mm (34.9mm to be exact). It cannot be any greater then this or it will damage the assembly. So let's install this at this length and retest it. Also, pay attention to the last sentence where it says on 84-88 the ECM will reset idle speed when driven over 35 MPH. So run through this process and then drive the vehicle and see if that fixes it.

Also, make sure you are measuring as the image shows. Thanks
Was this
answer
helpful?
Yes
No
Friday, May 1st, 2020 AT 10:18 AM
Tiny
ALLAN CHETTY
  • MEMBER
  • 31 POSTS
Good morning, God is good today we have partial freedom. I reset the IAC and drove around but to run smooth I set timing to 10 degrees advance and the idle problem still high. The only thing I haven't done is vacuum test because I don't have pump. I got an air tire pump will try that. Thanks a million for taking the time to respond to me. Stay blessed.
Was this
answer
helpful?
Yes
No
Friday, May 1st, 2020 AT 11:48 PM
Tiny
ALLAN CHETTY
  • MEMBER
  • 31 POSTS
Hi Kenny,

When I press under the EGR valve (cleaned) the car used to stumble or cut out now it does not do that, no response from engine when pressed. Thanks
Was this
answer
helpful?
Yes
No
Saturday, May 2nd, 2020 AT 12:14 AM
Tiny
KASEKENNY
  • MECHANIC
  • 18,907 POSTS
Clearly we need a gauge/pump to test the vacuum but here is a guide that will help with how to check for a vacuum leak. Basically you spray carb cleaner around the intake and vacuum hoses to see when the RPM raises.

https://www.2carpros.com/articles/how-to-use-an-engine-vacuum-gauge
Was this
answer
helpful?
Yes
No
-1
Saturday, May 2nd, 2020 AT 6:38 PM
Tiny
ALLAN CHETTY
  • MEMBER
  • 31 POSTS
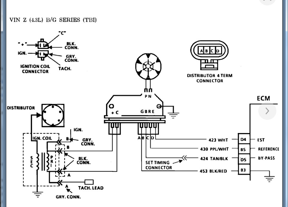
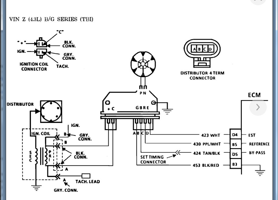
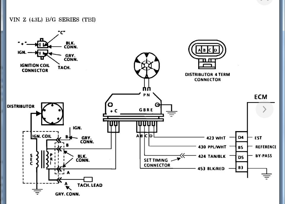
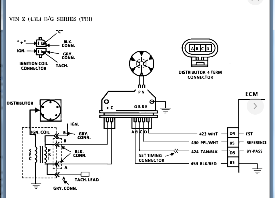
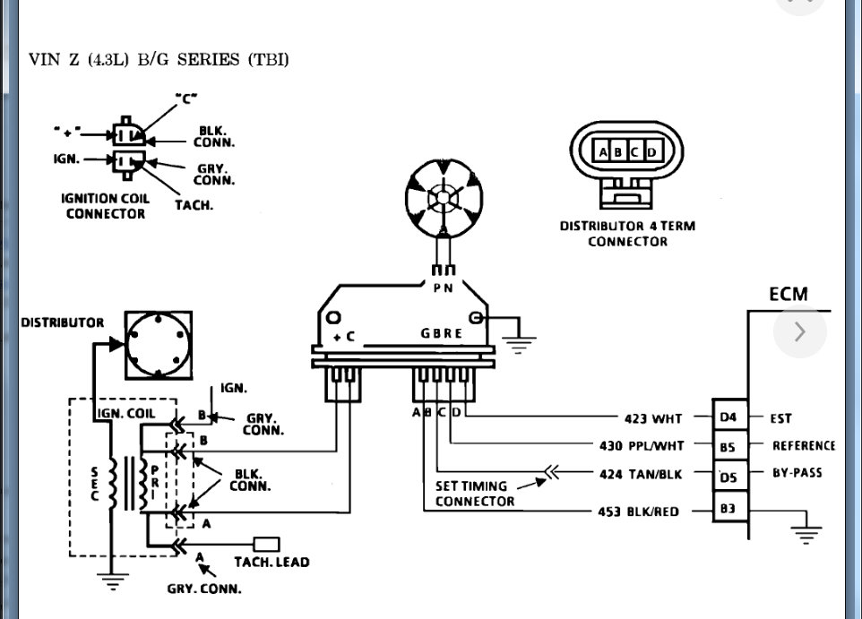
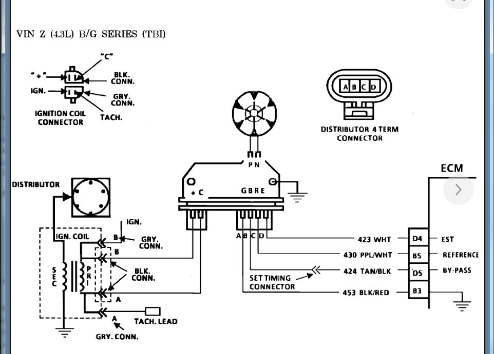
Hi Kenny, trust you are well. Thanks for your time to address me. We in S.A. Back to usual life with precautions, my car listed above 5l. TBI, v8 so far this what I done: I replaced the whole TBI unit with a second hand set, new rotor, plugs, wires, cleaned EGR and co2 sensor, MAP sensor, checked no vacuum leaks, timing set at 6% bdc. The spray from injectors evenly both sides, another temperature sensor: here is where we are at : normal temperature idling at15/25k, no missing or hesitation, drive 30 seconds and then backfires through exhaust lots and if throttled then backfires through carburetor, the code 42 says est gnd or open. I don’t know how to fix. Any help will be appreciated thanks God Bless.
Was this
answer
helpful?
Yes
No
Thursday, June 18th, 2020 AT 11:49 AM
Tiny
KASEKENNY
  • MECHANIC
  • 18,907 POSTS
Great to hear. Parts of the USA are getting back to normal as well.

As for this issue we are going to have to get a new post started. Unfortunately we need to keep each post pretty tight to what the heading states. That way when others have the same issue you are they can find the answer. Backfiring is just a little too different then high idle, plus some may have backfiring on this vehicle and not a high idle so they will never find it under this post.

I attached the info about this code so if you can run through this and then post your results on a new post we will tackle this one with you as well. Thanks

https://www.2carpros.com/questions/new
Was this
answer
helpful?
Yes
No
Friday, June 19th, 2020 AT 5:44 PM

Please login or register to post a reply.