Hesitation accelerating, stalls turning left at low speed

Tiny
MJWILLIAMS95
  • MEMBER
  • 2004 GMC YUKON
  • 5.3L
  • V8
  • 4WD
  • AUTOMATIC
  • 220,000 MILES
Hesitates on acceleration after driving for a while. Also at freeway speed going over bumps it hesitates. And also it stalls when turning left at low speed. It idles fine, starts fine. Does not rev, only loses power. Does not throw any codes.
Thinking it’s the TPS or fuel pump. But I am mostly lost.
Anyone have this issue and get it fixed?
Saturday, June 20th, 2020 AT 2:34 PM

6 Replies

Tiny
DANNY L
  • MECHANIC
  • 5,648 POSTS
Hello, I'm Danny.

The first thing you should try is to test the fuel pressure.It sounds like you might have a weak or failing fuel pump.If you don't have access to a fuel pressure tester most auto parts stores have a tool loaner program and can rent you one.Here is a tutorial showing what is involved to test:

https://www.2carpros.com/articles/how-to-check-fuel-system-pressure-and-regulator

The fuel pressure specifications for your vehicle is with Key on engine off is 55-62 p.s.i. Hope this helps and thanks for using 2CarPros.
Was this
answer
helpful?
Yes
No
+1
Saturday, June 20th, 2020 AT 2:47 PM
Tiny
MJWILLIAMS95
  • MEMBER
  • 4 POSTS
Thanks, Danny! I will do that.
Was this
answer
helpful?
Yes
No
Saturday, June 20th, 2020 AT 2:56 PM
Tiny
DANNY L
  • MECHANIC
  • 5,648 POSTS
You're welcome!
Get back to us with the results and we'll go from there. Thanks again for using 2CarPros.

Danny-
Was this
answer
helpful?
Yes
No
Saturday, June 20th, 2020 AT 3:06 PM
Tiny
MJWILLIAMS95
  • MEMBER
  • 4 POSTS
Will do.
Was this
answer
helpful?
Yes
No
+1
Saturday, June 20th, 2020 AT 3:12 PM
Tiny
MJWILLIAMS95
  • MEMBER
  • 4 POSTS
46psi. Looks like I’m doing a pump.
Was this
answer
helpful?
Yes
No
Saturday, June 20th, 2020 AT 3:54 PM
Tiny
DANNY L
  • MECHANIC
  • 5,648 POSTS
Hello again.

Yes, seems your pressure is below specification.That would definitely cause stalling and hesitation.Here is a tutorial showing what is involved for an in-tank fuel pump replacement:

https://www.2carpros.com/articles/how-to-replace-an-electric-fuel-pump

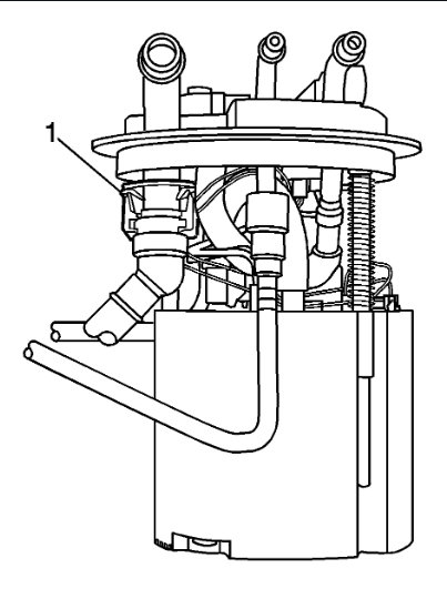
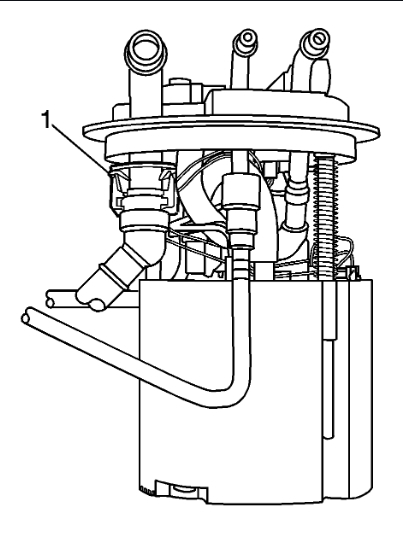
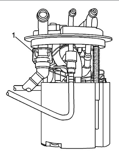
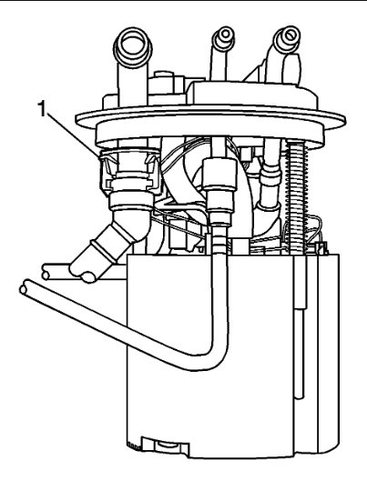
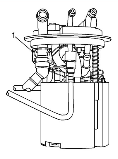
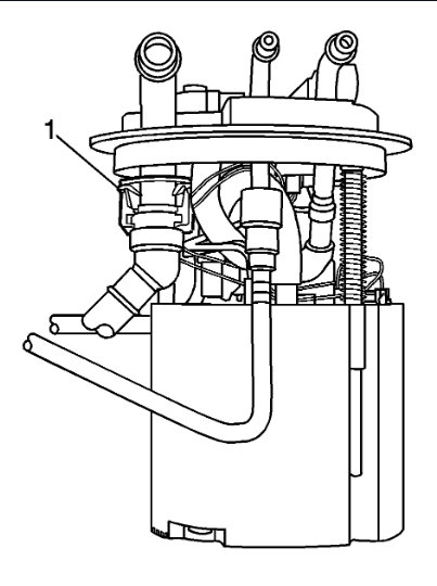
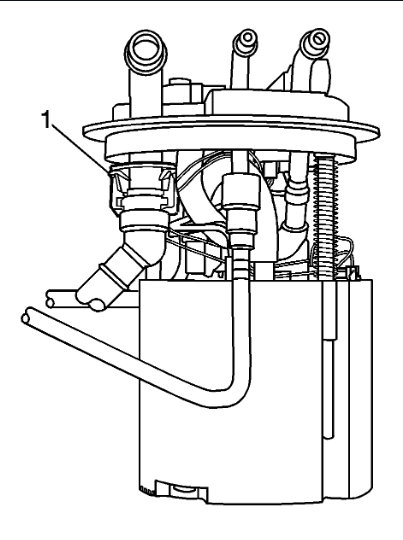
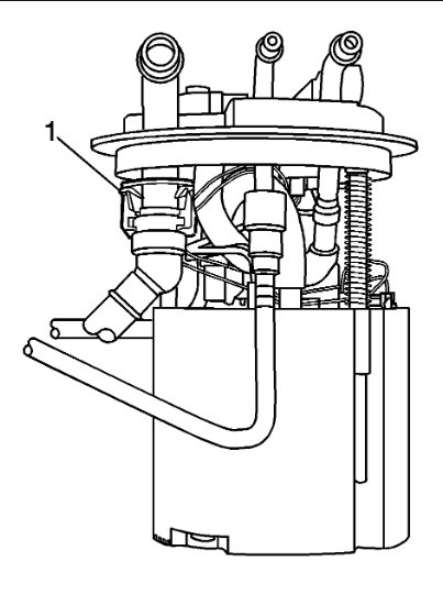
I've attached picture replacement steps below on removal of fuel tank and the removal of fuel pump for your vehicle.Let me know if you have any further questions on this issue.Hope this helps and thanks again for using 2carPros.

Danny-
Was this
answer
helpful?
Yes
No
Saturday, June 20th, 2020 AT 4:48 PM

Please login or register to post a reply.