Headlight relay location?

Tiny
HARRMIC
  • MEMBER
  • 2004 CHEVROLET IMPALA
  • 3.4L
  • V6
  • 250,000 MILES
Got no dims or daytime lights.
Monday, November 25th, 2019 AT 9:40 AM

9 Replies

Tiny
DANNY L
  • MECHANIC
  • 5,648 POSTS
Hello, I'm Danny.

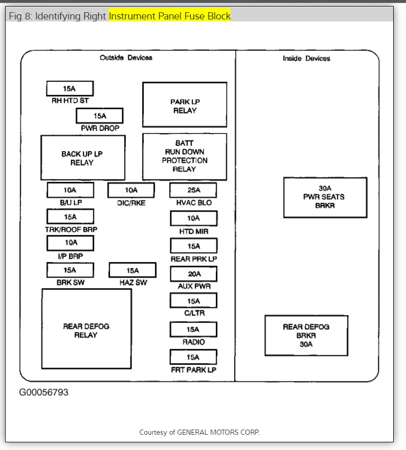
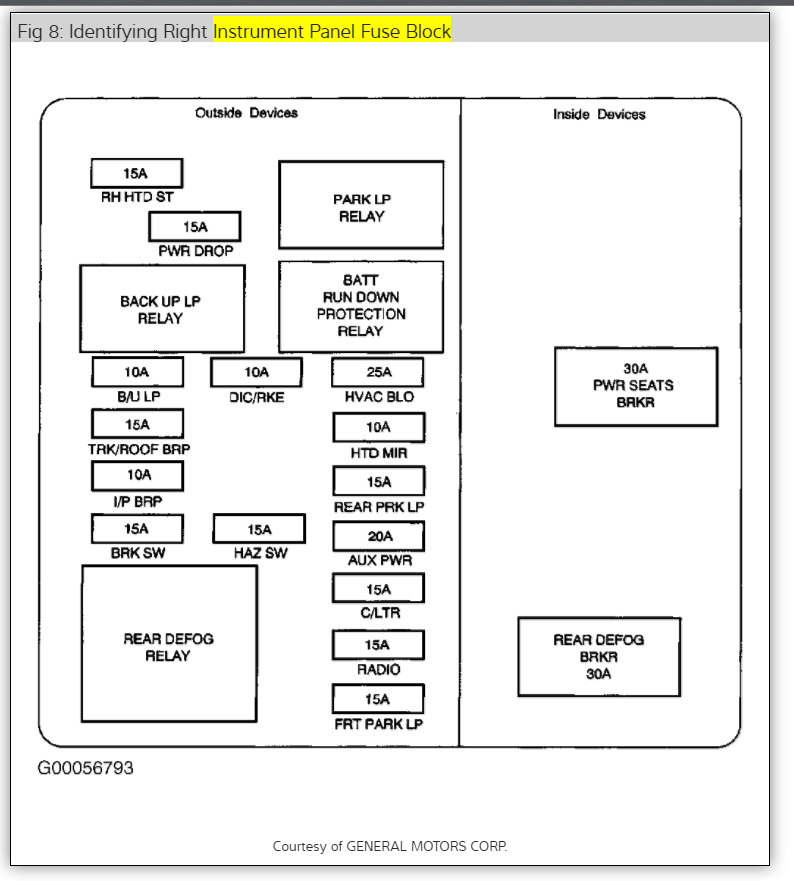
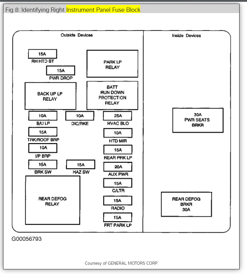
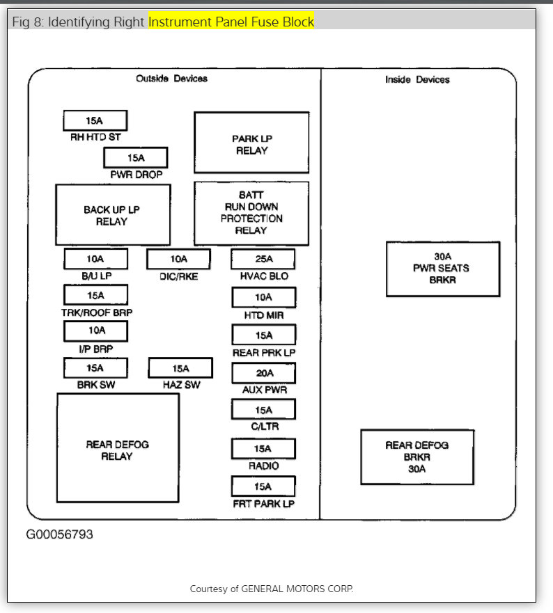
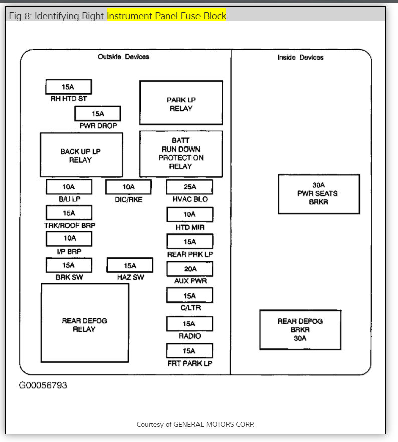
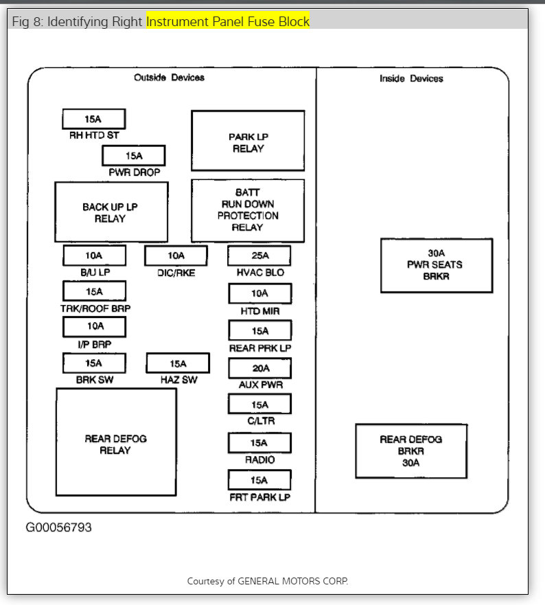
I've attached the picture you requested below. Hope this helps and thanks for using 2CarPros. Check out the diagrams (Below). Please let us know if you need anything else to get the problem fixed.
Was this
answer
helpful?
Yes
No
-1
Monday, November 25th, 2019 AT 4:57 PM
Tiny
CJOHNSON2020
  • MEMBER
  • 1 POST
  • 2002 CHEVROLET IMPALA
  • V6
  • 2WD
  • AUTOMATIC
  • 100,000 MILES
Dash light came on saying my high beams were out. Checked on them and discovered this was isolated to the left high beam. All other lights are working. I replaced the bulb, didn’t fix it. Cleaned out the headlamp connector socket, didn’t fix it. Checked the fuse, but it was still good. Correct me if I’m wrong, but don’t think it would be an issue with the headlamp relay since I still have the rest of the lights functioning? I’m learning as I go here†not experienced at working on cars by no means. So any advice/instructions on what else to check would be much appreciated.
Was this
answer
helpful?
Yes
No
+2
Thursday, December 3rd, 2020 AT 8:35 AM (Merged)
Tiny
STEVE W.
  • MECHANIC
  • 15,537 POSTS
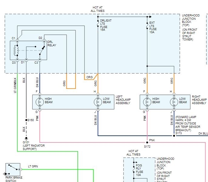
Correct the headlamp relay controls all the headlights. Fuse - one feeds both high beams other feeds both low beams. Does the lamp work when the daytime running lights come on? If not and no high beam then it is one of two things, either the DRL relay in the under hood junction box has failed and it isn't switching or the wiring has a problem. Testing the wiring will need a jumper wire or a test light. If you look at the wiring diagram the pink wire to the left headlight is the first to test. It is the ground control from the switch. With a test light connected to the battery positive and touched to the pin connected to the pink wire, with the headlight switch and key on the light should come on if the wire from the other side is good. If the light comes on you will want to check the DRL relay in the box under the hood as it may be faulty. On some of the GM's the pins are marked on the relays and on the fuse box. Others are only on the relay. To test the relay socket you can put the test light onto battery positive, then use the probe with the key on and headlights on. First touch the relay box terminal that pin 87 connects to, the light should come on, that verifies that the ground for that pin is good, next test pins 85 and 86. One will light the light as it's the ground to the control module. Now connect the test light to ground. Now touch 85 and 86 again. One will light the light if there is power to the relay. Next touch pins 87A and pin 30. The light should be bright on both if the wiring is good. If they all test out then replace the relay, or if you don't want to do the testing you could just replace the relay as the test. However the testing would show if there was a wiring issue.

https://www.2carpros.com/articles/how-to-use-a-test-light-circuit-tester
Was this
answer
helpful?
Yes
No
+4
Thursday, December 3rd, 2020 AT 8:35 AM (Merged)
Tiny
SCARLETTE090
  • MEMBER
  • 1 POST
  • 2002 CHEVROLET IMPALA
V8 front wheel drive automatic.

Where is the headlamp relay located? Looked where it was supposed to be but cannot find it. Could you give me detailed instructions please?
Was this
answer
helpful?
Yes
No
-1
Thursday, December 3rd, 2020 AT 8:35 AM (Merged)
Tiny
KEN L
  • MASTER CERTIFIED MECHANIC
  • 54,845 POSTS
Hello,

There are two relays that run the system. One is headlight relay the other is the DRL control relay. Here is a guide to help you do the testing:

https://www.2carpros.com/articles/how-to-check-an-electrical-relay-and-wiring-control-circuit

and if the relay is okay

https://www.2carpros.com/articles/how-to-use-a-test-light-circuit-tester

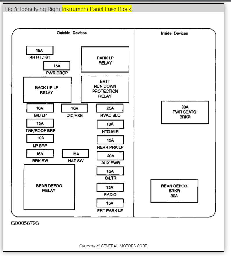
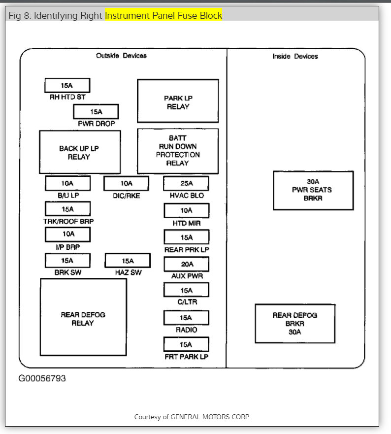
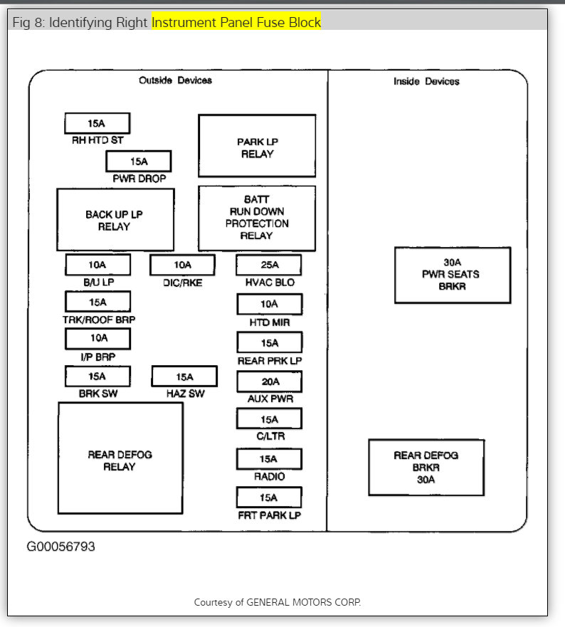
So you can see where you are losing power. Here is a headlight wiring diagram and the fuse panel and relay location diagrams (below).

Please let us know what happens.

Cheers, Ken
Was this
answer
helpful?
Yes
No
-2
Thursday, December 3rd, 2020 AT 8:35 AM (Merged)
Tiny
MARK BLUE
  • MEMBER
  • 1 POST
The headlamp relay is in the dash on the back side of the fuse panel inside the driver side dash.
Was this
answer
helpful?
Yes
No
+2
Thursday, December 3rd, 2020 AT 8:35 AM (Merged)
Tiny
KEN L
  • MASTER CERTIFIED MECHANIC
  • 54,845 POSTS
Great addition to this thread! Please feel free to help out whenever you are on the site. :)

Cheers, Ken
Was this
answer
helpful?
Yes
No
Thursday, December 3rd, 2020 AT 8:35 AM (Merged)
Tiny
CHAWHEE1
  • MEMBER
  • 1 POST
  • 2000 CHEVROLET IMPALA
Electrical problem
2000 Chevy Impala 6 cyl Front Wheel Drive Automatic

We don't have head lights! Is this the switch or the relay and where is the relay located?
Was this
answer
helpful?
Yes
No
-1
Thursday, December 3rd, 2020 AT 8:35 AM (Merged)
Tiny
BLUELIGHTNIN6
  • MECHANIC
  • 16,542 POSTS
Check fuses and relay. Headlamp relay is located on top side of left instrument panel fuse block. If fuses and relay are OK then suspect faulty headlamp switch.
Was this
answer
helpful?
Yes
No
-2
Thursday, December 3rd, 2020 AT 8:35 AM (Merged)

Please login or register to post a reply.