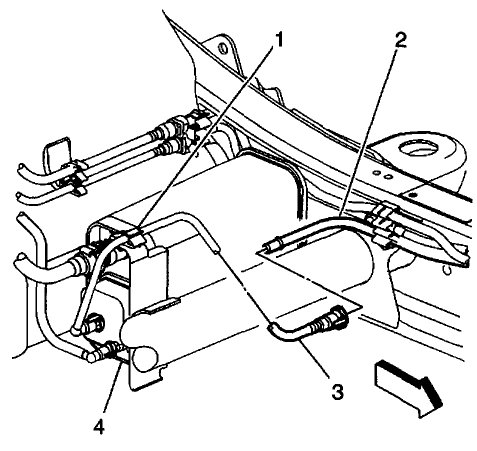
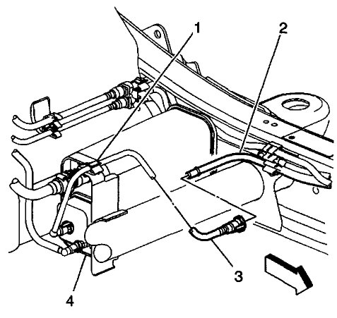
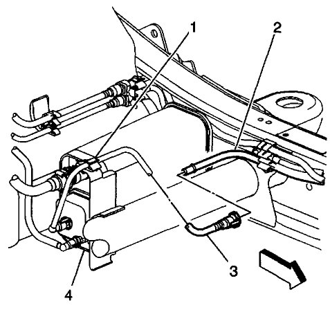
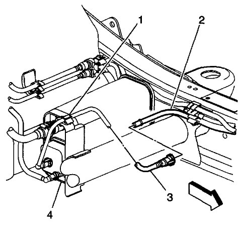
Someone prior to me worked on this vehicle and did a hobb cobb job to it. The fuel lines are broke and disconnected and he has other hoses and what not hooked up his own way. He even used a air hose to run a return line but it goes to the vent tube on the tank by the fill tube and ia mow leaking gas very badly.
If you can help me with this ladies vehicle I would highly appreciate it.
Thank you in advance.
Bruce
Sunday, June 20th, 2021 AT 3:24 PM




