Since the switch seems to work, check for broken wires in the rubber condiut that runs from the door into the car...Also check the relays, there are two under the dash, one is the drivers door, and the other is all...


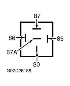
RELAYS Except Driver's Door Unlock & Interior Light Relays 1. Remove relay to be tested. See Fig. 1 , Fig. 2 and Fig. 5 . Measure resistance between terminal No. 85 and all other terminals. If all resistance readings are greater than 5 ohms, go to next step. If any resistance reading is 5 ohms or less, replace relay. 2. Measure resistance between terminal No. 30 and terminal No.87a. If resistance is 5 ohms or less, go to next step. If resistance is greater than 5 ohms, replace relay. 3. Apply battery voltage to terminal No. 85 and ground terminal No. 86. Measure resistance between terminal No. 30 and terminal No.87. Resistance should be 5 ohms or less. Measure resistance between terminal No. 30 and terminal No.87a. Resistance should be greater than 5 ohms. If resistance is not as specified, replace relay. If resistance is as specified, relay is okay at this time. Driver's Door Unlock & Interior Light Relays 1. Remove driver's door unlock relay from instrument panel fuse block. See Fig. 2 . Measure resistance between terminal No. 5 and all other terminals. See Fig. 6 . If all resistance readings are greater than 5 ohms, go to next step. If any resistance reading is 5 ohms or less, replace relay. 2. Measure resistance between terminal No. 3 and terminal No.4. If resistance is 5 ohms or less, go to next step. If resistance is greater than 5 ohms, replace relay. 3. Apply battery voltage to terminal No. 1 and ground terminal No. 2. Measure resistance between terminal No. 3 and terminal No. 5. Resistance should be 5 ohms or less. Measure resistance between terminal No. 3 and terminal No.4. Resistance should be greater than 5 ohms. If resistance is not as specified, replace relay. If resistance is as specified, relay is okay at this time. Fig. 5: Identifying Relay Terminals (Except Driver's Door Unlock & Interior Light Relays) Courtesy of FORD MOTOR CO. Fig. 6: Identifying Driver's Door Unlock & Interior Light Relay Terminals Courtesy of FORD MOTOR CO. Page 1 of 1 POWER DOOR LOCKS & TRUNK RELEASE -1999 Ford Taurus LX 8/10/2008
Sunday, August 10th, 2008 AT 7:44 AM