This is an involved process. Here is what I was able to find for you. I hope it helps.
1.Before servicing the vehicle, refer to the Precautions Section.
2.Loosen the strut center nut 5 turns.
3.Loose the wheel hub retaining nut.
4.Remove or disconnect the following:
Front wheel
Wheel speed sensor, if equipped
Hub retainer nut. Mark the nut.
Brake caliper and rotor
Outer tie rod end
Lower ball joint
5. Separate the wheel hub from the halfshaft using a suitable puller.
6. Remove the steering knuckle pinch bolt
7. Release the knuckle using a suitable lever and remove from the vehicle.
8. Remove the wheel hub and outer bearing race using Special Tool 205-D064
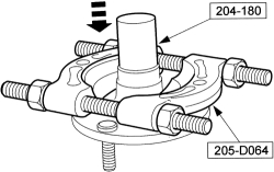
9. Remove the bearing inner ring using Special Tools 204-180 and 205-D064
10. Remove the snapring from the knuckle.
11. Reassemble the bearing cage to the bearing inner and install to the wheel knuckle.
12. Using Special Tools 205-153, 204-023 and 206-054, remove the bearing outer ring from the wheel knuckle.
Fig. Removing hub using a suitable puller

Fig. Removing outer bearing race using puller 205-D064

Fig. Removing the bearing inner ring using Special Tool 204-180

Fig. Removing the bearing outer ring from the wheel knuckle

To install:
1.Press the bearing into the hub using Special Tools 205-153 and 205-140.
Fig. Installing the bearing into the hub with installer 205-140

2. Install the snapring.
3. Press the hub into the wheel bearing using Special Tools 205-153, 204-023 and 206-054.
4. Draw the stub shaft into the wheel hub with Halfshaft installer 205-379.
5. Install or connect the following:
Steering knuckle. Tighten the pinch bolt to 66 ft. lbs. (90 Nm).
Lower ball joint. Tighten the pinch bolt to 37 ft. lbs. (50 Nm).
Outer tie rod end. Tighten the nut to 35 ft. lbs. (48 Nm).
Brake caliper and rotor
Hub retainer nut. Tighten the nut on 2002-04 models to 232 ft. lbs. (316 Nm). Tighten 2005 Models to 199 ft. lbs. (270 Nm).
Wheel speed sensor, if equipped
Front wheel
6. Tighten the strut center nuts as follows:
A. 2002-04 Models: 35 ft. lbs. (48 Nm)
B. 2005 Models: 22 ft. lbs. (30 Nm).
7. Check the wheel alignment and adjust as necessary.
I hope it helps. It's the best I could find for you on the net. Let me know if you have specific questions.
Joe
Wednesday, November 11th, 2009 AT 10:16 PM