HOME
ASK A QUESTION
REPAIR GUIDES
BECOME A MEMBER
LOG IN
Login with Facebook
OR
Remember me
NOT A MEMBER?
FORGOT PASSWORD?
CONTACT US
PRIVACY POLICY
TERMS AND CONDITIONS
☰
Home
Ford
F-350
Ignition
Firing Order
Firing order diagram needed?
JOHN2024
MEMBER
1994 FORD F-350
7.5L
V8
2WD
AUTOMATIC
71,000 MILES
Has a misfire because I changed the ignition coil cap wires and I didn't do it the right way. I need the diagram.
Tuesday, May 6th, 2025 AT 9:47 AM
1 Reply
STEVE W.
MECHANIC
15,695 POSTS
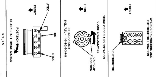
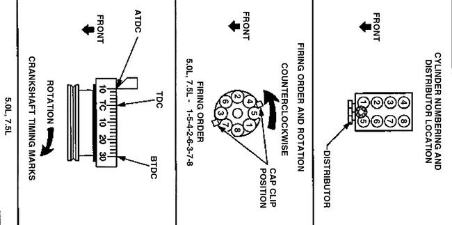
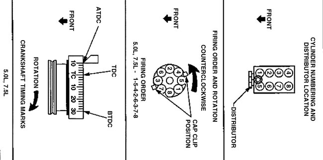
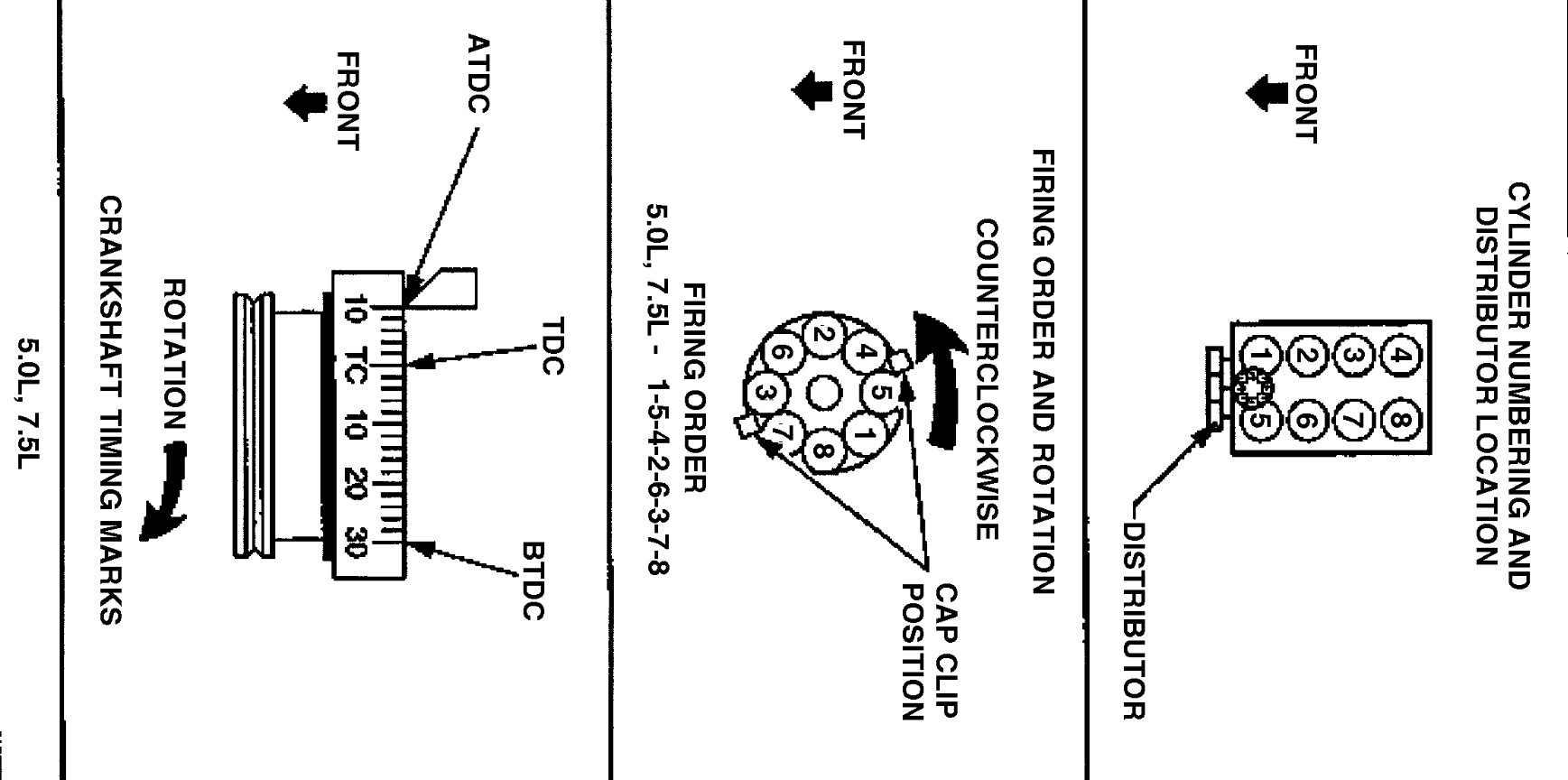
This is the engine layout and firing order for that engine. The cap also shows the wire positions.
Image (Click to make bigger)
Was this
answer
helpful?
Yes
No
Wednesday, May 7th, 2025 AT 9:33 AM
Please
login
or
register
to post a reply.
Related Firing Order Content
1992 Ford F350 Firing Order
I Need The Firing Order And The Distributor Turn
Asked by
foguie mckinnie
·
1 ANSWER
1992
FORD F-350
Broken Spark Plug
1996 Ford F350 460/7.5 4x4. I Have Broken The Spark Plug Off. All That Remain In The Head Are The Threads. I Have Lightly Taped A Screw...
Asked by
dsgjoe
·
3 ANSWERS
FORD F-350
1992 Ford F350 No Spark
Dash Panel Dimmed And Exhaust Popped And Engine Stumbled And Died. Have No Spark. Found Blown Diode In Power Distribution Box. I Can Not...
Asked by
lucygirl
·
1 ANSWER
1992
FORD F-350
It Has Been Smelling Like Diesel Real Bad Every Time I...
I Have A Diesel Truck. What Could Be Wrong With It? You Smell Diesel Out And Inside Of Truck. When It Starts Up Its Really Bad
Asked by
gregorywj
·
8 ANSWERS
4 IMAGES
2001
FORD F-350
1997 Ford F350 Truck Won't Turn On Most Of The Time
Bought This Older Low Mileage Diesel Truck Last Week. (53,000 On A 1997) Went To Turn It On Over The Weekend And It Won't. Checked Battery...
Asked by
Renee'sTruck
·
6 ANSWERS
1997
FORD F-350
VIEW MORE
Ask a Car Question. It's Free!
Spark Plug Replacement - Chevrolet
Spark Plug & Wire Replacement Chevy Avalanche
Spark Plug Replacement Ford Explorer 4.6L V8