Fan not turning on

Tiny
NOELREYES
  • MEMBER
  • 1993 SATURN SL2
  • 1.4L
  • 4 CYL
  • 2WD
  • MANUAL
  • 200,000 MILES
The relay is good. The fan doesn't come on when A/C is turned on either. When I drive the car the temperature is okay. When I idle it gets hot.
when I jump the fuse panel were relay goes the fan comes on. What should I do?
Sunday, June 16th, 2019 AT 5:07 AM

1 Reply

Tiny
SCGRANTURISMO
  • MECHANIC
  • 4,897 POSTS
Hello,

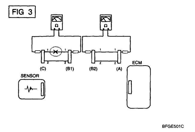
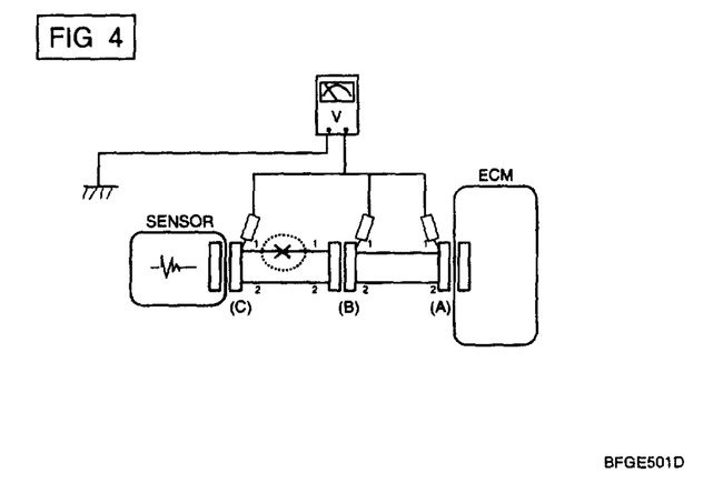
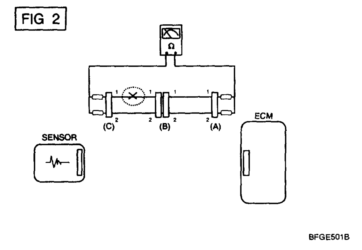
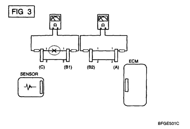
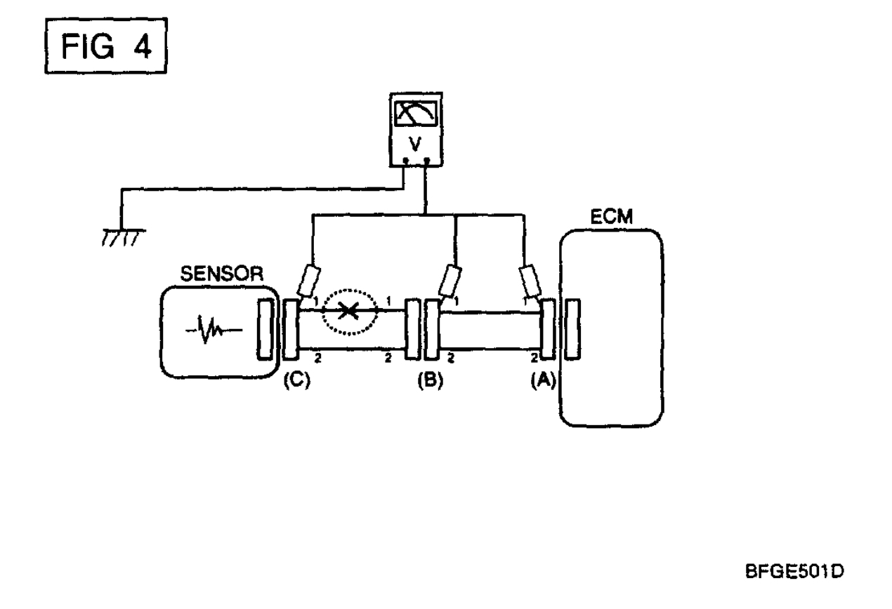
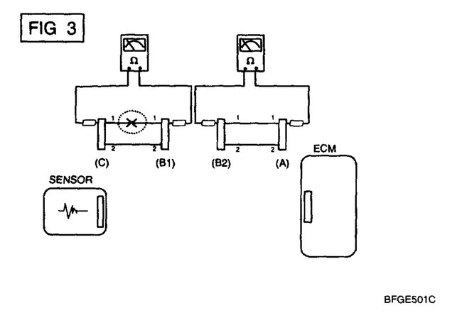
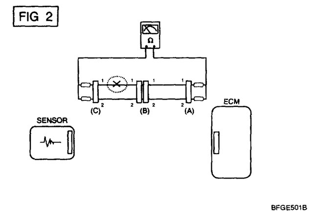
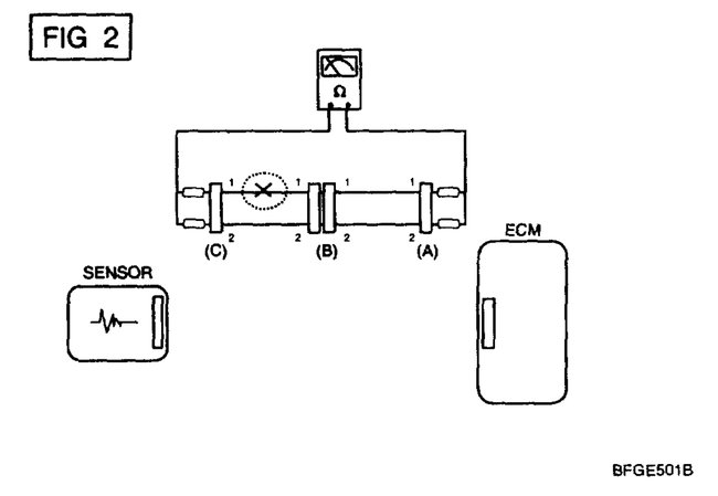
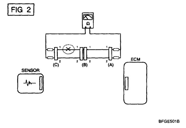
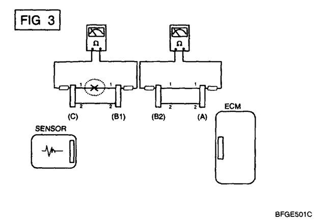
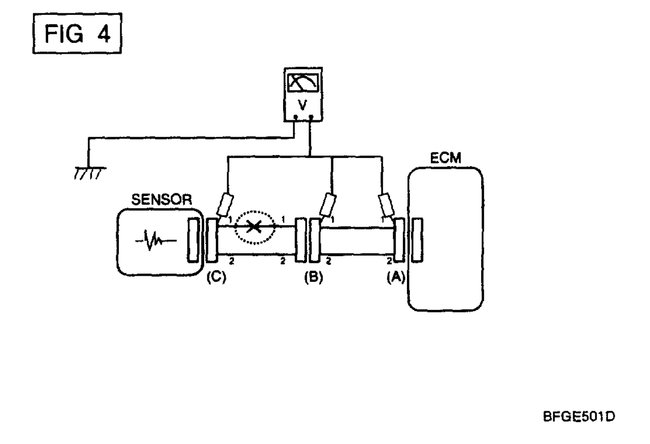
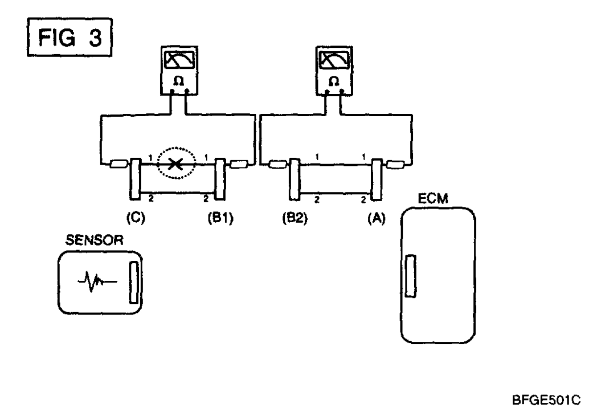
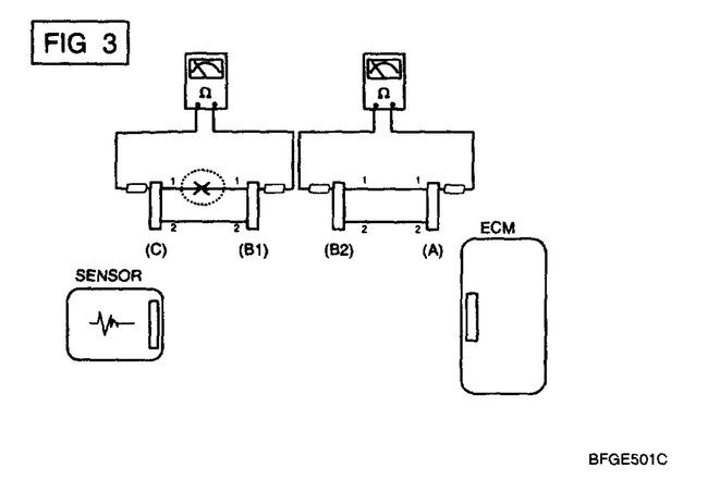
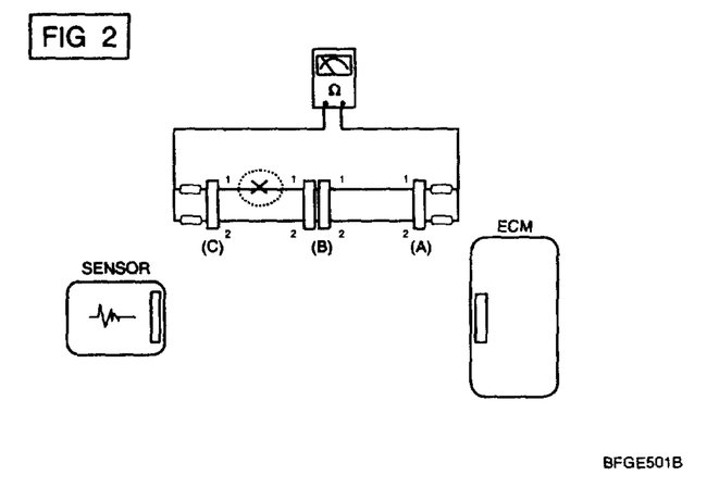
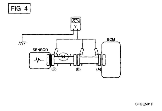
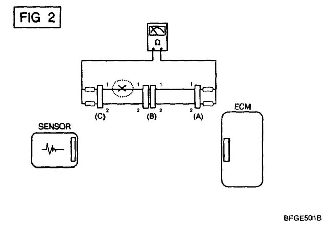
Okay, so when you jump the relays the fan comes on, then the relay, wire connectors to the relay are bad, or, more likely the ground to the control side of the relay is bad. Okay, so you've bench tested the relay and it good. In the diagrams down below I have included a wiring diagram of your vehicle's cooling fan circuit. Please check the highlighted wire for an open. I have included instructions for hoe to do this as well in the diagrams down below. Please get back to us with what you find out.

Thanks,
Alex
2carPros
Was this
answer
helpful?
Yes
No
Sunday, June 16th, 2019 AT 4:47 PM

Please login or register to post a reply.