Evaporator leak

Tiny
TYLER TRETTER
  • MEMBER
  • 2009 CHEVROLET SILVERADO
  • 5.3L
  • V8
  • 4WD
  • AUTOMATIC
  • 160,000 MILES
I have radiator fluid leaking from my breather tube on the motor side of the evaporator. Looking for any advice on how to remove the whole evaporator, heater core module to get the evaporator out.
Thursday, October 3rd, 2019 AT 2:23 PM

7 Replies

Tiny
ASEMASTER6371
  • MECHANIC
  • 52,796 POSTS
Good evening.

Do you mean engine coolant or Freon gas?

If it is engine coolant, you need a heater core.

https://www.2carpros.com/articles/replace-heater-core

https://www.youtube.com/watch?v=2teH3UASq5w

If it is Freon, then you need an evaporator.

Roy

Was this
answer
helpful?
Yes
No
+1
Thursday, October 3rd, 2019 AT 3:13 PM
Tiny
TYLER TRETTER
  • MEMBER
  • 4 POSTS
The pick up is not leaking anti freeze. It is leaking a green liquid from the breather tube on the motor side of the heater core/evaporator module. I got the heater core out (forcefully) and there was no anti freeze where the heater core sits. I am more wondering if anyone has a detailed diagram of what bolts/nuts and placement of said bolts and nuts that need to be removed to get the entire module out to get the new heater core in and to check the evaporator for any leaks.
Was this
answer
helpful?
Yes
No
Thursday, October 3rd, 2019 AT 3:40 PM
Tiny
ASEMASTER6371
  • MECHANIC
  • 52,796 POSTS
Can you post a picture of the leak? I want to see what you see.

Roy
Was this
answer
helpful?
Yes
No
+1
Thursday, October 3rd, 2019 AT 3:43 PM
Tiny
TYLER TRETTER
  • MEMBER
  • 4 POSTS
Video.
Was this
answer
helpful?
Yes
No
Thursday, October 3rd, 2019 AT 3:45 PM
Tiny
ASEMASTER6371
  • MECHANIC
  • 52,796 POSTS
Okay, steps below:

1. Install the J 43181 to the heater core pipe.
2. Close the tool around the heater core pipe.
3. Firmly pull the tool into the quick connect end of the heater hose.
4. Firmly grasp the heater hose. Pull the heater hose forward in order to disengage the inlet hose from the heater core.

3. Using the J 43181 disconnect the surge tank outlet hose from the heater core.

1. Install the J 43181 to the heater core pipe.
2. Close the tool around the heater core pipe.
3. Firmly pull the tool into the quick connect end of the heater hose.
4. Firmly grasp the heater hose. Pull the heater hose forward in order to disengage the surge tank outlet hose from the heater core.

4. Remove the upper intake manifold sight shield. Refer to Upper Intake Manifold Sight Shield Replacement (See: Intake Manifold > Removal and Replacement).
5. Remove the battery. Refer to Battery Replacement (See: Battery > Removal and Replacement > Battery Replacement).
6. Remove the accumulator. Refer to Air Conditioning Accumulator Replacement (Non-HP2) (See: Accumulator HVAC > Removal and Replacement > Air Conditioning Accumulator Replacement).
7. Remove the instrument panel to the service position. Refer to Instrument Panel Service Positioning (without SLT) (See: Dashboard / Instrument Panel > Removal and Replacement)Instrument Panel Service Positioning (with SLT) (See: Dashboard / Instrument Panel > Removal and Replacement).

ImageOpen In New TabZoom/Print

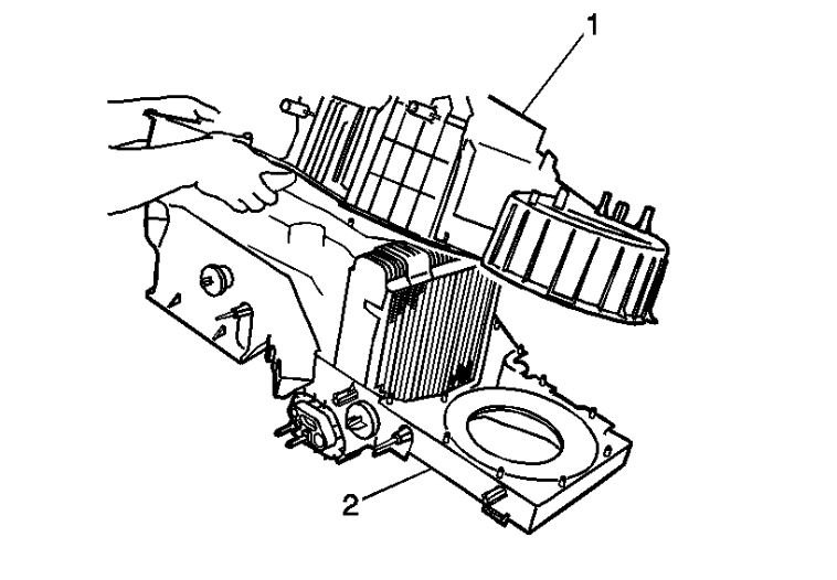
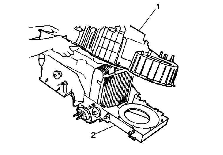
8. Remove the nuts (2) from the HVAC module (3).
9. Remove the bolts (1) from the HVAC module (3).
10. Remove the HVAC module (3).

Air Conditioning Evaporator Core Replacement

Removal Procedure

imageOpen In New TabZoom/Print

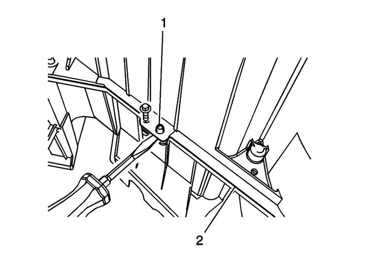
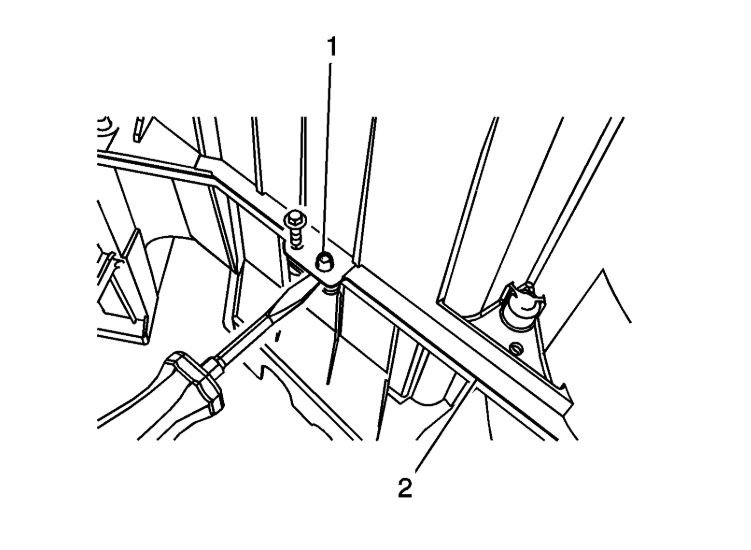
1. Remove the HVAC module. Refer to HVAC Module Assembly Replacement (See: Housing Assembly HVAC > Removal and Replacement > HVAC Module Assembly Replacement).
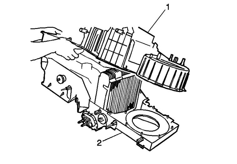
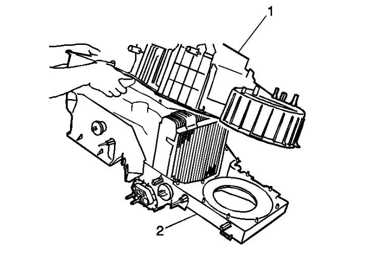
2. If equipped remove the heat stakes (1) from the HVAC module (2) with a screw driver and a hammer.
3. Disconnect all wiring connections from blower motor, blower motor control module and sensors. Also, remove all wiring from retainers before removal.

ImageOpen In New TabZoom/Print

4. If equipped remove the screws from the HVAC module assembly.
5. Remove the evaporator cowl gasket from the evaporator.
6. Separate the upper HVAC module assembly (2) from the lower HVAC module assembly (1)

imageOpen In New TabZoom/Print

7. Remove the evaporator core (1) from the upper HVAC module assembly (2).
Was this
answer
helpful?
Yes
No
+1
Thursday, October 3rd, 2019 AT 4:03 PM
Tiny
TYLER TRETTER
  • MEMBER
  • 4 POSTS
Thanks for the advice! Gives me some better information on what I need to remove. Thanks again!
Was this
answer
helpful?
Yes
No
Thursday, October 3rd, 2019 AT 4:09 PM
Tiny
ASEMASTER6371
  • MECHANIC
  • 52,796 POSTS
You are welcome.

Always glad to help.

Roy
Was this
answer
helpful?
Yes
No
Thursday, October 3rd, 2019 AT 4:29 PM

Please login or register to post a reply.