Engine not firing

Tiny
ROBERT11
  • MEMBER
  • 1988 MAZDA 929
  • 3.0L
  • V6
  • 2WD
  • AUTOMATIC
  • 170 MILES
Hi, I was driving my car it started fluttering. I stopped once I switched it off it will not start. Had it towed, at home I had a look at things. Checked fuel that's okay, checked spark and there is none, I am not sure if it is the coil or distributor or the ECU. Any Ideas would be appreciated.

Kind Regards.
Robert
Wednesday, January 16th, 2019 AT 5:31 AM

1 Reply

Tiny
JACOBANDNICKOLAS
  • MECHANIC
  • 110,194 POSTS
Hi and thanks for using 2CarPros.

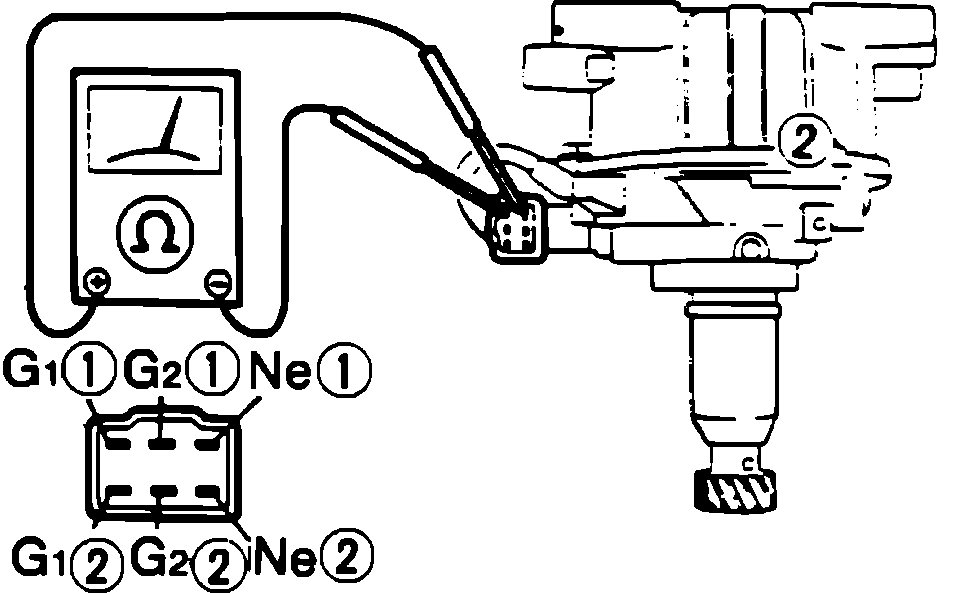
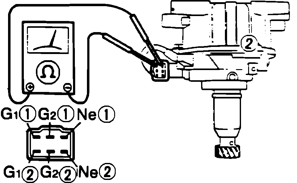
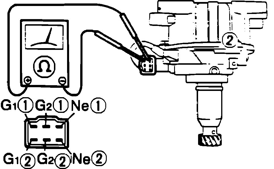
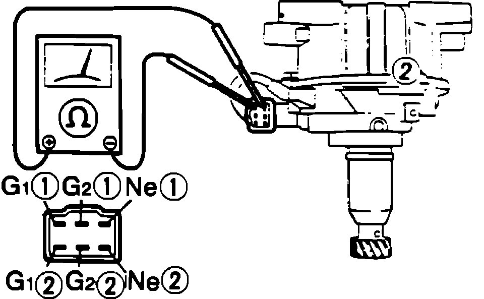
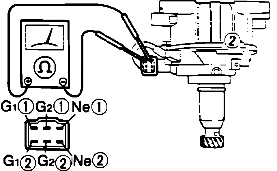
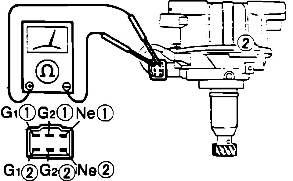
Chances are the pick up coil in the distributor has failed. I need you to complete the following test to confirm. You will need a multi meter. Here is a link that shows how one is used:

https://www.2carpros.com/articles/how-to-use-a-voltmeter

https://www.2carpros.com/articles/how-to-check-wiring

I have attached three pictures. The first shows the pin allocations from where the distributor connects. Picture two shows which pins to check and how many ohms of resistance each should have. Picture 3 shows the pick up coil's location. Do this and let me know what you find.

Take care,
Joe
Was this
answer
helpful?
Yes
No
Wednesday, January 16th, 2019 AT 6:46 PM

Please login or register to post a reply.