Monday, August 1st, 2022 AT 3:11 PM
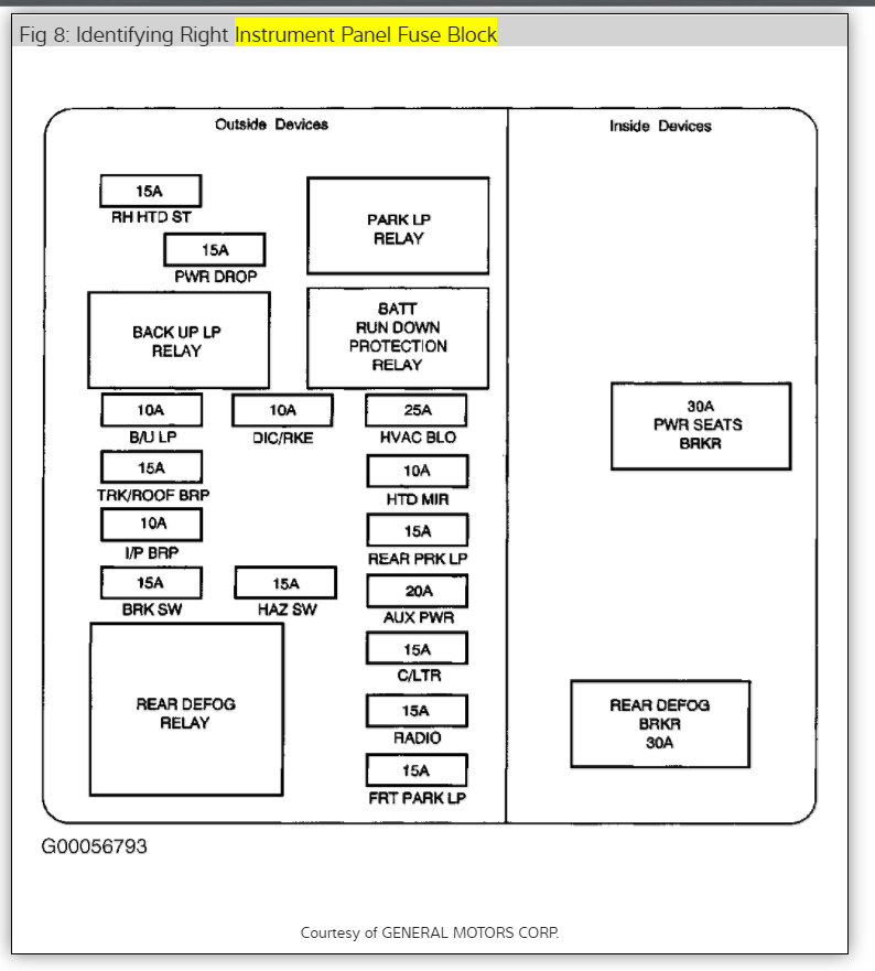
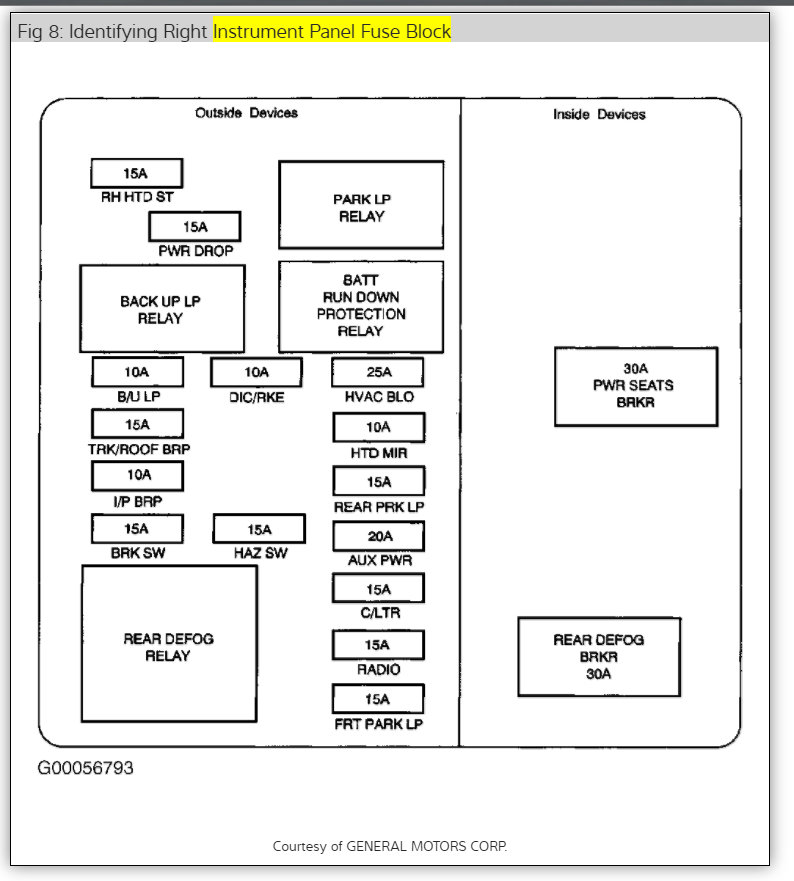
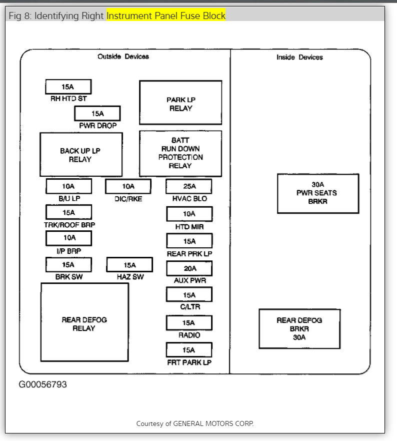
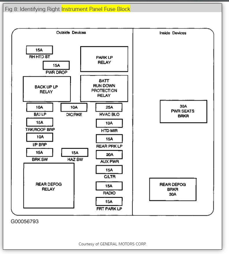
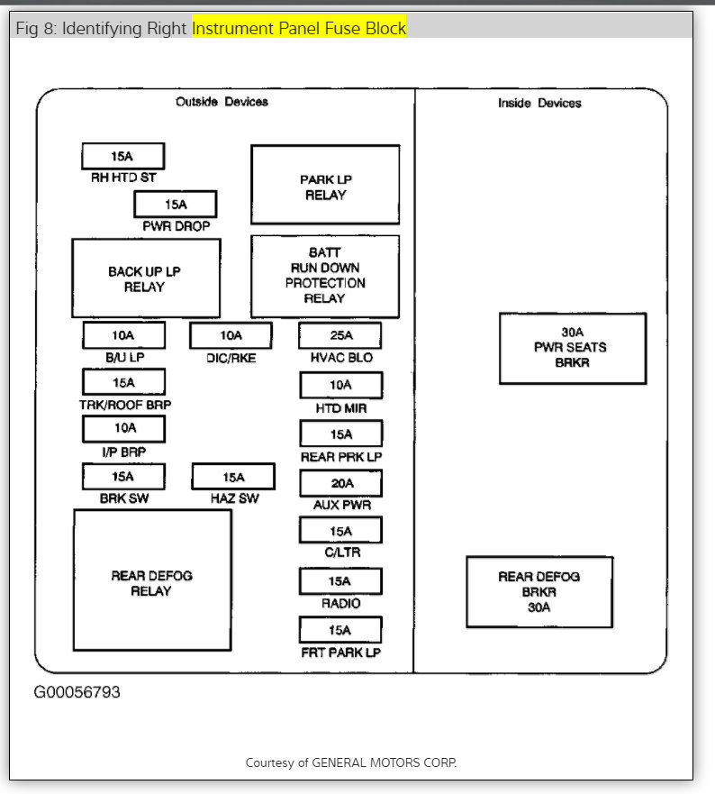
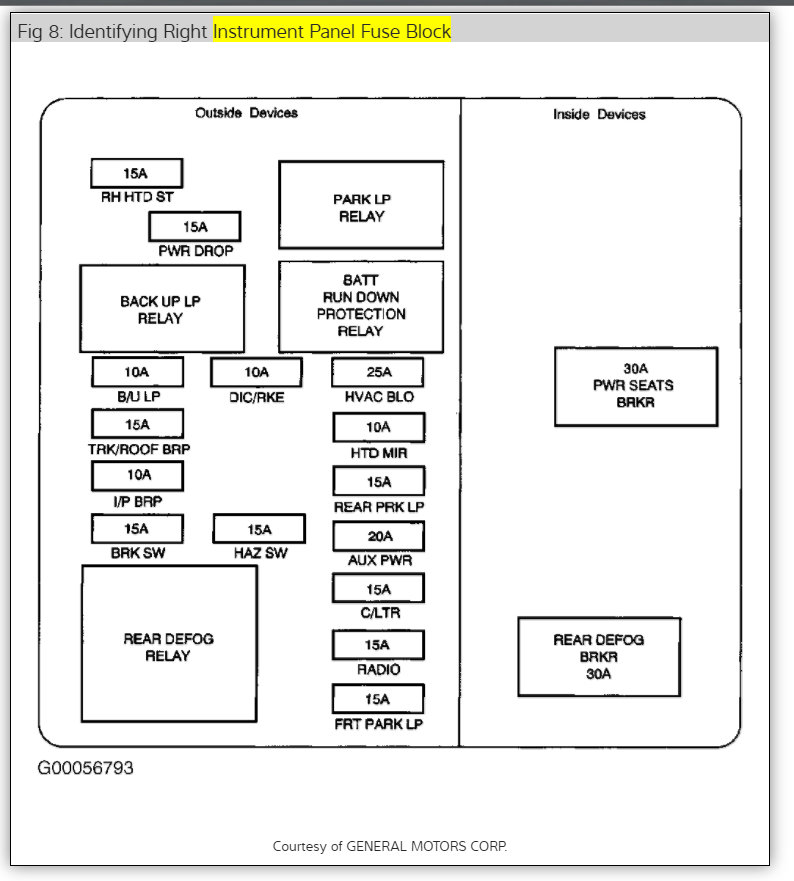
I hooked up my amp hot and messed some stuff up (i already know so don't dog me. Lesson learned big time) my car wouldn't crank but I had power to all accessories but amp and stereo. I also heard very rapid clicking coming from my two inside fuse boxes I messed with a bunch of stuff and decided to try and take out my accessory power breaker (i think that's what it's called, it's the black box below all my fuses). When I took it out halfway my stereo turned on and I was able to start my car but I plugged it back in and it won't start again, but I don't hear my fuse boxes clicking anymore.












