Cranks but does not start

Tiny
ISAIAH ISAAK
  • MEMBER
  • 1993 CHEVROLET S-10
  • 2.8L
  • V6
  • 2WD
  • MANUAL
  • 212,000 MILES
So I broke down because my clutch stuck to the floor. I bled the clutch it works now, but my truck will crank but not start. I replaced ignition coil and knock sensor still just cranks. Haven't tested spark plug because I know I am not getting spark and compression on fuel pump is 10-12 psi. But I have throttle body injection, so psi should be 13-17. I can here my fuel pump come on and I smell gas when I crank it. I am really confused because I don't know what else it could be. Any help appreciated.
Sunday, October 20th, 2019 AT 11:17 AM

4 Replies

Tiny
JACOBANDNICKOLAS
  • MECHANIC
  • 110,194 POSTS
Welcome to 2CarPros.

If you smell gas, chances are there is no spark. I recommend checking that first. here is a link that explains how to test it. Confirm it is or isn't getting spark and let me know the results.

https://www.2carpros.com/articles/how-to-test-an-ignition-system

I will watch for your reply.

Joe
Was this
answer
helpful?
Yes
No
Monday, October 21st, 2019 AT 8:35 PM
Tiny
ISAIAH ISAAK
  • MEMBER
  • 3 POSTS
It is not getting spark. I looked up what the problem could be, most said a crank position sensor, but on my year/model it doesn’t have one.
Was this
answer
helpful?
Yes
No
Tuesday, October 22nd, 2019 AT 6:09 AM
Tiny
ISAIAH ISAAK
  • MEMBER
  • 3 POSTS
Also today I’m going to see if I can find a OBD scanner that fits my year/model to see if any codes are popping up.
Was this
answer
helpful?
Yes
No
Tuesday, October 22nd, 2019 AT 6:14 AM
Tiny
JACOBANDNICKOLAS
  • MECHANIC
  • 110,194 POSTS
Welcome back:

First, you are correct. A crank sensor wasn't used on this model. However, the most common cause of spark loss on it is related to the ignition control module in the distributor. Here are directions for replacement:

________________________

1993 Chevy Truck S10/T10 P/U 2WD V6-173 2.8L
Ignition Module Replacement
Vehicle Powertrain Management Relays and Modules - Powertrain Management Relays and Modules - Ignition System Ignition Control Module Service and Repair Procedures Ignition Module Replacement
IGNITION MODULE REPLACEMENT
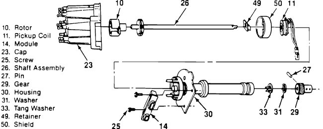
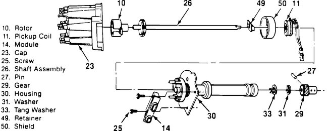
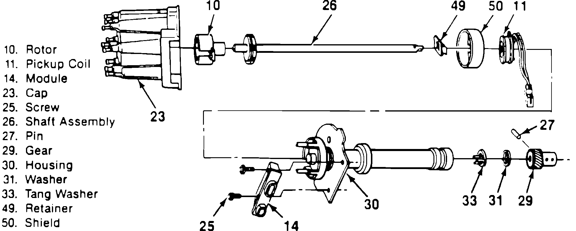
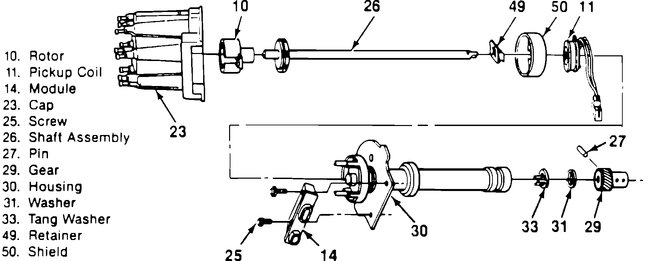
Typical Distributor Components

Pic 1

I highlighted the part in Pic 2

REMOVE OR DISCONNECT
NOTEIt is not necessary to remove ignition distributor assembly from engine.
- Distributor cap and rotor.
- Two module attaching screws, and lift module up.
- Leads from module. Observe color code on leads as these cannot be interchanged.
- Module.

INSTALL OR CONNECT
NOTEDo not wipe silicone grease from metal face of module or distributor base (where the module seats), when reinstalling the same module. If new module is to be installed clean distributor module base and spread new silicone grease on base and metal face of ignition module. The purpose of the silicone grease is to cool module.
- Module.
- Leads to module.
- Module attaching screws. Tighten to 2 Nm (18 lb. in.)
- Pick up coil.
- Cap and rotor.

__________________________________

Before just replacing it, pull trouble codes. You don't need a scanner. You can do it with a short jumper wire or even a paper clip. Here is a link explaining how it's done. Do this and let me know the results.

https://www.2carpros.com/articles/buick-cadillac-chevy-gmc-oldsmobile-pontiac-gm-1983-1995-obd1-code-definitions-and-retrieval-method

Let me know what you find.

Joe
Was this
answer
helpful?
Yes
No
Tuesday, October 22nd, 2019 AT 8:52 PM

Please login or register to post a reply.