Crank with out wood-ruff key

Tiny
RIC NER
  • MEMBER
  • 2006 HONDA ACCORD
  • 3.0L
  • V6
  • 2WD
  • AUTOMATIC
  • 165,000 MILES
I was doing a timing belt, 2CarPros. Com. Removed the wood ruff key the camshafts and old timing belt still installed. Someone hit the remote start accidentally tried to start the car. Would this cause bent valves?
Saturday, August 18th, 2018 AT 1:57 PM

3 Replies

Tiny
JACOBANDNICKOLAS
  • MECHANIC
  • 110,194 POSTS
Hi and thanks for using 2CarPros. Com.

I have some good news for you. All Honda engines are interference except 3.0L and 3.2. That basically means you are still in good shape.

I do not know if you need them, but here are the directions specific to your vehicle for replacing the timing belt. All attached pictures correlate with this process.

______________________________________

iming Belt Removal

1. Remove the right front wheel.
2. Remove the splash shield.
3. Remove the drive belt.
4. Remove the drive belt auto-tensioner.
5. Turn the crankshaft so its white mark (A) lines up with the pointer (B).
6. Check that the No. 1 piston top dead center (TDC) mark (A) on the front camshaft pulley and the pointer (B) on the front upper cover are aligned.

Note: If the marks are not aligned, rotate the crankshaft 360 degrees, and recheck the camshaft pulley mark.

7. Support the engine with a jack and wood block under the oil pan.
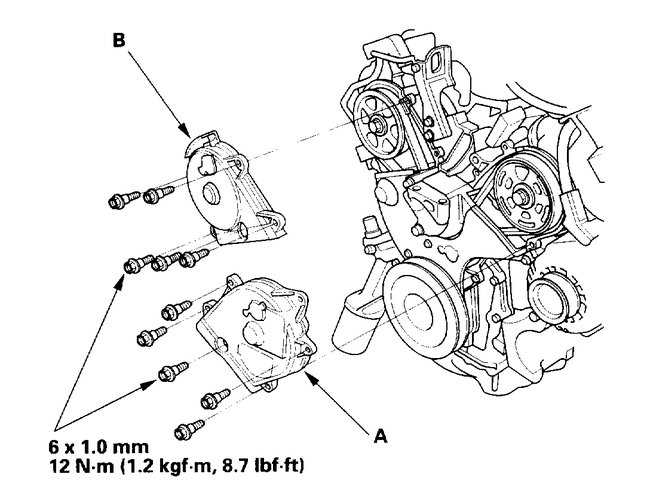
8. Remove the ground cable (A), then remove the side engine mount bracket (B).
9. Remove the front upper cover (A) and rear upper cover (B).
10. Remove the crankshaft pulley.
11. Remove the lower cover (A).
12. Remove the timing belt guide plate (B).
13. Remove one of the battery clamp bolts from the battery tray, and grind the end of it as shown.
14. Screw the battery clamp bolt in as shown to hold the timing belt adjuster in its current position. Tighten it by hand; do not use a wrench.
15. Remove the engine mount bracket.
16. Remove the idler pulley bolt (A) and idler pulley (B), then remove the timing belt.
__________

Timing Belt Replacement
1. Remove the timing belt.
2. Clean the timing belt pulleys, timing belt guide plate, and the upper and lower covers.
3. Set the timing belt drive pulley to TDC by aligning the TDC mark (A) on the tooth of the timing belt drive pulley with the pointer (B) on the oil pump.
4. Set the camshaft pulleys to TDC by aligning the TDC marks (A) on the camshaft pulleys with the pointers (B) on the back covers.
5. Remove the battery clamp bolt from the back cover.
6. Remove the auto-tensioner.
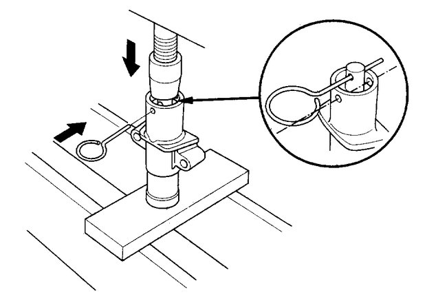
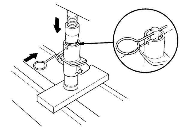
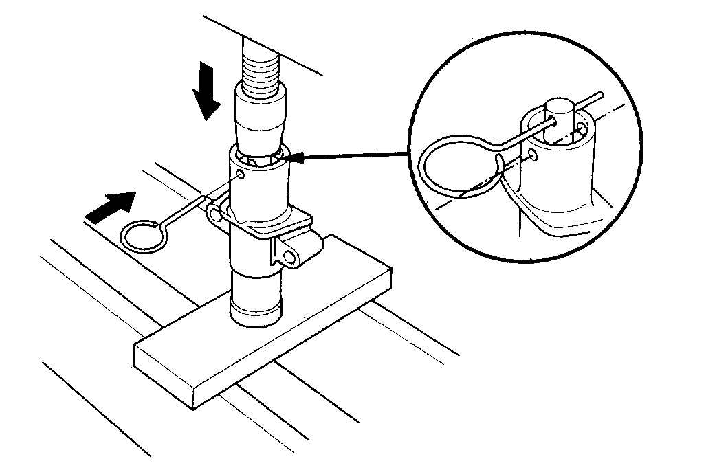
7. Align the holes on the rod and housing of the auto-tensioner.
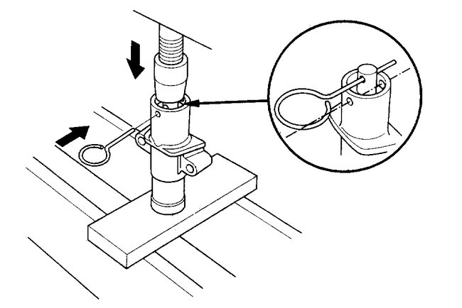
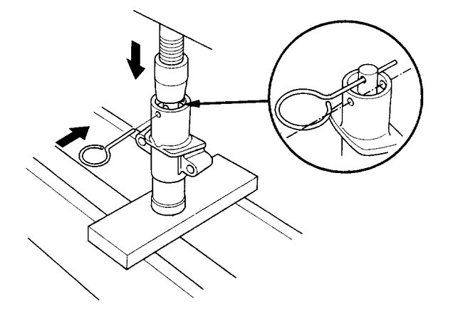
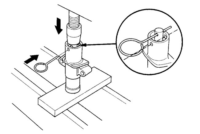
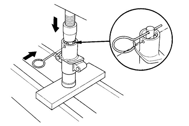
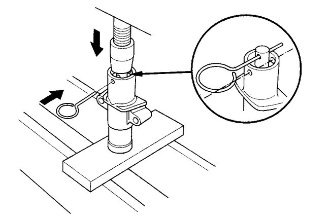
8. Use a hydraulic press to slowly compress the auto-tensioner. Insert a 2.0 mm (0.08 inch) pin through the housing and the rod.

NOTE: The compression pressure should not exceed 9,800 N (1,000 kgf, 2,200 lbf).
9. Install the auto-tensioner.

NOTE: Make sure the pin stays in place.
10. Screw the battery clamp bolt in as shown to hold the timing belt adjuster. Tighten it by hand; do not use a wrench.
11. Apply liquid thread lock (P/N 08713-0001) to the idler pulley bolt, then loosely install the idler pulley.
12. Install the timing belt in a counterclockwise sequence starting with the drive pulley.
13. Tighten the idler pulley bolt.
14. Remove the pin from the auto-tensioner.
15. Remove the battery clamp bolt from the back cover.
16. Install the engine mount bracket.
17. Install the timing belt guide plate as shown.
18. Install the lower cover.
19. Install the crankshaft pulley.
20. Install the front upper cover (A) and rear upper cover (B).
21. Rotate the crankshaft pulley about five or six turns clockwise so the timing belt positions itself on the pulleys.
22. Turn the crankshaft pulley so its white mark (A) lines up with the pointer (B).
23. Check the camshaft pulley marks.
- If the camshaft pulley marks are at TDC go to step 24.
- If the camshaft pulley marks are not at TDC, remove the timing belt and repeat steps 2 through 23.
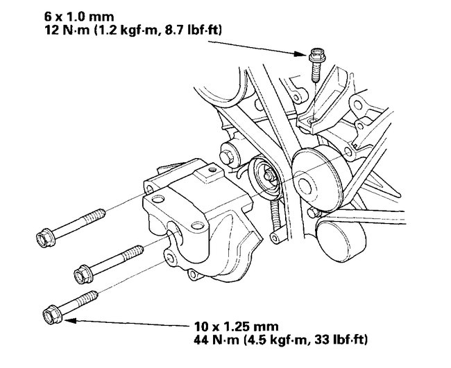
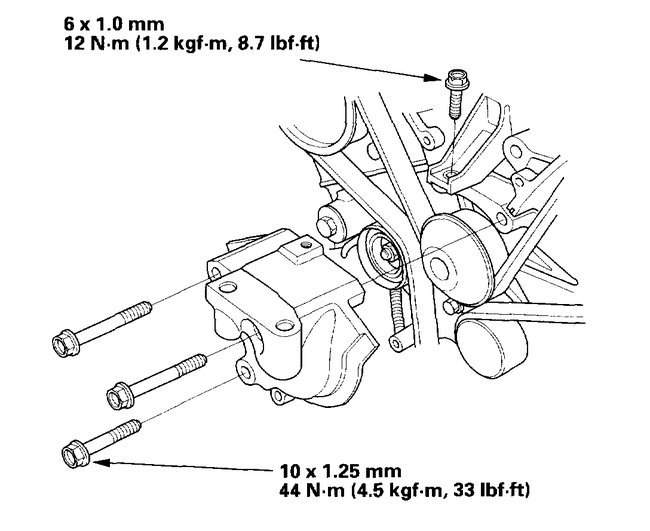
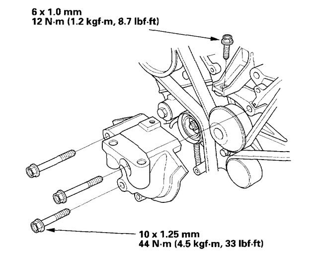
24. Install the side engine mount bracket (A), then tighten the bolts in the numbered sequence shown.
25. Install the ground cable (B).
26. Install the drive belt auto-tensioner.
27. Install the drive belt.
28. Install the splash shield.
29. Install the right front tire/wheel.
30. Do the crankshaft position (CKP) pattern clear/CKP pattern learn procedure.

_________________________________________

I hope this information is helpful to you. Let me know if you have questions or need more information.

Take care,
Joe
Was this
answer
helpful?
Yes
No
Saturday, August 18th, 2018 AT 7:50 PM
Tiny
RIC NER
  • MEMBER
  • 2 POSTS
Okay, so here is my issue; on the crank bottom end it was miss alighted by one tooth so I took out the woof ruff pin and reset it so the was back in in order and aligned to marking, but I am not sure is it safe to turn the on the cylinder heads with no belt? Back and forth to make them align in the marked settings? It made a tick a slight one when it was turned on.
Was this
answer
helpful?
Yes
No
Saturday, August 18th, 2018 AT 9:25 PM
Tiny
JACOBANDNICKOLAS
  • MECHANIC
  • 110,194 POSTS
If it was an interference engine, the valves would hit the tops of the pistons and you would not be able to turn it anymore in the same direction. You would have to back it off. Everything I read on this engine indicates it is not an interference engine. You should be fine. You may hear a click just from the cam lobes on the lifters.

Get it back into time and turn the crankshaft 360 degrees a couple of times before starting it. If it turns and does not lock up. It will be fine.

Let me know how thing work out.
Was this
answer
helpful?
Yes
No
Sunday, August 19th, 2018 AT 6:37 PM

Please login or register to post a reply.