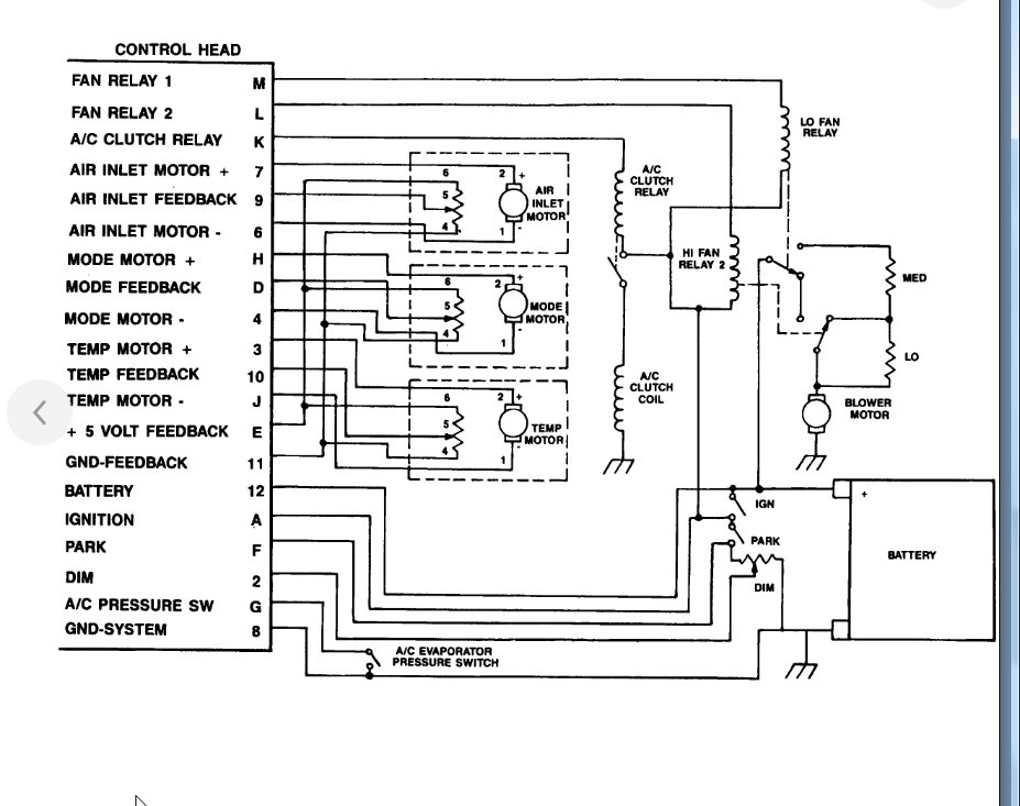
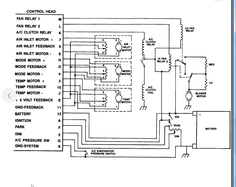
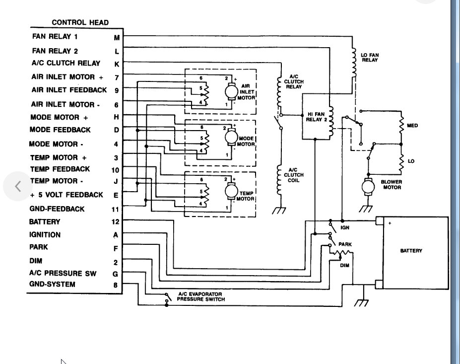
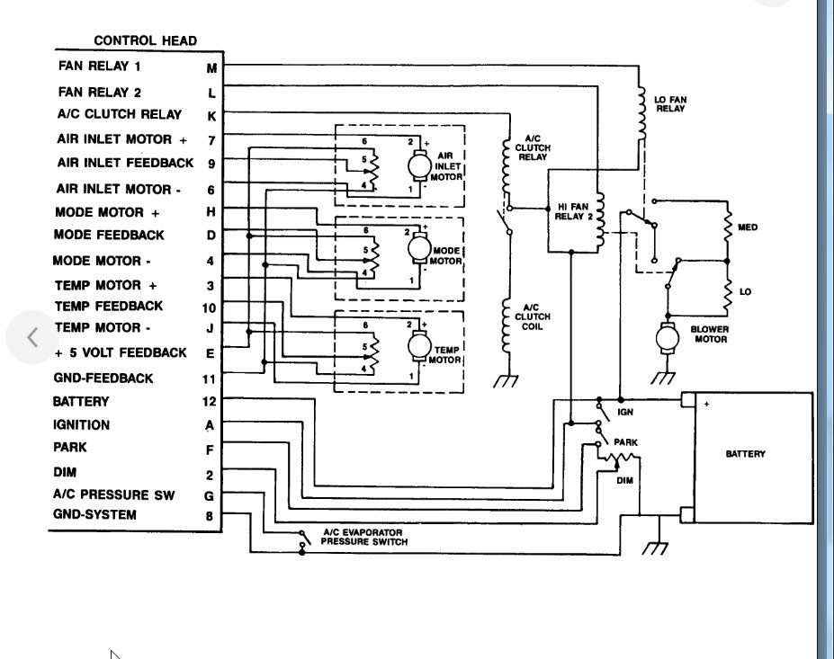
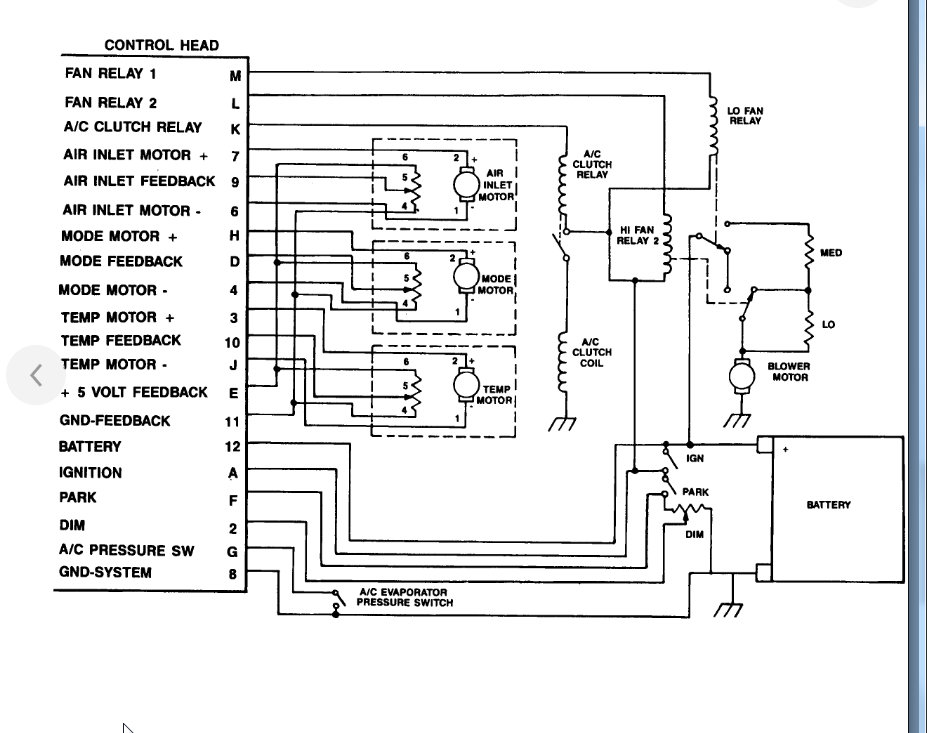
Friday, March 8th, 2019 AT 7:29 AM
I got the truck and the climate panel didn’t work. I’ve checked the heater core blower motor all good. I even replaced the panel thinking it was bad but still nothing. Is it a wiring issue or a fuse blown?














