Clutch Problems

Tiny
ARMBRUST43
  • MEMBER
  • 2002 CHEVROLET CAVALIER
  • 4 CYL
  • FWD
  • MANUAL
  • 91,000 MILES
My clutch is not working and it seems to be a different problem than everyone else is having. I have bled the clutch many times and it works for about 5 minutes and then it gets air in the system and the pedal sticks to the floor the thing that is confusing me is that it doesn't lose fluid the only time the fluid goes down is when I bleed the system so it is just sucking air and not leaking fluid I don't know what would cause this because I am not real familiar with hydraulic clutch systems like these so any information would be appreciated thank you for your time
Tuesday, January 26th, 2010 AT 6:33 PM

16 Replies

Tiny
ROYE
  • MEMBER
  • 1 POST
I have the same problem
Was this
answer
helpful?
Yes
No
+1
Wednesday, January 18th, 2012 AT 7:59 PM
Tiny
CHELSEY
  • MEMBER
  • 1 POST
Same problem. Petal to the floor. Mine is that the master and slave cylinders need to be replaced.
Was this
answer
helpful?
Yes
No
Sunday, February 19th, 2012 AT 8:44 PM
Tiny
RASMATAZ
  • MECHANIC
  • 75,992 POSTS
Sounds like the clutch master cylinder is leaking internally if there's no external leak. I would do the clutch slave and master as a set

Here are a few guides to read, they will help you figure it out

https://www.2carpros.com/articles/clutch-doesnt-work-sometimes-or-not-at-all

https://www.2carpros.com/articles/clutch-symptoms

https://www.2carpros.com/articles/throw-out-bearing-replacement

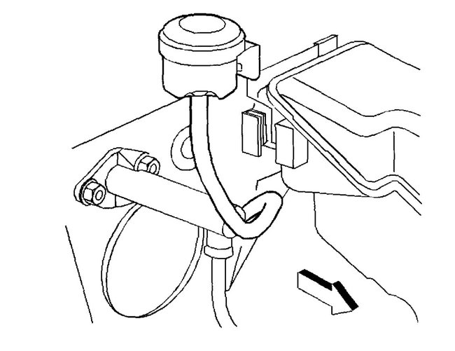
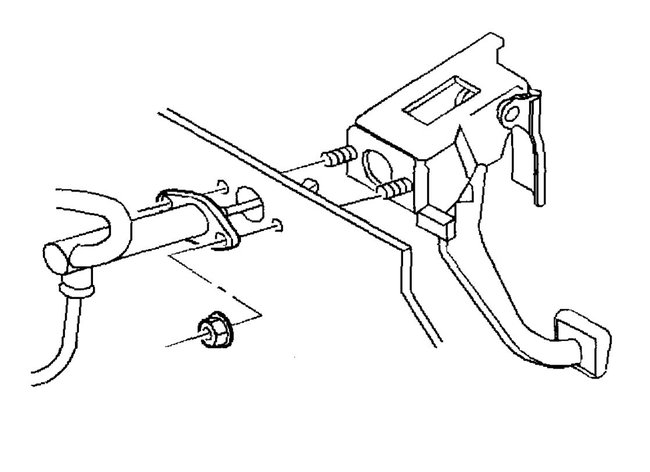
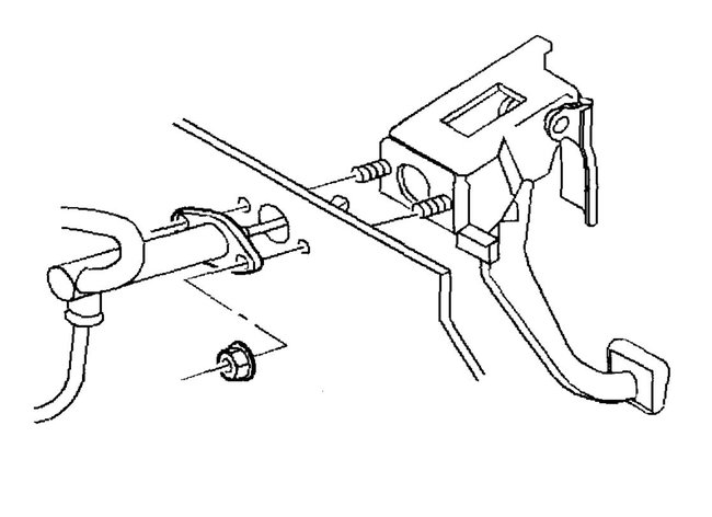
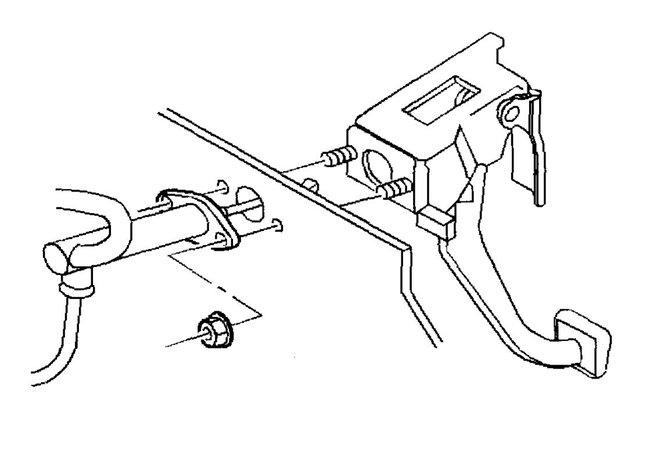
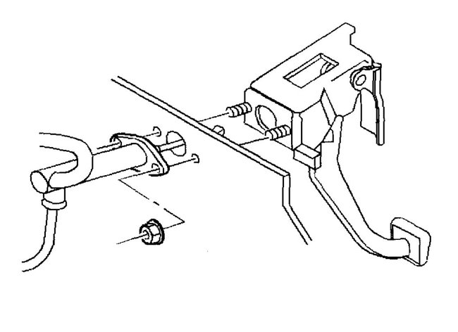
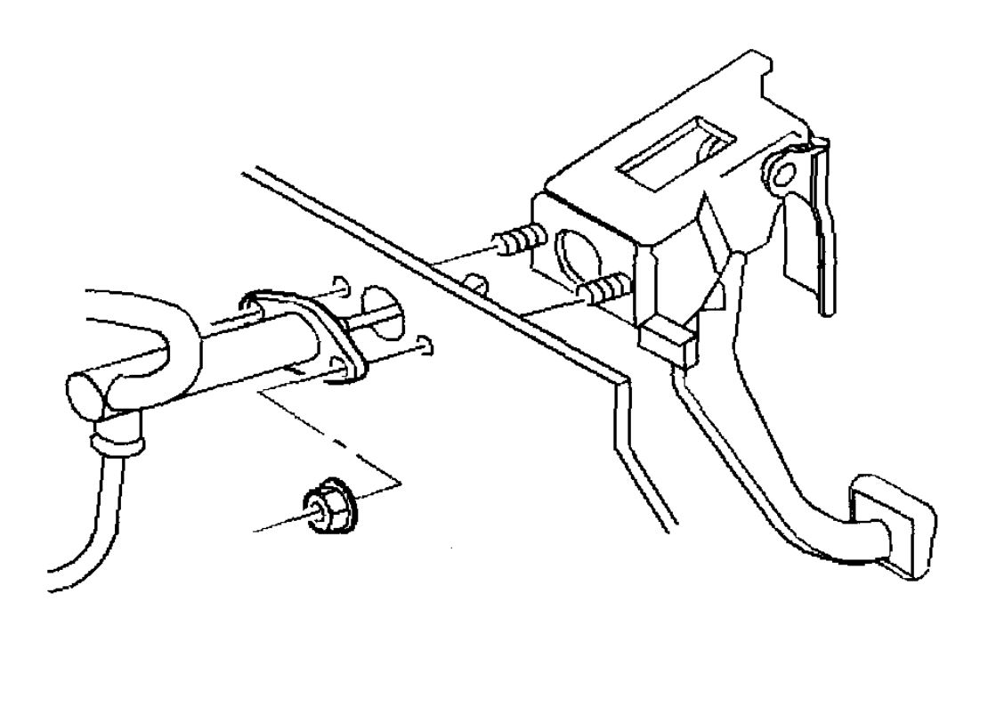
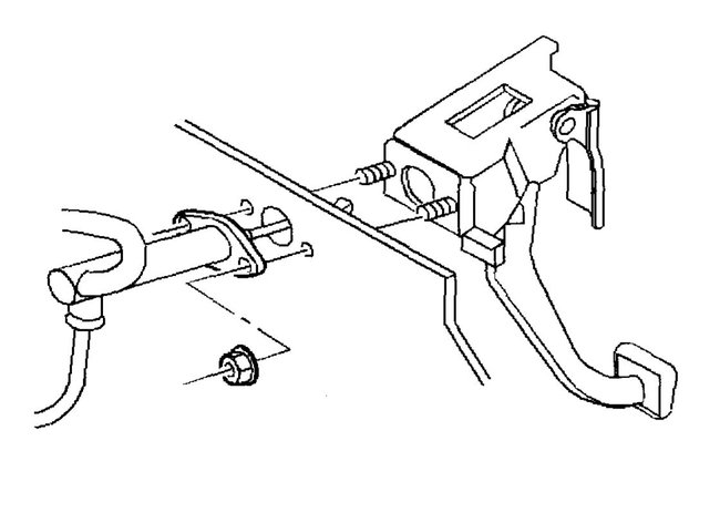
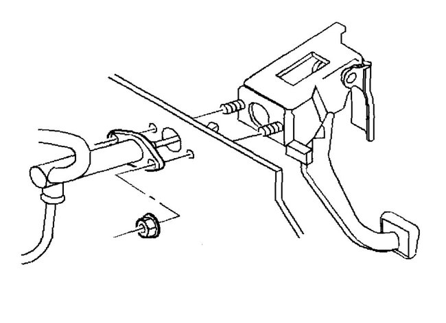
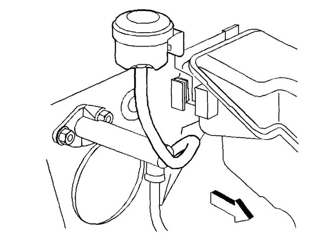
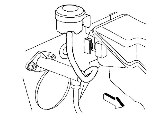
Removal Procedure
1. Remove the clutch master cylinder push rod from the clutch pedal.
2. Remove the master cylinder retaining nuts at the front of the dash.
3. Remove the remote reservoir.
4. Disconnect the clutch actuator cylinder line.
5. Remove the clutch master cylinder assembly from the clutch pedal assembly.

Installation Procedure
1. Install the clutch master cylinder assembly to the clutch pedal assembly.
2. Connect the clutch actuator cylinder line.
3. Install the remote reservoir.
4. Install the master cylinder retaining nuts at the front of the dash.
Tighten the nuts evenly to 21 Nm (15 ft. lbs.).
5. Install the push rod to the clutch pedal.
6. Bleed the hydraulic system.

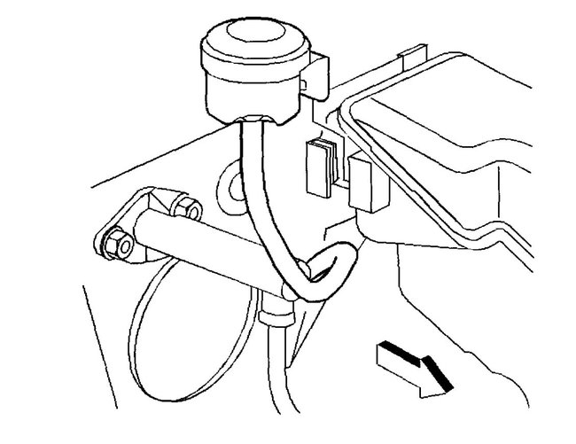
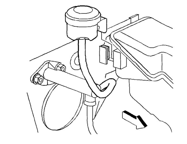
Hydraulic Clutch Bleeding

Notice: Do not reuse the fluid that has been bled from a system in order to fill the clutch master cylinder reservoir for the following reasons:

1. The fluid may be aerated
2. The fluid may be contaminated
3. The fluid may contain too much moisture

Important: Maintain the fluid level in the clutch reservoir to the top step with GM P/N 12345347, or equivalent.

1. Clean dirt and grease from the cap in order to ensure that no foreign substances enter the system.
2. Attach a hose to the bleeder screw on the clutch actuator assembly. Submerge the other end of the hose in a container of Hydraulic Clutch Fluid GM P/N 12345347, or equivalent.
3. Depress the clutch pedal slowly and hold.
4. Loosen the bleeder screw to purge air.
Tighten the bleeder screw to 2 Nm (18 inch lbs.).
5. Repeat steps 3 through 5 until air is purged.
6. Fill reservoir to the top step with GM P/N 12345347, or equivalent.
7. Repeat the bleeding procedure if necessary.

Diagrams are attached below
Was this
answer
helpful?
Yes
No
+3
Sunday, February 19th, 2012 AT 8:52 PM
Tiny
CJNBUG
  • MEMBER
  • 2 POSTS
  • 1994 CHEVROLET CAVALIER
  • 4 CYL
  • FWD
  • MANUAL
  • 99,000 MILES
How do I bleed my clutch in this car. There is no bleeder >?
Was this
answer
helpful?
Yes
No
+1
Saturday, December 1st, 2018 AT 8:37 AM (Merged)
Tiny
BLUELIGHTNIN6
  • MECHANIC
  • 16,542 POSTS
WITHOUT BLEED SCREW

Remove the actuator (slave) cylinder from the transaxle, as outlined earlier in this section.
Loosen the master cylinder mounting attaching nuts to the end of the studs, but do not remove the master cylinder.
Remove any dirt or grease around the reservoir cap so dirt cannot enter the system, then remove the cap and diaphragm. Fill the reservoir with an approved DOT 3 brake fluid.
Depress the hydraulic actuator cylinder pushrod about 0.787 in. (20.0mm) into the slave cylinder bore and hold.
Install the diaphragm and cap on the reservoir while holding the slave cylinder pushrod in as described in the previous step.
Release the slave cylinder pushrod.
The slave cylinder should be lower than the master cylinder.

Hold the slave cylinder vertically with the pushrod end facing the ground.
Press the pushrod into the slave cylinder bore with short 0.390 in. (10.0mm) strokes.
Observe the reservoir for air bubbles. Continue until air bubbles no longer enter the reservoir.
Install the actuator (slave) cylinder to the transaxle.
Tighten the master cylinder attaching nuts to 15 ft. Lbs. (20 Nm).
Check the fluid reservoir in the clutch master cylinder and add, if necessary. Install the diaphragm and cap to the reservoir.
To test the system, start the engine and push the clutch pedal to the floor. Wait 10 seconds and select reverse gear. There should be no gear clash. If clash is present, air may still be present in the system. Repeat bleeding procedure.

Thanks for using 2CarPros. Com!
Was this
answer
helpful?
Yes
No
Saturday, December 1st, 2018 AT 8:37 AM (Merged)
Tiny
GERARD
  • MEMBER
  • 1 POST
  • 1994 CHEVROLET CAVALIER
1994 chevy cavalier 88,000 miles, 2.2 4 cylinder

hard to get in and out of gear has air in it.
But there is no bleeder even took it to a garage no1 can find bleeder so how do we bleed it
Was this
answer
helpful?
Yes
No
Saturday, December 1st, 2018 AT 8:37 AM (Merged)
Tiny
E40WATER12
  • MECHANIC
  • 522 POSTS
Does youre clutch peddle feel spongy? Or stiff. How old is the clutch? Could havea bad release bearing on the clutch. Also could have a faulty clutch slave cyl.
Was this
answer
helpful?
Yes
No
Saturday, December 1st, 2018 AT 8:37 AM (Merged)
Tiny
FIXEDELUNE
  • MEMBER
  • 2 POSTS
  • 1996 CHEVROLET CAVALIER
  • 4 CYL
  • 4WD
  • MANUAL
  • 146,000 MILES
1996 Chevy Cavalier 2.2 litre w/146000+ miles. My clutch fluid went empty and the clutch goes straight to the floor and sticks. I've added more clutch fluid but I need to bleed it since there are air bubbles. I'm having a hard time finding any information or diagram where to find the bleeder screw for the clutch fluid. Gosh, help me pls.
Was this
answer
helpful?
Yes
No
+1
Saturday, December 1st, 2018 AT 8:37 AM (Merged)
Tiny
DOCFIXIT
  • MECHANIC
  • 18,828 POSTS
Good chance the slave is leaking. The bleeder is on the slave down on the transaxel.
Was this
answer
helpful?
Yes
No
+1
Saturday, December 1st, 2018 AT 8:37 AM (Merged)
Tiny
TDEN
  • MEMBER
  • 1 POST
  • 2003 CHEVROLET CAVALIER
  • 4 CYL
  • 2WD
  • MANUAL
  • 38,000 MILES
How do you bleed the clutch system on a cavalier
Was this
answer
helpful?
Yes
No
Saturday, December 1st, 2018 AT 8:38 AM (Merged)
Tiny
MMPRINCE4000
  • MECHANIC
  • 8,548 POSTS
Generally, if the MC is higher than the slave you can gravity bleed by loosing the slave bleeder screw (make sure the MC is full) and bleed unto all air is out.
You can also use a small vacuum pump, again bleed until all air is out.
Was this
answer
helpful?
Yes
No
Saturday, December 1st, 2018 AT 8:38 AM (Merged)
Tiny
CHARLES DETHARIDGE
  • MEMBER
  • 4 POSTS
  • 2001 CHEVROLET CAVALIER
Transmission problem
2001 Chevy Cavalier 4 cyl Front Wheel Drive Manual

How do you bleed the clutch master cylinder, I have tried every which way. Thank's end advance.
Was this
answer
helpful?
Yes
No
Saturday, December 1st, 2018 AT 8:38 AM (Merged)
Tiny
RHALL77
  • MECHANIC
  • 3,361 POSTS
I would first let it gravity bleed for a while then try it and see if you have a good pedal. Make sure to keep the master cylinder full of fluid. If that doesnt work, have someone press the clutch down and hold it down while you open the bleeder
Was this
answer
helpful?
Yes
No
+1
Saturday, December 1st, 2018 AT 8:38 AM (Merged)
Tiny
CHARLES DETHARIDGE
  • MEMBER
  • 4 POSTS
Thank's very much, I think the problem was slave cylinder leaking off.
Was this
answer
helpful?
Yes
No
Saturday, December 1st, 2018 AT 8:38 AM (Merged)
Tiny
CHEVY_GURL
  • MEMBER
  • 1 POST
  • 1996 CHEVROLET CAVALIER
I just bought a brand new clutch for my car and it ran for about a week. I was driving don the road, coming up to a stop sign when my car make a popping noise and my clutch pedal lost compression. I put my car back into gear but it would'nt move I also smelled something burning. Do you think I bought a bad clutch? Someone also said maybe my master slave cylinder went bad do you think it could be ethier one?
Was this
answer
helpful?
Yes
No
Saturday, December 1st, 2018 AT 8:38 AM (Merged)
Tiny
RASMATAZ
  • MECHANIC
  • 75,992 POSTS
Check the clutch M/C and slave/servo before you get a clutch assy-find out why there's no compression/pressure on the pedal. Maybe there's air in it or leak
Was this
answer
helpful?
Yes
No
Saturday, December 1st, 2018 AT 8:38 AM (Merged)

Please login or register to post a reply.